Каталог запасных частей к технике: Lemken Solitair 9/400. Support Solitair

zoom-in zoom-out enlarge shrink circle-right circle-left file-text2 info cart arraw right arraw left zoom out zoom in arraw maximize arraw minimize
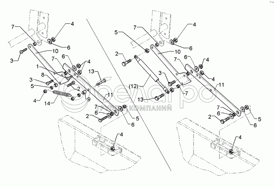
1
2
2
2
2
3
3
3
4
4
4
4
4
4
4
4
5
5
5
5
6
6
6
6
6
6
6
6
7
7
7
7
7
7
7
8
9
10
10
11
11
12
13
13
14
1
301 3055
Screw
В узле: 1
2
301 3068
Screw
В узле: 2
3
301 7280
Screw
В узле: 2
4
303 0932
Selflocking nut
В узле: 6
5
303 1011
Nut
В узле: 3
6
305 6974
Washer
В узле: 4
7
317 7650
Distance tube
В узле: 3
8
317 9475
Bush
В узле: 1
9
317 9476
Bush
В узле: 1
10
482 5586
Support
В узле: 1
11
482 5587
Support
В узле: 1
12
575 2641
Gas compression spring
В узле: 1
13
301 3070
Bolt
В узле: 1
14
329 8548
Spring
В узле: 1
Содержащиеся в справочниках-каталогах запасные части и детали не предлагаются к продаже, а носят исключительно информационный характер

Ваша заявка была отправлена. В ближайшее время наши специалисты с Вами свяжутся по указанному Вами телефону.

Представьтесь
Поле обязательно для заполнения
Ваш телефон
Введите правильный номер телефона
E-mail
Введите правильный e-mail
Тема
Тема
применяемость финансирование доставка цена, наличие другое сервис и гарантия
Время для звонка
08:00
08:00 09:00 10:00 11:00 12:00 13:00 14:00 15:00 16:00 17:00 18:00 19:00
19:00
08:00 09:00 10:00 11:00 12:00 13:00 14:00 15:00 16:00 17:00 18:00 19:00

Мы постараемся перезвонить в указанное время

Если вы не хотите ждать, то звоните нашим вежливым консультантам:

8 800 100-2-700
Подтвердите, что вы не робот
Подтвердите, что вы не робот
Спасибо!

Ваше сообщение успешно отправлено!

ЗакрытьПовторить попытку