Каталог запасных частей к технике: Lemken Solitair 9/600KA. Dosage 4-A C

zoom-in zoom-out enlarge shrink circle-right circle-left file-text2 info cart arraw right arraw left zoom out zoom in arraw maximize arraw minimize
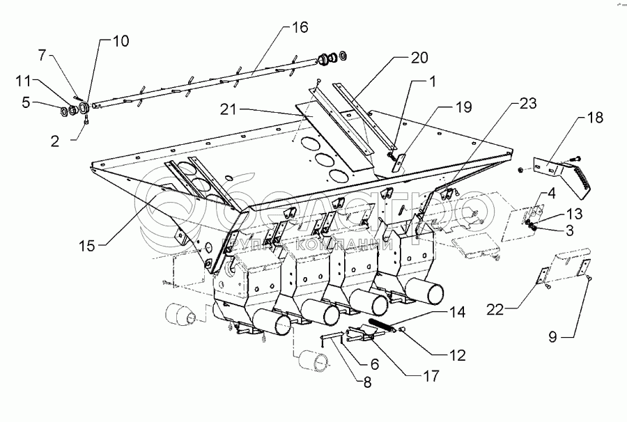
1
2
3
4
5
6
7
8
9
10
11
12
13
14
15
16
17
18
19
20
21
22
23
1
301 1123
Bolt, cup square head
В узле: 4
2
301 5854
Allen screw
В узле: 2
3
303 0932
Selflocking nut
В узле: 4
4
305 6124
Washer
В узле: 4
5
305 6143
Washer
В узле: 4
6
311 7602
Peg
В узле: 8
7
311 7615
Peg
В узле: 2
8
313 0802
Pin
В узле: 4
9
315 9608
Rivet
В узле: 40
10
317 7641
Bearing housing
В узле: 2
11
317 7642
Bush
В узле: 2
12
323 6510
Plastic cap
В узле: 8
13
329 6127
Tellerfeder
В узле: 16
14
329 8553
Spring
В узле: 8
15
482 5758
Dosage
В узле: 1
16
482 5830
Agitator shaft
В узле: 1
17
482 5840
Soil flap
В узле: 4
18
482 5846
Fixing device
В узле: 1
19
482 5849
Cover plate
В узле: 4
20
482 5857
Cutting bar
В узле: 4
21
482 5858
Viewing glass
В узле: 2
22
482 5907
Plate
В узле: 8
23
482 5908
U-lashing
В узле: 4
Содержащиеся в справочниках-каталогах запасные части и детали не предлагаются к продаже, а носят исключительно информационный характер

Ваша заявка была отправлена. В ближайшее время наши специалисты с Вами свяжутся по указанному Вами телефону.

Представьтесь
Поле обязательно для заполнения
Ваш телефон
Введите правильный номер телефона
E-mail
Введите правильный e-mail
Тема
Тема
применяемость финансирование доставка цена, наличие другое сервис и гарантия
Время для звонка
08:00
08:00 09:00 10:00 11:00 12:00 13:00 14:00 15:00 16:00 17:00 18:00 19:00
19:00
08:00 09:00 10:00 11:00 12:00 13:00 14:00 15:00 16:00 17:00 18:00 19:00

Мы постараемся перезвонить в указанное время

Если вы не хотите ждать, то звоните нашим вежливым консультантам:

8 800 100-2-700
Подтвердите, что вы не робот
Подтвердите, что вы не робот
Спасибо!

Ваше сообщение успешно отправлено!

ЗакрытьПовторить попытку