Каталог запасных частей к технике: Lemken Thorit 8/400. Tube bar roller D400-200 SM9

zoom-in zoom-out enlarge shrink circle-right circle-left file-text2 info cart arraw right arraw left zoom out zoom in arraw maximize arraw minimize
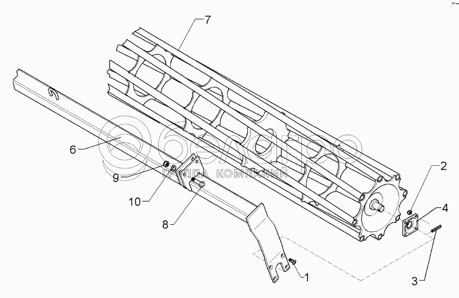
1
2
3
4
6
7
8
9
10
1
301 6130
Countersunk bolt
В узле: 8
2
303 0934
Selflocking nut
В узле: 8
3
309 6072
Expansion bush
В узле: 2
4
319 9365
Bearing cpl.
В узле: 2
6
422 6612
Frame
В узле: 1
7
423 0955
Tube bar roller
В узле: 1
8
301 3870
Bolt
В узле: 4
9
303 0935
Selflocking nut
В узле: 4
10
305 6155
Washer
В узле: 4
Содержащиеся в справочниках-каталогах запасные части и детали не предлагаются к продаже, а носят исключительно информационный характер

Ваша заявка была отправлена. В ближайшее время наши специалисты с Вами свяжутся по указанному Вами телефону.

Представьтесь
Поле обязательно для заполнения
Ваш телефон
Введите правильный номер телефона
E-mail
Введите правильный e-mail
Тема
Тема
применяемость финансирование доставка цена, наличие другое сервис и гарантия
Время для звонка
08:00
08:00 09:00 10:00 11:00 12:00 13:00 14:00 15:00 16:00 17:00 18:00 19:00
19:00
08:00 09:00 10:00 11:00 12:00 13:00 14:00 15:00 16:00 17:00 18:00 19:00

Мы постараемся перезвонить в указанное время

Если вы не хотите ждать, то звоните нашим вежливым консультантам:

8 800 100-2-700
Подтвердите, что вы не робот
Подтвердите, что вы не робот
Спасибо!

Ваше сообщение успешно отправлено!

ЗакрытьПовторить попытку