Каталог запасных частей к технике: Lemken Vari-Opal 100. 602 8212 Frame extension

zoom-in zoom-out enlarge shrink circle-right circle-left file-text2 info cart arraw right arraw left zoom out zoom in arraw maximize arraw minimize
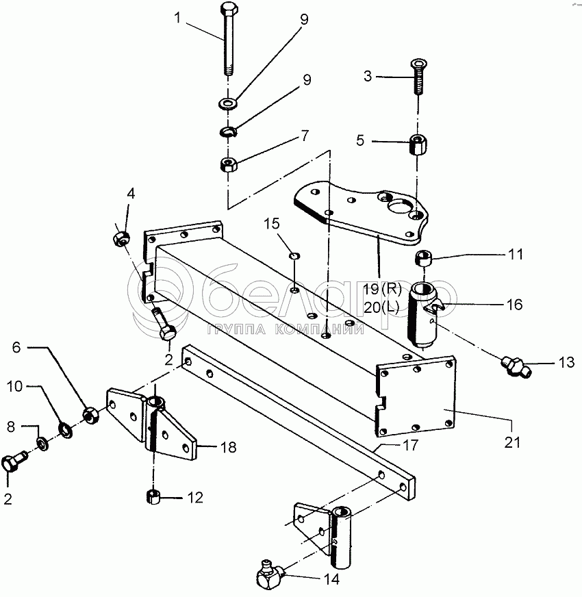
1
2
3
4
5
6
7
8
9
9
11
12
13
14
15
16
17
18
19
20
21
1
301 3628
Hexagon bolt
В узле: 4
2
301 5385
Bolt
В узле: 10
3
301 6146
COUNTER SUNK SCR.
В узле: 4
4
303 0935
Selflocking nut
В узле: 6
5
303 0988
Hexagon nut
В узле: 2
6
303 1015
Nut
В узле: 4
7
303 0992
Hexagon nut
В узле: 4
8
305 6141
Washer
В узле: 4
9
305 9904
Spring ring
В узле: 8
11
317 2005
Expansion bush
В узле: 2
12
317 3408
Expansion bush
В узле: 2
13
323 6348
Grease nipple
В узле: 1
14
323 6349
Grease nipple
В узле: 1
15
323 8051
Cap
В узле: 4
16
402 1273
Bearing tube
В узле: 1
17
402 2340
Rod
В узле: 1
18
402 2534
Bearing
В узле: 1
19
402 2830
Bearing plate
В узле: 1
20
402 2831
Bearing plate
В узле: 1
21
402 8212
Frame extension
В узле: 1
Содержащиеся в справочниках-каталогах запасные части и детали не предлагаются к продаже, а носят исключительно информационный характер

Ваша заявка была отправлена. В ближайшее время наши специалисты с Вами свяжутся по указанному Вами телефону.

Представьтесь
Поле обязательно для заполнения
Ваш телефон
Введите правильный номер телефона
E-mail
Введите правильный e-mail
Тема
Тема
применяемость финансирование доставка цена, наличие другое сервис и гарантия
Время для звонка
08:00
08:00 09:00 10:00 11:00 12:00 13:00 14:00 15:00 16:00 17:00 18:00 19:00
19:00
08:00 09:00 10:00 11:00 12:00 13:00 14:00 15:00 16:00 17:00 18:00 19:00

Мы постараемся перезвонить в указанное время

Если вы не хотите ждать, то звоните нашим вежливым консультантам:

8 800 100-2-700
Подтвердите, что вы не робот
Подтвердите, что вы не робот
Спасибо!

Ваше сообщение успешно отправлено!

ЗакрытьПовторить попытку