Каталог запасных частей к технике: Lemken VariOpal 9. Basic frame VO 9 3-120

zoom-in zoom-out enlarge shrink circle-right circle-left file-text2 info cart arraw right arraw left zoom out zoom in arraw maximize arraw minimize
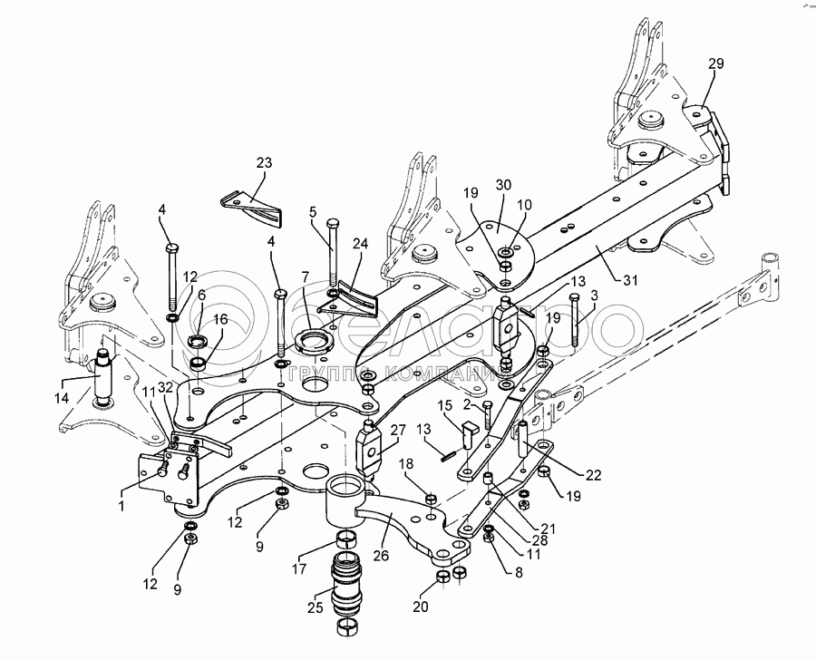
1
2
3
4
4
5
6
7
8
9
9
10
11
11
12
12
12
13
13
14
15
16
17
18
19
19
19
20
21
22
23
24
25
26
27
28
29
30
31
32
1
301 3701
Screw
В узле: 2
2
301 3903
Bolt
В узле: 1
3
301 4137
Bolt
В узле: 1
4
301 4549
Bolt
В узле: 12
5
301 4543
Bolt
В узле: 1
6
303 0338
Grooved nut
В узле: 6
7
303 0375
Grooved nut
В узле: 2
8
303 0976
Nut
В узле: 2
9
303 0977
Nut
В узле: 12
10
305 6283
Washer
В узле: 4
11
305 9887
Spring ring
В узле: 4
12
305 9888
Spring ring
В узле: 23
13
309 6072
Expansion bush
В узле: 5
14
313 5570
Pin
В узле: 3
15
313 8053
Pin with stop
В узле: 1
16
317 2000
Bush
В узле: 6
17
317 2035
Expansion bush
В узле: 2
18
317 3345
Expansion bush
В узле: 1
19
317 3348
Expansion bush
В узле: 6
20
317 3417
Expansion bush
В узле: 2
21
317 6801
Tube
В узле: 1
22
317 6866
Tube
В узле: 1
23
321 7206
Holder
В узле: 1
24
321 7207
Holder
В узле: 1
25
402 1281
Lagerrohr
В узле: 1
26
402 1662
Rocker arm
В узле: 1
27
402 1711
Cross union
В узле: 2
28
402 1772
Rod
В узле: 2
29
402 2941
Bearing plate
В узле: 2
30
402 2972
Bearing plate
В узле: 2
31
402 8292
Basic frame
В узле: 1
32
402 8302
Stop
В узле: 1
Содержащиеся в справочниках-каталогах запасные части и детали не предлагаются к продаже, а носят исключительно информационный характер

Ваша заявка была отправлена. В ближайшее время наши специалисты с Вами свяжутся по указанному Вами телефону.

Представьтесь
Поле обязательно для заполнения
Ваш телефон
Введите правильный номер телефона
E-mail
Введите правильный e-mail
Тема
Тема
применяемость финансирование доставка цена, наличие другое сервис и гарантия
Время для звонка
08:00
08:00 09:00 10:00 11:00 12:00 13:00 14:00 15:00 16:00 17:00 18:00 19:00
19:00
08:00 09:00 10:00 11:00 12:00 13:00 14:00 15:00 16:00 17:00 18:00 19:00

Мы постараемся перезвонить в указанное время

Если вы не хотите ждать, то звоните нашим вежливым консультантам:

8 800 100-2-700
Подтвердите, что вы не робот
Подтвердите, что вы не робот
Спасибо!

Ваше сообщение успешно отправлено!

ЗакрытьПовторить попытку