Каталог запасных частей к технике: Lemken Zirkon 7/300. Hydraulic assembly SA 80x245-AHG-LT

zoom-in zoom-out enlarge shrink circle-right circle-left file-text2 info cart arraw right arraw left zoom out zoom in arraw maximize arraw minimize
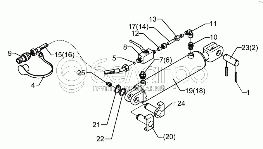
1
2
4
5
6
7
8
9
10
11
12
13
14
15
16
17
18
19
20
21
22
23
24
25
1
309 6072
Expansion bush
В узле: 2
2
313 7772
Pin
В узле: 1
4
375 2121
Cap
В узле: 1
5
375 2173
Throttle plate
В узле: 1
6
375 2193
Vent plug
В узле: 1
7
375 2196
Vent plug
В узле: 1
8
375 2199
Valve
В узле: 1
9
375 2718
SVK-socket
В узле: 1
10
375 4020
Nipple
В узле: 1
11
375 4500
Adjustable angle union
В узле: 1
12
375 5110
Cutting ring
В узле: 2
13
375 5310
Union nut
В узле: 2
14
475 2219
Pipe
В узле: 1
15
475 2618
High-pressure hose
В узле: 1
16
475 2656
High-pressure hose
В узле: 1
17
475 8848
Tube
В узле: 1
18
575 2285
Ram
В узле: 1
19
575 2321
Ram
В узле: 1
20
313 8057
Pin with stop
В узле: 1
21
305 8861
Securing ring
В узле: 1
22
305 2040
Shim
В узле: 1
23
313 2553
Pin
В узле: 1
24
313 8060
Pin with stop
В узле: 1
25
323 6348
Grease nipple
В узле: 1
Содержащиеся в справочниках-каталогах запасные части и детали не предлагаются к продаже, а носят исключительно информационный характер

Ваша заявка была отправлена. В ближайшее время наши специалисты с Вами свяжутся по указанному Вами телефону.

Представьтесь
Поле обязательно для заполнения
Ваш телефон
Введите правильный номер телефона
E-mail
Введите правильный e-mail
Тема
Тема
применяемость финансирование доставка цена, наличие другое сервис и гарантия
Время для звонка
08:00
08:00 09:00 10:00 11:00 12:00 13:00 14:00 15:00 16:00 17:00 18:00 19:00
19:00
08:00 09:00 10:00 11:00 12:00 13:00 14:00 15:00 16:00 17:00 18:00 19:00

Мы постараемся перезвонить в указанное время

Если вы не хотите ждать, то звоните нашим вежливым консультантам:

8 800 100-2-700
Подтвердите, что вы не робот
Подтвердите, что вы не робот
Спасибо!

Ваше сообщение успешно отправлено!

ЗакрытьПовторить попытку