Каталог запасных частей к технике: ЛТЗ-55. Двигатель

zoom-in zoom-out enlarge shrink circle-right circle-left file-text2 info cart arraw right arraw left zoom out zoom in arraw maximize arraw minimize
Д144-0000100-28
Д144-0000100-25
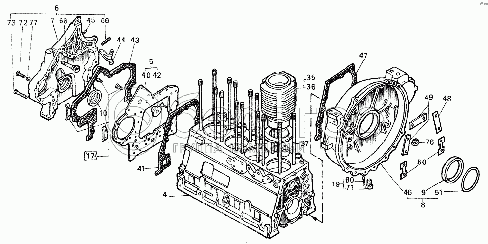
4
5
6
7
8
9
10
19
35
36
37
40
41
42
43
44
45
46
47
48
49
50
51
66
68
71
72
73
76
77
80
Д144-0000100-28
Двигатель 37+4 кВт (50 л. с.)
В узле: 1
Д144-0000100-25
Двигатель 29+3 кВт (40 л. с.)
В узле: 1
4
Д37М-1002008-А2
Картер двигателя
В узле: 1
5
Д37М-1002171
Лист передний со втулкой
В узле: 1
6
Д144-1002220-А
Крышка шестерен
В узле: 1
7
Д144-1002230-А
Крышка шестерен
В узле: 1
8
Д144-1002310-Б
Картер маховика
В узле: 1
9
Д144-1002390
Манжета 1.1-85х110-1
В узле: 1
10
Д144-1002420-А
Манжета 1.1-50х70-1
В узле: 1
19
Т40-1601040
Сапун
В узле: 1
35
Д37М-1002021-А3
Цилиндр
В узле: 4
36
Д37М-1002021-А3-Р1
Цилиндр
В узле: 4
37
Д37М-1002023
Прокладка цилиндра
В узле: 4
40
Д37М-1002181-Б
Лист передний
В узле: 1
41
Д145Т-1002183
Прокладка переднего листа
В узле: 1
42
Д37М-1002188-Б
Втулка листа переднего
В узле: 1
43
Д30-1002226
Прокладка крышки распределительных шестерен
В узле: 1
44
Д37Е-1002231
Указатель верхней мертвой точки
В узле: 1
45
Д30-1002239
Штифт
В узле: 1
46
Д144-1002312-Б2
Картер маховика
В узле: 1
47
Д30-1002313
Прокладка картера маховика
В узле: 1
48
Д30-1002318-А1
Пластина замковая правая
В узле: 1
49
Д30-1002318-А2
Пластина замковая левая
В узле: 2
50
Д30-1002318-Б1
Пластина замковая нижняя
В узле: 1
51
Д144-1002337
Кольцо защитное
В узле: 1
66
Д37Е-3701675
Шпилька
В узле: 1
68
Д30-4618046
Шпилька крепления гидронасоса
В узле: 1
71
Н.036.75.002
Корпус сапуна
В узле: 1
72
М8-6gх50.88.019
Болт
В узле: 3
73
4М8-6gх60.88.019
Болт
В узле: 9
76
М12х1.25-6Н8.40.019
Гайка
В узле: 10
77
8Т65Г06
Шайба
В узле: 12
80
4х20.019
Шплинт
В узле: 1
Содержащиеся в справочниках-каталогах запасные части и детали не предлагаются к продаже, а носят исключительно информационный характер

Ваша заявка была отправлена. В ближайшее время наши специалисты с Вами свяжутся по указанному Вами телефону.

Представьтесь
Поле обязательно для заполнения
Ваш телефон
Введите правильный номер телефона
E-mail
Введите правильный e-mail
Тема
Тема
применяемость финансирование доставка цена, наличие другое сервис и гарантия
Время для звонка
08:00
08:00 09:00 10:00 11:00 12:00 13:00 14:00 15:00 16:00 17:00 18:00 19:00
19:00
08:00 09:00 10:00 11:00 12:00 13:00 14:00 15:00 16:00 17:00 18:00 19:00

Мы постараемся перезвонить в указанное время

Если вы не хотите ждать, то звоните нашим вежливым консультантам:

8 800 100-2-700
Подтвердите, что вы не робот
Подтвердите, что вы не робот
Спасибо!

Ваше сообщение успешно отправлено!

ЗакрытьПовторить попытку