Каталог запасных частей к технике: МТЗ 1220. Головка соединительная (для двухпроводного пневмопривода)

zoom-in zoom-out enlarge shrink circle-right circle-left file-text2 info cart arraw right arraw left zoom out zoom in arraw maximize arraw minimize
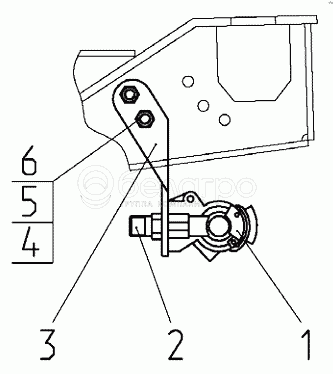
1
2
3
4
5
6
2
1522-3521513
Штуцер
В узле: 1
1522-3521513 Штуцер МТЗ Под заказ 340.03 р.
1025-3521510
Головка соединительная
В узле: 1
1
64226-3521111
Головка соединительная
В узле: 1
3
1025-3521512
Кронштейн
В узле: 1
4
В.М8-6gx25.58.019
Винт
В узле: 2
5
М8-6Н.6.019
Гайка
В узле: 2
6
Шайба8Т
Шайба 8Т
В узле: 2
Содержащиеся в справочниках-каталогах запасные части и детали не предлагаются к продаже, а носят исключительно информационный характер

Ваша заявка была отправлена. В ближайшее время наши специалисты с Вами свяжутся по указанному Вами телефону.

Представьтесь
Поле обязательно для заполнения
Ваш телефон
Введите правильный номер телефона
E-mail
Введите правильный e-mail
Тема
Тема
применяемость финансирование доставка цена, наличие другое сервис и гарантия
Время для звонка
08:00
08:00 09:00 10:00 11:00 12:00 13:00 14:00 15:00 16:00 17:00 18:00 19:00
19:00
08:00 09:00 10:00 11:00 12:00 13:00 14:00 15:00 16:00 17:00 18:00 19:00

Мы постараемся перезвонить в указанное время

Если вы не хотите ждать, то звоните нашим вежливым консультантам:

8 800 100-2-700
Подтвердите, что вы не робот
Подтвердите, что вы не робот
Спасибо!

Ваше сообщение успешно отправлено!

ЗакрытьПовторить попытку