Каталог запасных частей к технике: МТЗ 1220. Головка соединительная (для однопроводного пневмопривода)

zoom-in zoom-out enlarge shrink circle-right circle-left file-text2 info cart arraw right arraw left zoom out zoom in arraw maximize arraw minimize
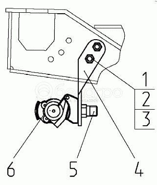
1
2
3
4
5
6
6
80-3521010
Головка соединительная
В узле: 1
80-3521010 Головка соединительная тормозных шлангов МТЗ (ТАИМ) Под заказ 1 497.09 р.
4
70-3521012
Кронштейн
В узле: 1
70-3521012 Кронштейн МТЗ головки соединительной тормоза Под заказ 406.50 р.
1021-3521005
Головка соединительная
В узле: 1
1
М10-6gx25.88.35.019
Болт
В узле: 2
2
М10-6Н.6.019
Гайка
В узле: 2
3
Шайба10.ОТ
Шайба
В узле: 2
5
1522-3521012
Штуцер
В узле: 1
Содержащиеся в справочниках-каталогах запасные части и детали не предлагаются к продаже, а носят исключительно информационный характер

Ваша заявка была отправлена. В ближайшее время наши специалисты с Вами свяжутся по указанному Вами телефону.

Представьтесь
Поле обязательно для заполнения
Ваш телефон
Введите правильный номер телефона
E-mail
Введите правильный e-mail
Тема
Тема
применяемость финансирование доставка цена, наличие другое сервис и гарантия
Время для звонка
08:00
08:00 09:00 10:00 11:00 12:00 13:00 14:00 15:00 16:00 17:00 18:00 19:00
19:00
08:00 09:00 10:00 11:00 12:00 13:00 14:00 15:00 16:00 17:00 18:00 19:00

Мы постараемся перезвонить в указанное время

Если вы не хотите ждать, то звоните нашим вежливым консультантам:

8 800 100-2-700
Подтвердите, что вы не робот
Подтвердите, что вы не робот
Спасибо!

Ваше сообщение успешно отправлено!

ЗакрытьПовторить попытку