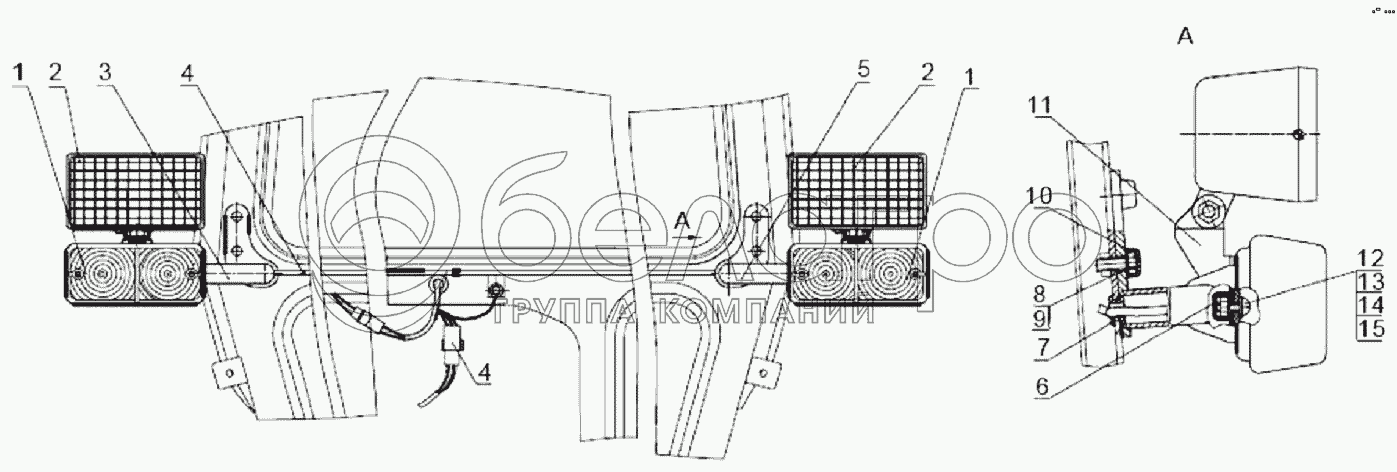
Каталог запасных частей к технике: МТЗ 1220.5. Установка фонарей передних

zoom-in zoom-out enlarge shrink circle-right circle-left file-text2 info cart arraw right arraw left zoom out zoom in arraw maximize arraw minimize
1
1
1
2
2
2
3
4
4
5
6
7
8
9
10
11
12
13
14
15
10
А30.04.017-01
Колпачок
В узле: 4
А30.04.017-01 Колпачок МТЗ, Беларусь >10 шт. 4.53 р.
6
А30.04.017
Колпачок
В узле: 4
А30.04.017 Колпачок Под заказ 4.53 р.
1221.5-3700025
Установка фонарей передних
В узле: ---
1
3713.3712
Фонарь передний
В узле: 2
1
2302.3.04.12
Фонарь передний с боковым повторителем
В узле: 2
2
112.07.54-18
Фара рабочая
В узле: 2
2
РАУС14.3711-18
Фара рабочая
В узле: 2
3
1221.5-3712025-01
Кронштейн
В узле: 1
4
1221.5-3724130
Жгут
В узле: 1
5
1221.5-3712025
Кронштейн
В узле: 1
7
70-3723042-01
Втулка
В узле: 2
8
М8-6gx20.88.35.019
Болт
В узле: 4
9
Шайба
В узле: 4
11
920-3711011
Кронштейн
В узле: 2
12
В.М6-6gx20.58.019
Винт
В узле: 4
13
М6-6Н.6.019
Гайка
В узле: 4
14
С.6.01.019
Шайба
В узле: 4
15
Шайба
В узле: 4
Содержащиеся в справочниках-каталогах запасные части и детали не предлагаются к продаже, а носят исключительно информационный характер

Ваша заявка была отправлена. В ближайшее время наши специалисты с Вами свяжутся по указанному Вами телефону.

Представьтесь
Поле обязательно для заполнения
Ваш телефон
Введите правильный номер телефона
E-mail
Введите правильный e-mail
Тема
Тема
применяемость финансирование доставка цена, наличие другое сервис и гарантия
Время для звонка
08:00
08:00 09:00 10:00 11:00 12:00 13:00 14:00 15:00 16:00 17:00 18:00 19:00
19:00
08:00 09:00 10:00 11:00 12:00 13:00 14:00 15:00 16:00 17:00 18:00 19:00

Мы постараемся перезвонить в указанное время

Если вы не хотите ждать, то звоните нашим вежливым консультантам:

8 800 100-2-700
Подтвердите, что вы не робот
Подтвердите, что вы не робот
Спасибо!

Ваше сообщение успешно отправлено!

ЗакрытьПовторить попытку