Каталог запасных частей к технике: МТЗ 1523.5 с ГМТ. Муфта блокировки дифференциала «мокрая»

zoom-in zoom-out enlarge shrink circle-right circle-left file-text2 info cart arraw right arraw left zoom out zoom in arraw maximize arraw minimize
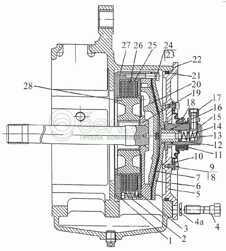
80М-2409010
1221 М-2409050-01
1
2
3
80М-2409028-01
80М-2409028-02
80М-2409028-03
80М-2409028-04
80М-2409028-05
80М-2409028-06
4
5
6
7
8
9
10
11
12
13
14
15
16
17
18
18
19
20
21
22
23
24
25
26
27
28
2
50-1702148-А
Пружина фиксатора
В узле: 4
50-1702148-А Пружина МТЗ, Беларусь Под заказ 24.42 р.
13
70-2409027-А
Втулка
В узле: 1
70-2409027-А Втулка МТЗ механизма блокировки дифференциала, (У) Под заказ Нет на складе
70-2409027-А Втулка МТЗ механизма блокировки дифференциала, Беларусь Под заказ 26.60 р.
12
70-2409033-Б
Кольцо
В узле: 1
70-2409033-Б Кольцо МТЗ, Беларусь Под заказ 8.08 р.
11
80М-2409036
Уплотнитель
В узле: 1
80М-2409036 Уплотнитель МТЗ, Беларусь Под заказ 207.40 р.
6
70-2409030-Б
Крышка диафрагмы
В узле: 1
70-2409030-Б Крышка МТЗ, (А) Под заказ 615.36 р.
70-2409030-Б Крышка МТЗ Под заказ 2 102.21 р.
15
70-2409026-Б
Переходник
В узле: 1
70-2409026-Б Переходник МТЗ кожуха муфты блокировки Под заказ 1 362.68 р.
80М-2409010
Муфта блокировки
В узле: 1
80М-2409010 Муфта МТЗ Под заказ 34 835.53 р.
19
70-2409020-02
Вал блокировочный
В узле: 1
70-2409020-02 вал Под заказ 5 402.40 р.
25
80М-2409016
Диск промежуточный
В узле: 5
80М-2409016 Диск промежуточный МТЗ Под заказ 1 285.23 р.
1221 М-2409050-01
Переходник
В узле: 1
1
80М-2409002
Палец
В узле: 4
3
80М-2409028
Диск отжимной
В узле: 1
80М-2409028-01
Диск отжимной
В узле: ---
80М-2409028-02
Диск отжимной
В узле: ---
80М-2409028-03
Диск отжимной
В узле: ---
80М-2409028-04
Диск отжимной
В узле: ---
80М-2409028-05
Диск отжимной
В узле: ---
80М-2409028-06
Диск отжимной
В узле: ---
4
1221 М-3502039
Болт
В узле: 5
Шайба 14.ОТ
Шайба
В узле: 5
5
1221 М-2409034-01
Крышка
В узле: 1
7
70-2409021
Диафрагма
В узле: 1
23
Болт М8-6дх40.88.35.019
Болт
В узле: 8
24
Шайба 6Т
Шайба 6Т
В узле: 8
10
80М-2409037
Кольцо
В узле: 1
14
54-06-448-А
Пружина
В узле: 1
16
020-025-30-1-4
Кольцо
В узле: 1
17
85-3407470
Штуцер
В узле: 1
18
32-50, 9-C6W
Хомут
В узле: 1
18
35-50, 971
Хомут
В узле: 1
20
80М-2409018
Диск нажимной
В узле: 1
21
Кольцо 205-215-58-2-2
Кольцо
В узле: 1
22
1221 М-2409051
Прокладка
В узле: 1
26
2522-1802035-А
Диск ведущий
В узле: 6
27
80М-2409015
Корпус муфты
В узле: 1
28
80M-2409001
Ступица
В узле: 1
Содержащиеся в справочниках-каталогах запасные части и детали не предлагаются к продаже, а носят исключительно информационный характер

Ваша заявка была отправлена. В ближайшее время наши специалисты с Вами свяжутся по указанному Вами телефону.

Представьтесь
Поле обязательно для заполнения
Ваш телефон
Введите правильный номер телефона
E-mail
Введите правильный e-mail
Тема
Тема
применяемость финансирование доставка цена, наличие другое сервис и гарантия
Время для звонка
08:00
08:00 09:00 10:00 11:00 12:00 13:00 14:00 15:00 16:00 17:00 18:00 19:00
19:00
08:00 09:00 10:00 11:00 12:00 13:00 14:00 15:00 16:00 17:00 18:00 19:00

Мы постараемся перезвонить в указанное время

Если вы не хотите ждать, то звоните нашим вежливым консультантам:

8 800 100-2-700
Подтвердите, что вы не робот
Подтвердите, что вы не робот
Спасибо!

Ваше сообщение успешно отправлено!

ЗакрытьПовторить попытку