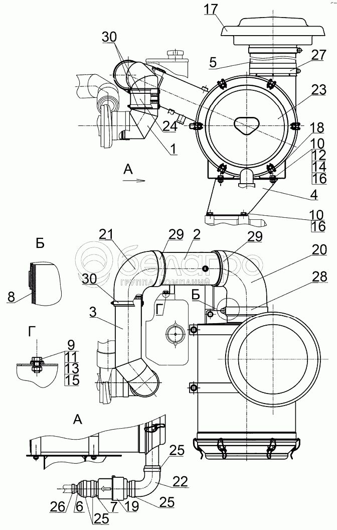
Каталог запасных частей к технике: МТЗ 3022ДЦ.1. Установка воздухоочистителя

zoom-in zoom-out enlarge shrink circle-right circle-left file-text2 info cart arraw right arraw left zoom out zoom in arraw maximize arraw minimize
1
2
3
4
5
6
7
8
9
10
10
11
12
13
14
15
16
16
17
18
19
20
21
22
23
24
25
25
25
26
27
28
29
29
30
30
7
1220-1303004-01
Шланг
В узле: 1
1220-1303004-01 Патрубок (шланг) радиатора МТЗ нижний силиконовый Под заказ 117.27 р.
1220-1303004-01 Патрубок (шланг) радиатора МТЗ нижний, (У) <10 шт. 95.06 р.
1220-1303004-01 Патрубок (шланг) радиатора МТЗ нижний, Беларусь Под заказ 263.54 р.
5
3022-1109030
Патрубок
В узле: 1
3022-1109030 Патрубок МТЗ Под заказ 7 451.08 р.
6
3022-1109040
Переходник
В узле: 1
3022-1109040 Переходник Под заказ 3 655.75 р.
3022ДЦ-1109125
Установка воздухоочистителя
В узле: 1
1
3022ДЦ-1109015
Воздуховод
В узле: 1
2
3022ДЦ-1109020
Воздуховод
В узле: 1
3
3022ДЦ-1109030
Воздуховод
В узле: 1
4
2822ДЦ-1109020
Кронштейн
В узле: 1
8
3022-1109012
Кольцо
В узле: 1
9
БолтМ8-6gх20.88.35.019
Болт
В узле: 1
10
БолтМ10-6gх30.88.35.019
Болт
В узле: 8
11
ГайкаМ8-6Н.6.019
Гайка
В узле: 1
12
ГайкаМ10-6Н.6.019
Гайка
В узле: 4
13
ШайбаС8.01.019
Шайба
В узле: 1
14
ШайбаС10.01.019
Шайба С10.01.019
В узле: 4
15
Шайба8Т
Шайба 8Т
В узле: 1
16
Шайба10.ОТ
Шайба
В узле: 8
17
Н77-0089
Защитный колпак
В узле: 1
18
Р01-6845
Хомут крепления
В узле: 2
19
P786343
Обратный клапан
В узле: 1
20
Р14-3895
Рукав-деталь
В узле: 1
21
Р12-1482
Рукав-деталь
В узле: 1
22
Р10-5529
Рукав-деталь
В узле: 1
23
FRG15-0092
Фильтр воздушный
В узле: 1
24
270003162-А
Патрубок силиконовый Sico Rubena 270 003 162-А
В узле: 1
25
5000.06
Хомут с червячной резьбой 50-70
В узле: 4
26
5000.05
Хомут
В узле: 1
27
5100.16
Хомут с червячной резьбой 170-190
В узле: 1
28
5100.07
Хомут с шарнирным болтом 168/30
В узле: 1
29
5100.06
Хомут с шарнирным болтом 135/30
В узле: 2
30
5100.15
Хомут с червячной резьбой 100-120
В узле: 3
Содержащиеся в справочниках-каталогах запасные части и детали не предлагаются к продаже, а носят исключительно информационный характер

Ваша заявка была отправлена. В ближайшее время наши специалисты с Вами свяжутся по указанному Вами телефону.

Представьтесь
Поле обязательно для заполнения
Ваш телефон
Введите правильный номер телефона
E-mail
Введите правильный e-mail
Тема
Тема
применяемость финансирование доставка цена, наличие другое сервис и гарантия
Время для звонка
08:00
08:00 09:00 10:00 11:00 12:00 13:00 14:00 15:00 16:00 17:00 18:00 19:00
19:00
08:00 09:00 10:00 11:00 12:00 13:00 14:00 15:00 16:00 17:00 18:00 19:00

Мы постараемся перезвонить в указанное время

Если вы не хотите ждать, то звоните нашим вежливым консультантам:

8 800 100-2-700
Подтвердите, что вы не робот
Подтвердите, что вы не робот
Спасибо!

Ваше сообщение успешно отправлено!

ЗакрытьПовторить попытку