Каталог запасных частей к технике: МТЗ 800/900. Баки топливные

zoom-in zoom-out enlarge shrink circle-right circle-left file-text2 info cart arraw right arraw left zoom out zoom in arraw maximize arraw minimize
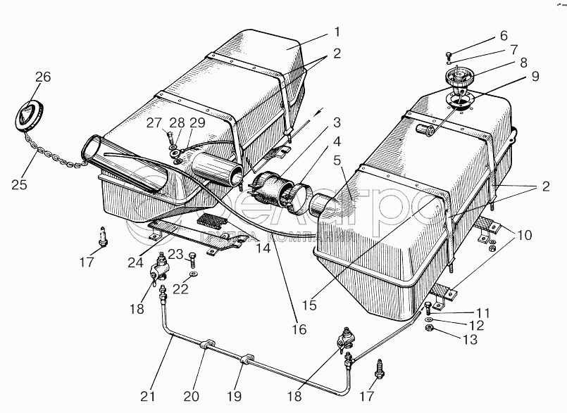
1
2
2
3
4
5
6
7
8
8
9
10
11
12
13
14
15
16
17
17
18
18
19
20
21
22
23
24
25
26
27
28
29
3
70-1101035-Б
Рукав
В узле: 1
70-1101035-Б Рукав соединительный МТЗ, РФ >10 шт. 312.02 р.
70-1101035-Б Рукав соединительный МТЗ, (У) Под заказ 360.07 р.
26
082-1103010
Пробка
В узле: 1
082-1103010 Пробка топливного бака МТЗ пластмассовая (метал. бак) >10 шт. 69.06 р.
29
70-1104180
Трубка
В узле: 1
70-1104180 Топливопровод МТЗ обратка с форсунок в металлический бак (Трубка дренажная обратки) >10 шт. 438.91 р.
70-1104180 Топливопровод МТЗ обратка с форсунок в металлический бак (Трубка дренажная обратки), (А) Под заказ 79.21 р.
27
36-1104787
Болт
В узле: 1
36-1104787 Болт МТЗ М10х1.0х22 обратки форсунки, САЗ* >10 шт. 55.36 р.
36-1104787 Болт МТЗ М10х1.0х22 обратки форсунки, (А) Под заказ 5.43 р.
21
70-1101345-Б1
Трубопровод
В узле: 1
70-1101345-Б1 Топливопровод МТЗ Под заказ 1 261.48 р.
2
70-1101070
Хомут
В узле: 4
70-1101070 Хомут МТЗ (стяжка) Под заказ 596.37 р.
28
36-1104788
Прокладка
В узле: 2
36-1104788 Шайба 10.0х16.0х1.5 Д-240, Д-245 уплотнительная медная, (А) Под заказ 4.43 р.
8
ДУМП-19
Бензомер
В узле: 1
ДУМП-19 Датчик МТЗ указателя уровня топлива, (А) <10 шт. 425.94 р.
1
70-1101020
Бак
В узле: 1
70-1101020 Бак топливный МТЗ левый, с горлов., металл Под заказ 11 773.04 р.
10
80-1101250-Б
Кронштейн правый
В узле: 2
80-1101250-Б Кронштейн МТЗ топливного бака правый Под заказ 1 055.84 р.
24
80-1101280-Б
Кронштейн левый
В узле: 2
80-1101280-Б Кронштейн МТЗ бака топливного , левый Под заказ 975.78 р.
16
85-1101002-02
Трубка
В узле: 1
85-1101002-02 Трубка МТЗ, БЗТДиА Под заказ 217.83 р.
70-1101005
Баки
В узле: 1
4
xС-66
Хомут
В узле: 2
5
70-1101010
Бак
В узле: 1
80-1101010
Бак правый
В узле: 1
6
ВМ5x10
Винт
В узле: 5
7
80-1101067
Шайба
В узле: 5
8
АР70.3827
Бензомер
В узле: 1
9
200-3806026
Прокладка
В узле: 1
11
М10x25
Болт
В узле: 12
12
ШП10
Шайба
В узле: 12
13
М10
Гайка
В узле: 12
14
80-1101012-Б
Прокладка
В узле: 8
15
ПР-36-01
Прокладка
В узле: 8
17
50-1101081-Б
Штуцер
В узле: 2
11,113-100
Шарик
В узле: 1
18
КР-25
Кран
В узле: 2
19
70-1101042
Скоба
В узле: 2
20
50-1111102-01
Прокладка
В узле: 2
22
ШП12
Шайба
В узле: 8
23
М12x30
Болт
В узле: 8
25
36-1101070
Цепочка
В узле: 1
Содержащиеся в справочниках-каталогах запасные части и детали не предлагаются к продаже, а носят исключительно информационный характер

Ваша заявка была отправлена. В ближайшее время наши специалисты с Вами свяжутся по указанному Вами телефону.

Представьтесь
Поле обязательно для заполнения
Ваш телефон
Введите правильный номер телефона
E-mail
Введите правильный e-mail
Тема
Тема
применяемость финансирование доставка цена, наличие другое сервис и гарантия
Время для звонка
08:00
08:00 09:00 10:00 11:00 12:00 13:00 14:00 15:00 16:00 17:00 18:00 19:00
19:00
08:00 09:00 10:00 11:00 12:00 13:00 14:00 15:00 16:00 17:00 18:00 19:00

Мы постараемся перезвонить в указанное время

Если вы не хотите ждать, то звоните нашим вежливым консультантам:

8 800 100-2-700
Подтвердите, что вы не робот
Подтвердите, что вы не робот
Спасибо!

Ваше сообщение успешно отправлено!

ЗакрытьПовторить попытку