Каталог запасных частей к технике: МТЗ 922.3 / 922.4. Установка охладителя

zoom-in zoom-out enlarge shrink circle-right circle-left file-text2 info cart arraw right arraw left zoom out zoom in arraw maximize arraw minimize
1
2
2
3
3
3
3
3
4
5
6
6
6
6
6
7
8
9
9
9
10
11
12
13
14
15
16
16
16
1025-1317010
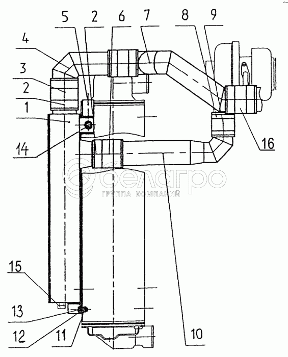
Установка охладителя наддувочного воздуха
В узле: ---
1
1025-1317100
Охладитель наддувочного воздуха
В узле: 1
2
GBS71/25W2
Хомут
В узле: 8
3
270003151-А
Патрубок силиконовый
В узле: 2
3
PR001-60-80-PES
Патрубок термостойкий
В узле: 2
3
978059079
Патрубок силиконовый
В узле: 2
4
1025П-1317600
Воздуховод
В узле: 1
5
1025-1317735
Кронштейн
В узле: 2
6
270003151-В
Патрубок силиконовый 60x80 красный
В узле: 1
6
PR001-60-80-MA
Патрубок силиконовый 60x80 красный
В узле: 1
6
978060082
Патрубок силиконовый 60x80 красный
В узле: 1
7
1025-1317610
Воздухопровод
В узле: 1
8
GBS61/20W2
Хомут «Norma»
В узле: 2
9
270003194-В
Патрубок силиконовый 50x100 красный
В узле: 1
9
PR001-50-100-MA
Патрубок термостойкий
В узле: 1
10
1025П-1317620
Воздуховод
В узле: 1
11
М8-6Н.6.019
Гайка
В узле: 2
12
С8.01.019
Шайба
В узле: 4
13
Шайба8Т
Шайба 8Т
В узле: 4
14
М8-6gх25.88.35.019
Болт
В узле: 4
15
КГ1/4dm.А12.019
Пробка
В узле: 2
16
270003191-А
Патрубок силиконовый 63x80 синий
В узле: 1
16
PR001-63-80-PES
Патрубок силиконовый 63x80 синий
В узле: 1
Содержащиеся в справочниках-каталогах запасные части и детали не предлагаются к продаже, а носят исключительно информационный характер

Ваша заявка была отправлена. В ближайшее время наши специалисты с Вами свяжутся по указанному Вами телефону.

Представьтесь
Поле обязательно для заполнения
Ваш телефон
Введите правильный номер телефона
E-mail
Введите правильный e-mail
Тема
Тема
применяемость финансирование доставка цена, наличие другое сервис и гарантия
Время для звонка
08:00
08:00 09:00 10:00 11:00 12:00 13:00 14:00 15:00 16:00 17:00 18:00 19:00
19:00
08:00 09:00 10:00 11:00 12:00 13:00 14:00 15:00 16:00 17:00 18:00 19:00

Мы постараемся перезвонить в указанное время

Если вы не хотите ждать, то звоните нашим вежливым консультантам:

8 800 100-2-700
Подтвердите, что вы не робот
Подтвердите, что вы не робот
Спасибо!

Ваше сообщение успешно отправлено!

ЗакрытьПовторить попытку