Каталог запасных частей к технике: МТЗ 922.5. Кран тормозной

zoom-in zoom-out enlarge shrink circle-right circle-left file-text2 info cart arraw right arraw left zoom out zoom in arraw maximize arraw minimize
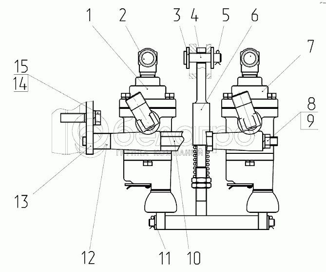
1
1
1
2
3
4
5
6
7
7
7
7
7
7
7
8
9
10
11
12
13
14
15
7
80-3514010
Кран тормозной
В узле: 1
80-3514010 Кран тормозной МТЗ (А29.61.000) (А) >10 шт. 2 047.56 р.
80-3514010 Кран тормозной МТЗ (А29.61.000) (ТАИМ) Под заказ 4 136.91 р.
1
80-3514010-02
Кран тормозной
В узле: 1
80-3514010-02 Кран тормозной МТЗ (ТАИМ) Под заказ 4 821.95 р.
2
1522-3514033
Угольник
В узле: 4
1522-3514033 Угольник МТЗ Под заказ 660.33 р.
923-3514705-01
Кран тормозной
В узле: 1
923-3514705
Кран тормозной
В узле: 1
1
А29.351.4010-02
Кран тормозной
В узле: 1
3
С12.01.019
Шайба
В узле: 2
4
Палец12х40
Палец 12х40
В узле: 1
5
3,2х18.019
Шплинт
В узле: 3
6
923-3514730
Тяга
В узле: 1
7
80-3514010-01
Кран тормозной
В узле: 1
7
А29.351.4010-01
Кран тормозной
В узле: 1
7
А29.3514010
Кран тормозной
В узле: 1
8
М10-6Н.6.019
Гайка
В узле: 2
9
Шайба10.ОТ
Шайба
В узле: 4
10
923-3514714
Шпилька
В узле: 2
11
С8.01.019
Шайба
В узле: 2
12
1522М-3514013
Бобышка
В узле: 2
13
822-3514011
Кронштейн
В узле: 1
14
М12-6gх45.88.35.019
Болт
В узле: 2
15
Шайба12.ОТ
Шайба
В узле: 2
Содержащиеся в справочниках-каталогах запасные части и детали не предлагаются к продаже, а носят исключительно информационный характер

Ваша заявка была отправлена. В ближайшее время наши специалисты с Вами свяжутся по указанному Вами телефону.

Представьтесь
Поле обязательно для заполнения
Ваш телефон
Введите правильный номер телефона
E-mail
Введите правильный e-mail
Тема
Тема
применяемость финансирование доставка цена, наличие другое сервис и гарантия
Время для звонка
08:00
08:00 09:00 10:00 11:00 12:00 13:00 14:00 15:00 16:00 17:00 18:00 19:00
19:00
08:00 09:00 10:00 11:00 12:00 13:00 14:00 15:00 16:00 17:00 18:00 19:00

Мы постараемся перезвонить в указанное время

Если вы не хотите ждать, то звоните нашим вежливым консультантам:

8 800 100-2-700
Подтвердите, что вы не робот
Подтвердите, что вы не робот
Спасибо!

Ваше сообщение успешно отправлено!

ЗакрытьПовторить попытку