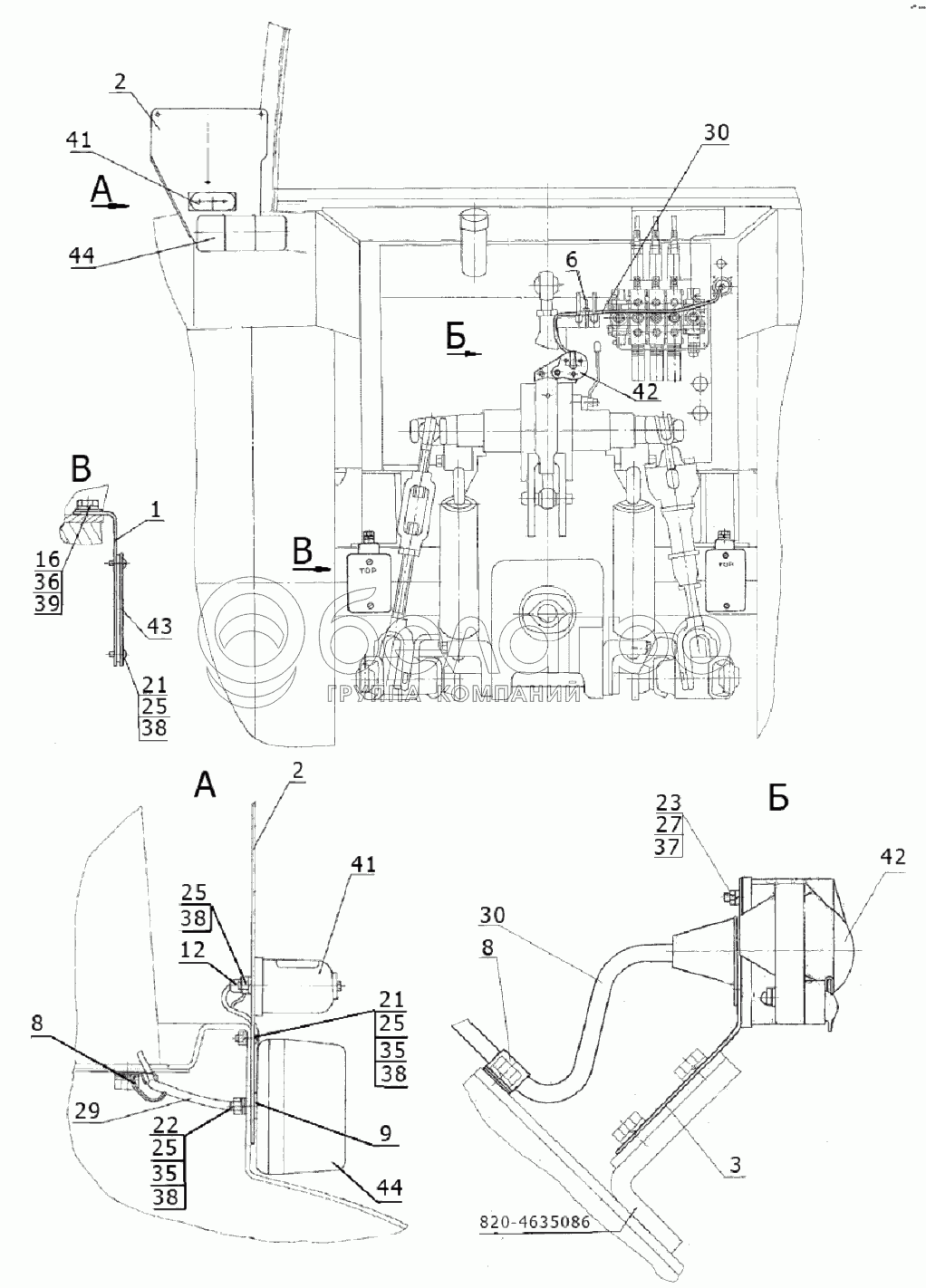
Каталог запасных частей к технике: МТЗ 923.5. Установка фонарей задних

zoom-in zoom-out enlarge shrink circle-right circle-left file-text2 info cart arraw right arraw left zoom out zoom in arraw maximize arraw minimize
820-4635086
1
2
2
3
6
8
8
9
9
12
16
21
21
22
23
23
25
25
25
25
27
29
29
30
30
35
35
36
37
38
38
38
38
38
39
41
41
41
41
41
41
41
42
42
42
42
42
43
44
44
44
44
7303.3716
Фонарь задний
В узле: 2
7303.3716 фонарь задний многофункц (12В)(002) >10 шт. 421.82 р.
7303.3716 Фонарь задний МТЗ с/х, Н/О, 12В , Беларусь Под заказ 767.30 р.
41
112.00.05-01
Фонарь освещения номерного знака
В узле: 1
112.00.05-01 Фонарь МТЗ освещения знака номерного полуприцепа 12V, Беларусь Под заказ 481.61 р.
9
80-6708904
Прокладка
В узле: 2
80-6708904 Прокладка <10 шт. 2.18 р.
43
3202.3731
Световозвращатель
В узле: 2
3202.3731 Световозвращатель прямоугольный (красный) (ОАО Руденск) Под заказ 172.07 р.
1222-3700060-02
Установка фонарей задних
В узле: ---
820-4635086
Кронштейн
В узле: ---
1
Ф50-3731011
Кронштейн
В узле: 2
2
923-3716011
Кронштейн
В узле: 1
3
923-3723041
Кронштейн
В узле: 1
6
80-3723045-01
Манжета
В узле: 1
8
70-1115012-04
Хомутик
В узле: 3
12
54.24.445-Б
Наконечник
В узле: 1
16
М8-6gх14.88.35.019
Болт
В узле: 2
21
В.М6-6gх16.58.019
Винт
В узле: 6
22
В.М6-6gх25.58.019
Винт
В узле: 4
23
В.М5-6gх35.58.019
Винт
В узле: 3
25
М6-6Н.6.019
Гайка
В узле: 12
27
М5-6Н.6.019
Гайка ГОСТ 5915-70
В узле: 3
29
923-3724160-Б
Жгут
В узле: 1
30
923-3724203
Жгут розетки прицепа
В узле: 1
35
С.6.01.019
Шайба
В узле: 6
36
С8.01.019
Шайба
В узле: 2
37
Шайба
В узле: 3
38
Шайба6Т
Шайба
В узле: 12
39
Шайба8Т
Шайба 8Т
В узле: 2
41
ФП131АР
Фонарь освещения номерного знака
В узле: 1
41
2102.3.04.17
Фонарь освещения номерного знака
В узле: 1
42
302.3.04.23
Розетка прицепа
В узле: 1
42
Р9-1
Розетка
В узле: 1
44
3302.3716-20
Фонарь задний
В узле: ---
Содержащиеся в справочниках-каталогах запасные части и детали не предлагаются к продаже, а носят исключительно информационный характер

Ваша заявка была отправлена. В ближайшее время наши специалисты с Вами свяжутся по указанному Вами телефону.

Представьтесь
Поле обязательно для заполнения
Ваш телефон
Введите правильный номер телефона
E-mail
Введите правильный e-mail
Тема
Тема
применяемость финансирование доставка цена, наличие другое сервис и гарантия
Время для звонка
08:00
08:00 09:00 10:00 11:00 12:00 13:00 14:00 15:00 16:00 17:00 18:00 19:00
19:00
08:00 09:00 10:00 11:00 12:00 13:00 14:00 15:00 16:00 17:00 18:00 19:00

Мы постараемся перезвонить в указанное время

Если вы не хотите ждать, то звоните нашим вежливым консультантам:

8 800 100-2-700
Подтвердите, что вы не робот
Подтвердите, что вы не робот
Спасибо!

Ваше сообщение успешно отправлено!

ЗакрытьПовторить попытку