Каталог запасных частей к технике: МТЗ 92П. Баки топливные (металлические)
1
1
2
3
4
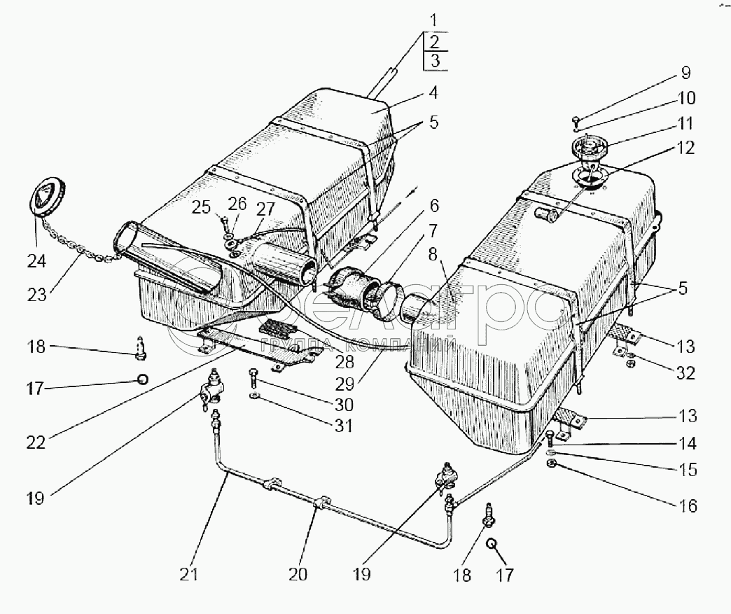
5
5
6
7
8
9
10
11
11
12
13
13
14
15
16
17
17
18
18
19
19
20
21
21
22
23
24
25
26
27
28
29
30
31
32
|
6
70-1101035-Б
Рукав
В узле: 1
|
|||||||||||||||||||||||||||||||||||||||||||||||||||||||||||||||||||||||||||||||||||||||
| 70-1101035-Б Рукав соединительный МТЗ, РФ |
|
>10 шт. | 312.02 р. | ||||||||||||||||||||||||||||||||||||||||||||||||||||||||||||||||||||||||||||||||||||
| 70-1101035-Б Рукав соединительный МТЗ, (У) |
|
Под заказ | 360.07 р. | ||||||||||||||||||||||||||||||||||||||||||||||||||||||||||||||||||||||||||||||||||||
|
24
082-1103010
Пробка
В узле: 1
|
|||||||||||||||||||||||||||||||||||||||||||||||||||||||||||||||||||||||||||||||||||||||
| 082-1103010 Пробка топливного бака МТЗ пластмассовая (метал. бак) |
|
>10 шт. | 69.06 р. | ||||||||||||||||||||||||||||||||||||||||||||||||||||||||||||||||||||||||||||||||||||
|
25
36-1104787
Болт
В узле: 1
|
|||||||||||||||||||||||||||||||||||||||||||||||||||||||||||||||||||||||||||||||||||||||
| 36-1104787 Болт МТЗ М10х1.0х22 обратки форсунки, САЗ* |
|
>10 шт. | 55.36 р. | ||||||||||||||||||||||||||||||||||||||||||||||||||||||||||||||||||||||||||||||||||||
| 36-1104787 Болт МТЗ М10х1.0х22 обратки форсунки, (А) |
|
Под заказ | 5.43 р. | ||||||||||||||||||||||||||||||||||||||||||||||||||||||||||||||||||||||||||||||||||||
|
5
70-1101070
Хомут
В узле: 4
|
|||||||||||||||||||||||||||||||||||||||||||||||||||||||||||||||||||||||||||||||||||||||
| 70-1101070 Хомут МТЗ (стяжка) |
|
Под заказ | 596.37 р. | ||||||||||||||||||||||||||||||||||||||||||||||||||||||||||||||||||||||||||||||||||||
|
1
920П-1101240-05
Топливопровод
В узле: 1
|
|||||||||||||||||||||||||||||||||||||||||||||||||||||||||||||||||||||||||||||||||||||||
| 920П-1101240-05 Топливопровод МТЗ L=2453 , БЗТДиА |
|
Под заказ | 2 055.87 р. | ||||||||||||||||||||||||||||||||||||||||||||||||||||||||||||||||||||||||||||||||||||
|
27
920-1101160-01
Топливопровод
В узле: 1
|
|||||||||||||||||||||||||||||||||||||||||||||||||||||||||||||||||||||||||||||||||||||||
| 920-1101160-01 Топливопровод МТЗ L=2200 штуцер/штуцер, БЗТДиА |
|
<10 шт. | 1 071.83 р. | ||||||||||||||||||||||||||||||||||||||||||||||||||||||||||||||||||||||||||||||||||||
|
4
70-1101020
Бак
В узле: 1
|
|||||||||||||||||||||||||||||||||||||||||||||||||||||||||||||||||||||||||||||||||||||||
| 70-1101020 Бак топливный МТЗ левый, с горлов., металл |
|
Под заказ | 11 773.04 р. | ||||||||||||||||||||||||||||||||||||||||||||||||||||||||||||||||||||||||||||||||||||
|
18
822-1101081
Штуцер
В узле: 2
|
|||||||||||||||||||||||||||||||||||||||||||||||||||||||||||||||||||||||||||||||||||||||
| 822-1101081 Штуцер МТЗ, САЗ |
|
Под заказ | 138.78 р. | ||||||||||||||||||||||||||||||||||||||||||||||||||||||||||||||||||||||||||||||||||||
|
13
80-1101250-Б
Кронштейн правый
В узле: 2
|
|||||||||||||||||||||||||||||||||||||||||||||||||||||||||||||||||||||||||||||||||||||||
| 80-1101250-Б Кронштейн МТЗ топливного бака правый |
|
Под заказ | 1 055.84 р. | ||||||||||||||||||||||||||||||||||||||||||||||||||||||||||||||||||||||||||||||||||||
|
22
80-1101280-Б
Кронштейн левый
В узле: 2
|
|||||||||||||||||||||||||||||||||||||||||||||||||||||||||||||||||||||||||||||||||||||||
| 80-1101280-Б Кронштейн МТЗ бака топливного , левый |
|
Под заказ | 975.78 р. | ||||||||||||||||||||||||||||||||||||||||||||||||||||||||||||||||||||||||||||||||||||
|
11
ДУМП-21М
Датчик уровня топлива
В узле: 1
|
|||||||||||||||||||||||||||||||||||||||||||||||||||||||||||||||||||||||||||||||||||||||
| ДУМП-21М Датчик МТЗ указателя уровня топлива, (А) |
|
Под заказ | 373.06 р. | ||||||||||||||||||||||||||||||||||||||||||||||||||||||||||||||||||||||||||||||||||||
Содержащиеся в справочниках-каталогах запасные части и детали не предлагаются к продаже, а носят исключительно информационный характер