Каталог запасных частей к технике: МТЗ 92П. Управление БД и ВОМ (электрическая часть)

zoom-in zoom-out enlarge shrink circle-right circle-left file-text2 info cart arraw right arraw left zoom out zoom in arraw maximize arraw minimize
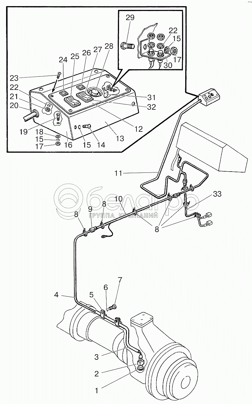
1
2
3
4
5
6
7
8
8
8
9
10
11
12
13
14
15
15
15
16
17
17
18
19
20
21
22
22
23
24
25
26
27
28
29
30
31
32
33
4
1221-3724840-В
Жгут
В узле: 1
1221-3724840-В Жгут МТЗ, Беларусь Под заказ 447.14 р.
32
80-3801021
Гнездо выключателя
В узле: 2
80-3801021 Гнездо МТЗ, Беларусь Под заказ 28.19 р.
1021-8700310-Д
Управление БД и ВОМ
В узле: ---
1
50-1702048
Прокладка
В узле: 10
2
ВК12-51
Выключатель ТУ РБ37334210.015-97
В узле: 1
3
822-8700021
Труба
В узле: 1
5
1221-8700022
Хомут
В узле: 2
6
Шайба8Т
Шайба 8Т
В узле: 2
7
М8-6gх16.88.35.019
Болт
В узле: 2
8
80-3723045
Манжета
В узле: 14
9
602602
Колодка гнездовая
В узле: 1
10
822-3724825
Жгут
В узле: 1
11
1021-3724820
Жгут
В узле: 1
12
1021-8700316
Панель
В узле: 1
13
1221-6700411
Крышка
В узле: 1
14
ВМ6-6gх12.58.019
Винт ГОСТ 17473-80
В узле: 4
15
Шайба6Т
Шайба
В узле: 8
16
1221-6700420
Основание
В узле: 1
17
М6-6Н.6.019
Гайка
В узле: 4
18
С6.01.019
Шайба
В узле: 2
19
М6-6gх35.88.35.019
Болт
В узле: 2
20
70-3723042-01
Втулка
В узле: 1
21
М5-6Н.6.019
Гайка ГОСТ 5915-70
В узле: 4
22
Шайба5Т
Шайба
В узле: 6
23
ВМ5-6gх16.58.019
Винт ГОСТ 17473-80
В узле: 4
24
3803.40
Лампа контрольная БД
В узле: 1
25
3709.65
Переключатель БД
В узле: 1
26
3803.50
Лампа контрольная ЗВОМ
В узле: 1
27
3709.75
Переключатель ВОМ
В узле: 1
28
ВК12-1
Выключатель
В узле: 1
29
ВМ6-6gх16.58.019
Винт ГОСТ 17473-80
В узле: 2
30
1522-8700221
Кронштейн
В узле: 1
31
3747.50
Реле на замыкание
В узле: 2
33
1021-3724830-Д
Жгут
В узле: 1
Содержащиеся в справочниках-каталогах запасные части и детали не предлагаются к продаже, а носят исключительно информационный характер

Ваша заявка была отправлена. В ближайшее время наши специалисты с Вами свяжутся по указанному Вами телефону.

Представьтесь
Поле обязательно для заполнения
Ваш телефон
Введите правильный номер телефона
E-mail
Введите правильный e-mail
Тема
Тема
применяемость финансирование доставка цена, наличие другое сервис и гарантия
Время для звонка
08:00
08:00 09:00 10:00 11:00 12:00 13:00 14:00 15:00 16:00 17:00 18:00 19:00
19:00
08:00 09:00 10:00 11:00 12:00 13:00 14:00 15:00 16:00 17:00 18:00 19:00

Мы постараемся перезвонить в указанное время

Если вы не хотите ждать, то звоните нашим вежливым консультантам:

8 800 100-2-700
Подтвердите, что вы не робот
Подтвердите, что вы не робот
Спасибо!

Ваше сообщение успешно отправлено!

ЗакрытьПовторить попытку