Каталог запасных частей к технике: МТЗ БЕЛАРУС 2103. Бак

zoom-in zoom-out enlarge shrink circle-right circle-left file-text2 info cart arraw right arraw left zoom out zoom in arraw maximize arraw minimize
2103-4608200
LVA20SAM12P01
LS 127 1-T-M12
CLA12M12NT
1
2
3
3
4
5
5
6
6
6
7
7
8
9
9
10
10
11
12
12
13
14
14
15
16
17
18
19
20
20
21
22
22
23
24
25
26
27
28
29
30
31
26
40-4607032
Болт
В узле: 2
40-4607032 Болт МТЗ, БЗТДиА >10 шт. 552.97 р.
7
80-4608021
Заглушка
В узле: 2
80-4608021 Пробка МТЗ (заглушка), БЗТДиА Под заказ 234.76 р.
11
2522-4608211
Крышка
В узле: 1
2522-4608211 Крышка МТЗ Под заказ 4 603.41 р.
15
2522-4608063
Фильтр
В узле: 2
2522-4608063 Фильтр МТЗ Под заказ 420.58 р.
5
85-4607034
Штуцер
В узле: 2
85-4607034 Штуцер МТЗ Под заказ 595.04 р.
2103-4608200
Бак
В узле: ---
LVA20SAM12P01
Указатель уровня масла
В узле: 2
LS 127 1-T-M12
Указатель уровня масла
В узле: 2
CLA12M12NT
Указатель уровня масла
В узле: 2
1
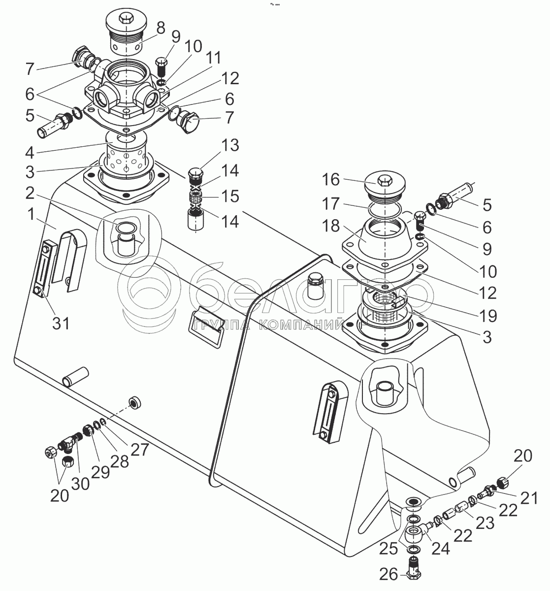
2103-4608210
Бак
В узле: 1
2
Кольцо 042-050-46-2-4
Кольцо
В узле: 1
3
822-4608020-А
Корпус фильтра
В узле: 2
4
ЭФОМ 635-1-19 УХЛ 2
Элемент фильтрующий
В узле: 1
6
Кольцо 027-032-30-1-4
Кольцо
В узле: 4
8
822-4608030
Пробка (12-21)
В узле: 1
9
Болт М8-6gx25.88.35.019
Болт М8-6gx25.88.35.019
В узле: 8
10
4598166046
Шайба 8Т
В узле: 8
12
822-4608112
Прокладка
В узле: 2
13
2522-4608059
Пробка сапуна
В узле: 2
14
2522-4608062
Шайба сапуна
В узле: 4
16
2103-4608202
Пробка
В узле: 1
17
Кольцо 066-071-30-1-4
Кольцо
В узле: 1
18
1522-4608211
Крышка
В узле: 2
19
2103-4608240
Фильтр
В узле: 1
20
Н.036.12.010
Заглушка
В узле: 4
21
2102-4608320
Труба
В узле: 2
22
Хомут 16-27/971
Хомут
В узле: 4
23
354-3500303-Б-06
Шланг
В узле: 2
24
С80-4607380
Труба
В узле: 2
25
40-4607038-А-01
Шайба
В узле: 4
27
Кольцо 017-021-25-2-2
Кольцо
В узле: 1
28
354-3400036
Шайба защитная
В узле: 1
29
354-3400015
Гайка
В узле: 1
30
354М1-3400012
Тройник
В узле: 1
31
FL.213
Указатель уровня масла
В узле: 2
Содержащиеся в справочниках-каталогах запасные части и детали не предлагаются к продаже, а носят исключительно информационный характер

Ваша заявка была отправлена. В ближайшее время наши специалисты с Вами свяжутся по указанному Вами телефону.

Представьтесь
Поле обязательно для заполнения
Ваш телефон
Введите правильный номер телефона
E-mail
Введите правильный e-mail
Тема
Тема
применяемость финансирование доставка цена, наличие другое сервис и гарантия
Время для звонка
08:00
08:00 09:00 10:00 11:00 12:00 13:00 14:00 15:00 16:00 17:00 18:00 19:00
19:00
08:00 09:00 10:00 11:00 12:00 13:00 14:00 15:00 16:00 17:00 18:00 19:00

Мы постараемся перезвонить в указанное время

Если вы не хотите ждать, то звоните нашим вежливым консультантам:

8 800 100-2-700
Подтвердите, что вы не робот
Подтвердите, что вы не робот
Спасибо!

Ваше сообщение успешно отправлено!

ЗакрытьПовторить попытку