Каталог запасных частей к технике: МТЗ Беларус-422.1. Установка компрессора

zoom-in zoom-out enlarge shrink circle-right circle-left file-text2 info cart arraw right arraw left zoom out zoom in arraw maximize arraw minimize
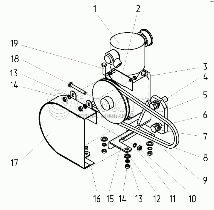
1
2
3
4
5
6
7
8
9
10
11
12
13
13
14
14
15
16
17
18
19
17
320-3509030
Кожух
В узле: 1
320-3509030 Кожух МТЗ, БЗТДиА <10 шт. 1 251.72 р.
320-3509005
Компрессор
В узле: 1
1
601.23.934
Компрессор
В узле: 1
2
320-3509021
Кронштейн
В узле: 1
3
М8-6gх14.88.35.019
Болт
В узле: 2
7
320-1001002
Болт
В узле: 1
5
320-3509010
Кожух
В узле: 1
6
16.ОТ
Шайба
В узле: 2
8
AVX10-913La
Ремень
В узле: 1
9
М8-6gх65.88.35.019
Болт
В узле: 1
10
М10-6Н.6.019
Гайка
В узле: 1
11
80-3401013
Шайба
В узле: 1
12
С8.01.019
Шайба
В узле: 4
13
Шайба
В узле: 6
14
М8-6Н.6.019
Гайка
В узле: 6
15
320-3509012
Кронштейн
В узле: 1
16
70-8405114
Втулка
В узле: 1
18
М10-6gх50.88.35.019
Болт ГОСТ 7795-70
В узле: 1
19
М8-6gх45.88.35.019
Болт ГОСТ 7796-70
В узле: 3
Содержащиеся в справочниках-каталогах запасные части и детали не предлагаются к продаже, а носят исключительно информационный характер

Ваша заявка была отправлена. В ближайшее время наши специалисты с Вами свяжутся по указанному Вами телефону.

Представьтесь
Поле обязательно для заполнения
Ваш телефон
Введите правильный номер телефона
E-mail
Введите правильный e-mail
Тема
Тема
применяемость финансирование доставка цена, наличие другое сервис и гарантия
Время для звонка
08:00
08:00 09:00 10:00 11:00 12:00 13:00 14:00 15:00 16:00 17:00 18:00 19:00
19:00
08:00 09:00 10:00 11:00 12:00 13:00 14:00 15:00 16:00 17:00 18:00 19:00

Мы постараемся перезвонить в указанное время

Если вы не хотите ждать, то звоните нашим вежливым консультантам:

8 800 100-2-700
Подтвердите, что вы не робот
Подтвердите, что вы не робот
Спасибо!

Ваше сообщение успешно отправлено!

ЗакрытьПовторить попытку