Каталог запасных частей к технике: МТЗ БЕЛАРУС 952.7. Гидрораспределитель РП70-1221.2

zoom-in zoom-out enlarge shrink circle-right circle-left file-text2 info cart arraw right arraw left zoom out zoom in arraw maximize arraw minimize
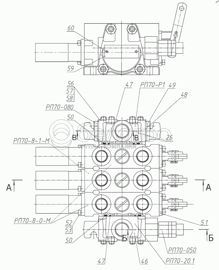
26
46
47
47
48
49
50
50
50
50
50
50
51
52
53
56
57
58
59
60
13
РП70-042
Планка
В узле: 6
РП70-042 Планка рычага управления распределителем МТЗ, Беларусь <10 шт. 577.04 р.
РП70-20.1
Крышка
В узле: 1
РП70-20.1 Крышка клапанная МТЗ (для РП70-890), Беларусь Под заказ 5 047.97 р.
46
РП70-012-01
Крышка
В узле: 1
РП70-012-01 крышка гидрораспределителя Под заказ 3 787.95 р.
РП70-050
Клапан предохранительный
В узле: 1
РП70-050 РК Клапан предохранительный Под заказ 3 588.35 р.
РП70-8-1-М
Секция распределителя
В узле: 1
РП70-8-0-М
Гидрораспределитель
В узле: 2
РП70-080
Заглушка
В узле: 1
РП70-Р2
Крышка
В узле: 1
РП70-Р1
Крышка
В узле: 1
РП70-20
Крышка
В узле: 1
1
РП70-090
Труба
В узле: 3
1
8ПМ170.027
Труба
В узле: 3
2
РП-70-034
Пружина
В узле: 3
3
РП70-026
Винт
В узле: 3
4
РП70-018-01
Тарелка
В узле: 3
5
БУ-8/1.01.010 А-01
Пружина
В узле: 3
6
Кольцо 021-025-25-1-4
Кольцо 021-025-25-1-4
В узле: 3
7
Шарик 5,556-100
Шарик
В узле: 9
7
Шарик 5,556-60
Шарик
В узле: 9
8
4600.20
Шайба РМ1/2
В узле: 3
9
РП70-024
Пробка
В узле: 3
10
РП70-027
Пружина
В узле: 3
11
РП70-023
Затвор
В узле: 3
14
Палец 6х22
Палец
В узле: 6
15
Шплинт 2х50.019
Шплинт
В узле: 3
16
РП70-032
Кольцо
В узле: 3
17
РП70-011
Корпус секции распределителя
В узле: 3
18
РП70-013
Золотник
В узле: 3
19
Кольцо 030-034-25-2-2
Кольцо
В узле: 3
20
Шарик Б9,525-100
Шарик
В узле: 3
21
РП70-014
Обойма
В узле: 2
21
РП70-014-02
Обойма
В узле: 1
22
Кольцо 016-020-25-2-2
Кольцо 016-020-25-2-2
В узле: 6
23
Кольцо 009-012-19-1-4
Кольцо
В узле: 3
24
РП70-016
Футорка
В узле: 3
25
РП70-018
Тарелка
В узле: 3
26
РП70-012
Крышка
В узле: 1
27
Кольцо 018-021-19-2-4
Кольцо
В узле: 1
55
РП70-058
Кольцо
В узле: 1
29
70-4609037
Пружина
В узле: 1
30
РП70-052-Б
Клапан
В узле: 1
31
РП70-054
Седло
В узле: 1
32
РП70-051-В
Корпус
В узле: 1
33
Кольцо 016-020-25-2-4
Кольцо
В узле: 1
34
МКПВ-16/3Ф-103
Пружина
В узле: 1
35
РП70-059
Винт
В узле: 1
36
РП70-053
Штуцер
В узле: 1
37
РП70-076
Гайка
В узле: 1
38
РП70-057
Колпачок
В узле: 1
39
Шайба С 6.01.019
Шайба
В узле: 1
40
Кольцо 013-016-19-2-2
Кольцо
В узле: 3
41
РП70-058-02
Кольцо
В узле: 1
42
МКПВ-16/3Ф-101
Игла
В узле: 1
48
4600.22
Шайба РМ24
В узле: 1
44
РП70-058-01
Кольцо
В узле: 1
45
РП70-075
Фильтр
В узле: 3
47
Кольцо 036-040-25-2-2
Кольцо
В узле: 4
49
РП70-036
Пробка
В узле: 1
50
Кольцо 060-066-36-2-2
Кольцо
В узле: 4
50
Кольцо 60,00-3,50
Кольцо
В узле: 4
51
РП70-074
Кронштейн
В узле: 3
52
Винт В.М5-6gх12.58.019
Винт В.М5-6gх12.58.019
В узле: 12
53
Шайба 5Т
Шайба 5Т
В узле: 12
54
РП70-081
Заглушка
В узле: 1
56
РП70-037-02
Шпилька
В узле: 4
57
Гайка М10-6Н.6.019
Гайка М10-6Н.6.019
В узле: 8
58
Шайба 10 ОТ
Шайба
В узле: 8
59
РП70-038
Табличка фирменная
В узле: 1
60
Заклепка 2х6.01.10кп.05
Заклепка
В узле: 2
Содержащиеся в справочниках-каталогах запасные части и детали не предлагаются к продаже, а носят исключительно информационный характер

Ваша заявка была отправлена. В ближайшее время наши специалисты с Вами свяжутся по указанному Вами телефону.

Представьтесь
Поле обязательно для заполнения
Ваш телефон
Введите правильный номер телефона
E-mail
Введите правильный e-mail
Тема
Тема
применяемость финансирование доставка цена, наличие другое сервис и гарантия
Время для звонка
08:00
08:00 09:00 10:00 11:00 12:00 13:00 14:00 15:00 16:00 17:00 18:00 19:00
19:00
08:00 09:00 10:00 11:00 12:00 13:00 14:00 15:00 16:00 17:00 18:00 19:00

Мы постараемся перезвонить в указанное время

Если вы не хотите ждать, то звоните нашим вежливым консультантам:

8 800 100-2-700
Подтвердите, что вы не робот
Подтвердите, что вы не робот
Спасибо!

Ваше сообщение успешно отправлено!

ЗакрытьПовторить попытку