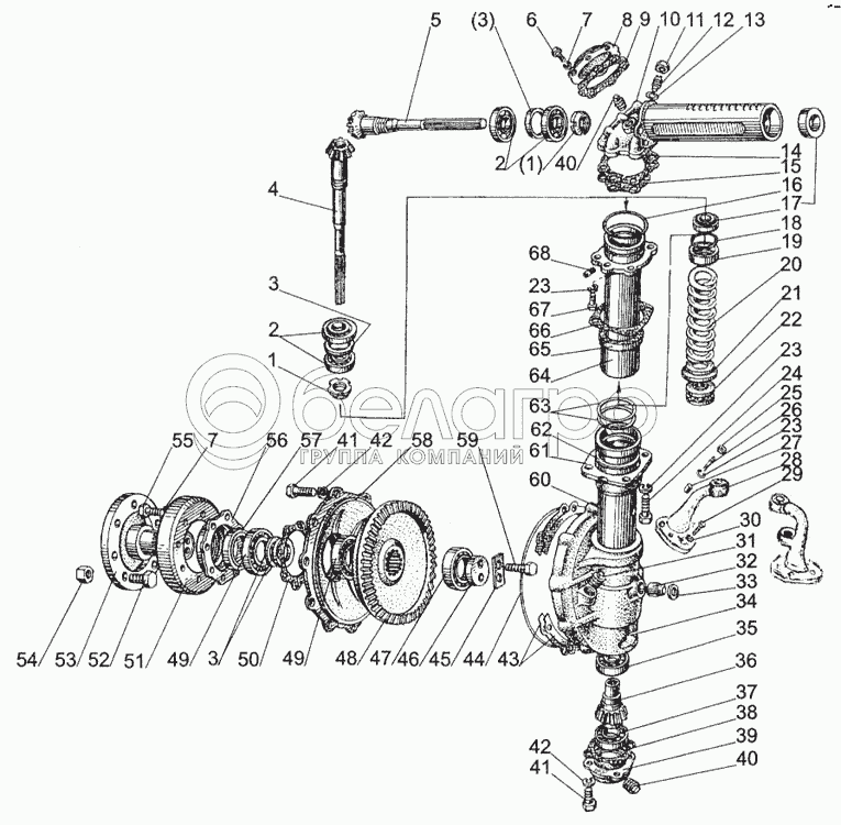
Каталог запасных частей к технике: МТЗ-1005. Редуктор конечной передачи
52-2308110-А2
52-2308115-А2
72-2308005-08
72-2308010-07
1
1
2
2
3
3
3
3
3
3
3
3
3
3
3
3
3
4
4
5
5
6
7
7
8
9
10
11
12
13
14
15
16
17
18
19
20
21
22
23
23
23
24
25
26
27
28
29
30
31
32
33
34
34
35
36
36
37
38
39
39
40
40
41
41
42
42
43
43
44
45
46
47
48
49
49
50
51
52
53
53
54
55
56
56
57
58
59
60
61
62
63
64
65
66
67
68
|
4
52-2308063
Вал
В узле: 2
|
|||||||||||||||||||||||||||||||||||||||||||||||||||||||||||||||||||||||||||||||||||||||
| 52-2308063 Вал МТЗ вертикальный (короткий) переднего ведущего моста РЗТ |
|
Под заказ | 3 667.59 р. | ||||||||||||||||||||||||||||||||||||||||||||||||||||||||||||||||||||||||||||||||||||
| 52-2308063 Вал МТЗ вертикальный (короткий) переднего ведущего моста |
|
Под заказ | 5 031.16 р. | ||||||||||||||||||||||||||||||||||||||||||||||||||||||||||||||||||||||||||||||||||||
| 52-2308063 Вал МТЗ вертикальный (короткий) переднего ведущего моста SPILE |
|
>10 шт. | 1 000 р. | ||||||||||||||||||||||||||||||||||||||||||||||||||||||||||||||||||||||||||||||||||||
|
5
52-2308065
Полуось
В узле: 2
|
|||||||||||||||||||||||||||||||||||||||||||||||||||||||||||||||||||||||||||||||||||||||
| 52-2308065 Полуось МТЗ (длинная) переднего ведущего моста РЗТ |
|
Под заказ | 3 667.59 р. | ||||||||||||||||||||||||||||||||||||||||||||||||||||||||||||||||||||||||||||||||||||
| 52-2308065 Полуось МТЗ (длинная) переднего ведущего моста |
|
Под заказ | 5 200.10 р. | ||||||||||||||||||||||||||||||||||||||||||||||||||||||||||||||||||||||||||||||||||||
| 52-2308065 Полуось МТЗ (длинная) переднего ведущего моста SPILE |
|
>10 шт. | 1 000 р. | ||||||||||||||||||||||||||||||||||||||||||||||||||||||||||||||||||||||||||||||||||||
|
52
40-3103016
Болт
В узле: 16
|
|||||||||||||||||||||||||||||||||||||||||||||||||||||||||||||||||||||||||||||||||||||||
| 40-3103016 Болт переднего колеса (МТЗ-ЮМЗ) (А) |
|
>10 шт. | 46.12 р. | ||||||||||||||||||||||||||||||||||||||||||||||||||||||||||||||||||||||||||||||||||||
| 40-3103016 Болт переднего колеса МТЗ, ЮМЗ |
|
Под заказ | 132.50 р. | ||||||||||||||||||||||||||||||||||||||||||||||||||||||||||||||||||||||||||||||||||||
|
20
50-3001022-А1
Пружина
В узле: 2
|
|||||||||||||||||||||||||||||||||||||||||||||||||||||||||||||||||||||||||||||||||||||||
| 50-3001022-А1 Пружина МТЗ ПВМ, (А) |
|
>10 шт. | 301.28 р. | ||||||||||||||||||||||||||||||||||||||||||||||||||||||||||||||||||||||||||||||||||||
|
54
40-3103017
Гайка
В узле: 16
|
|||||||||||||||||||||||||||||||||||||||||||||||||||||||||||||||||||||||||||||||||||||||
| 40-3103017 Гайка переднего колеса МТЗ, ЮМЗ |
|
Под заказ | Нет на складе | ||||||||||||||||||||||||||||||||||||||||||||||||||||||||||||||||||||||||||||||||||||
| 40-3103017 Гайка переднего колеса МТЗ, ЮМЗ, (А) |
|
>10 шт. | 11.47 р. | ||||||||||||||||||||||||||||||||||||||||||||||||||||||||||||||||||||||||||||||||||||
|
38
52-2308024
Прокладка
В узле: 2
|
|||||||||||||||||||||||||||||||||||||||||||||||||||||||||||||||||||||||||||||||||||||||
| 52-2308024 Прокладка МТЗ паронит, Беларусь |
|
>10 шт. | 8.54 р. | ||||||||||||||||||||||||||||||||||||||||||||||||||||||||||||||||||||||||||||||||||||
|
60
52-2308084-А1
Гильза
В узле: 2
|
|||||||||||||||||||||||||||||||||||||||||||||||||||||||||||||||||||||||||||||||||||||||
| 52-2308084-А1 Гильза МТЗ редуктора конечной передачи переднего ведущего моста |
|
Под заказ | 4 456.67 р. | ||||||||||||||||||||||||||||||||||||||||||||||||||||||||||||||||||||||||||||||||||||
| 52-2308084-А1 Гильза МТЗ редуктора конечной передачи переднего ведущего моста, (А) |
|
>10 шт. | 1 099.90 р. | ||||||||||||||||||||||||||||||||||||||||||||||||||||||||||||||||||||||||||||||||||||
|
26
72-2308004
Шпилька
В узле: 6
|
|||||||||||||||||||||||||||||||||||||||||||||||||||||||||||||||||||||||||||||||||||||||
| 72-2308004 Шпилька МТЗ |
|
>10 шт. | 187.56 р. | ||||||||||||||||||||||||||||||||||||||||||||||||||||||||||||||||||||||||||||||||||||
|
1
52-2308097
Гайка
В узле: 4
|
|||||||||||||||||||||||||||||||||||||||||||||||||||||||||||||||||||||||||||||||||||||||
| 52-2308097 Гайка МТЗ полуоси редуктора конечной передачи, САЗ* |
|
>10 шт. | 354.58 р. | ||||||||||||||||||||||||||||||||||||||||||||||||||||||||||||||||||||||||||||||||||||
| 52-2308097 Гайка МТЗ полуоси редуктора конечной передачи, (А) |
|
Под заказ | 27.74 р. | ||||||||||||||||||||||||||||||||||||||||||||||||||||||||||||||||||||||||||||||||||||
|
15
52-2308039
Прокладка регулировочная В = 0,2 мм
В узле: 8
|
|||||||||||||||||||||||||||||||||||||||||||||||||||||||||||||||||||||||||||||||||||||||
| 52-2308039 Прокладка МТЗ регулировочная (0,2мм), (А) |
|
<10 шт. | 19.68 р. | ||||||||||||||||||||||||||||||||||||||||||||||||||||||||||||||||||||||||||||||||||||
| 52-2308039 Прокладка МТЗ регулировочная (0,2мм) |
|
>10 шт. | 68.34 р. | ||||||||||||||||||||||||||||||||||||||||||||||||||||||||||||||||||||||||||||||||||||
|
14
52-2308038
Прокладка регулировочная В = 0,5 мм
В узле: 12
|
|||||||||||||||||||||||||||||||||||||||||||||||||||||||||||||||||||||||||||||||||||||||
| 52-2308038 Прокладка МТЗ регулировочная (0,5мм), (А) |
|
Под заказ | 19.68 р. | ||||||||||||||||||||||||||||||||||||||||||||||||||||||||||||||||||||||||||||||||||||
| 52-2308038 Прокладка МТЗ регулировочная (0,5мм) |
|
>10 шт. | 137.36 р. | ||||||||||||||||||||||||||||||||||||||||||||||||||||||||||||||||||||||||||||||||||||
|
66
52-2308096
Прокладка
В узле: 2
|
|||||||||||||||||||||||||||||||||||||||||||||||||||||||||||||||||||||||||||||||||||||||
| 52-2308096 Прокладка МТЗ паронит, Беларусь |
|
>10 шт. | 12.04 р. | ||||||||||||||||||||||||||||||||||||||||||||||||||||||||||||||||||||||||||||||||||||
|
50
72-2308023-Б
Прокладка
В узле: 2
|
|||||||||||||||||||||||||||||||||||||||||||||||||||||||||||||||||||||||||||||||||||||||
| 72-2308023-Б Прокладка МТЗ редуктора моста переднего (паронит), Беларусь |
|
>10 шт. | 13.58 р. | ||||||||||||||||||||||||||||||||||||||||||||||||||||||||||||||||||||||||||||||||||||
|
63
52-2308091-А
Кольцо
В узле: 4
|
|||||||||||||||||||||||||||||||||||||||||||||||||||||||||||||||||||||||||||||||||||||||
| 52-2308091-А Кольцо МТЗ гильзы шкворня, (У) |
|
Под заказ | 32.65 р. | ||||||||||||||||||||||||||||||||||||||||||||||||||||||||||||||||||||||||||||||||||||
| 52-2308091-А Кольцо МТЗ гильзы шкворня |
|
Под заказ | 42.10 р. | ||||||||||||||||||||||||||||||||||||||||||||||||||||||||||||||||||||||||||||||||||||
| 52-2308091-А Кольцо МТЗ гильзы шкворня, Беларусь |
|
Под заказ | 60.72 р. | ||||||||||||||||||||||||||||||||||||||||||||||||||||||||||||||||||||||||||||||||||||
| 52-2308091-А Кольцо МТЗ гильзы шкворня, (А) |
|
Под заказ | 11.04 р. | ||||||||||||||||||||||||||||||||||||||||||||||||||||||||||||||||||||||||||||||||||||
|
43
72-2308021-Б-01
Прокладка регулировочная В=0,8 мм
В узле: 4
|
|||||||||||||||||||||||||||||||||||||||||||||||||||||||||||||||||||||||||||||||||||||||
| 72-2308021Б01 Прокладка МТЗ регулировочная редуктора конечной передачи моста переднего (0,8мм) |
|
>10 шт. | 91.60 р. | ||||||||||||||||||||||||||||||||||||||||||||||||||||||||||||||||||||||||||||||||||||
|
27
72-2308009
Втулка
В узле: 6
|
|||||||||||||||||||||||||||||||||||||||||||||||||||||||||||||||||||||||||||||||||||||||
| 72-2308009 Втулка МТЗ |
|
>10 шт. | 187.56 р. | ||||||||||||||||||||||||||||||||||||||||||||||||||||||||||||||||||||||||||||||||||||
|
32
52-2308099
Штифт
В узле: 2
|
|||||||||||||||||||||||||||||||||||||||||||||||||||||||||||||||||||||||||||||||||||||||
| 52-2308099 Штифт МТЗ редуктора конечной передачи моста переднего |
|
>10 шт. | 94.03 р. | ||||||||||||||||||||||||||||||||||||||||||||||||||||||||||||||||||||||||||||||||||||
|
43
72-2308021-Б
Прокладка регулировочная В=0,5 мм
В узле: 16
|
|||||||||||||||||||||||||||||||||||||||||||||||||||||||||||||||||||||||||||||||||||||||
| 72-2308021Б Прокладка МТЗ регулировочная редуктора конечной передачи моста переднего (0,5мм) |
|
Под заказ | 68.34 р. | ||||||||||||||||||||||||||||||||||||||||||||||||||||||||||||||||||||||||||||||||||||
|
36
52-2308061
Шестерня
В узле: 2
|
|||||||||||||||||||||||||||||||||||||||||||||||||||||||||||||||||||||||||||||||||||||||
| 52-2308061 Шестерня МТЗ редуктора конечной передачи ведущая z=12 |
|
Под заказ | 1 919.85 р. | ||||||||||||||||||||||||||||||||||||||||||||||||||||||||||||||||||||||||||||||||||||
| 52-2308061 Шестерня МТЗ редуктора конечной передачи ведущая z=12, (А) |
|
Под заказ | 555.56 р. | ||||||||||||||||||||||||||||||||||||||||||||||||||||||||||||||||||||||||||||||||||||
|
45
72-2308013
Пластина
В узле: 2
|
|||||||||||||||||||||||||||||||||||||||||||||||||||||||||||||||||||||||||||||||||||||||
| 72-2308013 Пластина стопорная МТЗ |
|
Под заказ | 16.48 р. | ||||||||||||||||||||||||||||||||||||||||||||||||||||||||||||||||||||||||||||||||||||
|
46
72-2308031
Шайба
В узле: 2
|
|||||||||||||||||||||||||||||||||||||||||||||||||||||||||||||||||||||||||||||||||||||||
| 72-2308031 Шайба МТЗ редуктора конечной передачи моста переднего |
|
<10 шт. | 194.04 р. | ||||||||||||||||||||||||||||||||||||||||||||||||||||||||||||||||||||||||||||||||||||
|
61
52-2308101
Корпус
В узле: 2
|
|||||||||||||||||||||||||||||||||||||||||||||||||||||||||||||||||||||||||||||||||||||||
| 52-2308101 Корпус МТЗ |
|
Под заказ | 1 896.33 р. | ||||||||||||||||||||||||||||||||||||||||||||||||||||||||||||||||||||||||||||||||||||
| 52-2308101 Корпус МТЗ, (А) |
|
<10 шт. | 430.75 р. | ||||||||||||||||||||||||||||||||||||||||||||||||||||||||||||||||||||||||||||||||||||
|
68
72-2308011
Винт
В узле: 4
|
|||||||||||||||||||||||||||||||||||||||||||||||||||||||||||||||||||||||||||||||||||||||
| 72-2308011 Винт МТЗ |
|
Под заказ | 252.41 р. | ||||||||||||||||||||||||||||||||||||||||||||||||||||||||||||||||||||||||||||||||||||
|
3
72-2308121-05
Кольцо регулировочное В = 6,55 (к-во дет. - по потребности)
В узле: 2
|
|||||||||||||||||||||||||||||||||||||||||||||||||||||||||||||||||||||||||||||||||||||||
| 72-2308121-05 Кольцо МТЗ регулировочное (6,65мм) |
|
<10 шт. | 206.47 р. | ||||||||||||||||||||||||||||||||||||||||||||||||||||||||||||||||||||||||||||||||||||
|
62
72-2308044
Кольцо
В узле: 2
|
|||||||||||||||||||||||||||||||||||||||||||||||||||||||||||||||||||||||||||||||||||||||
| 72-2308044 Шайба МТЗ гильзы шкворня, Беларусь |
|
Под заказ | 25.68 р. | ||||||||||||||||||||||||||||||||||||||||||||||||||||||||||||||||||||||||||||||||||||
|
3
72-2308121
Кольцо регулировочное В = 5,8 (подбираются при регулировке подшипников)
В узле: 2
|
|||||||||||||||||||||||||||||||||||||||||||||||||||||||||||||||||||||||||||||||||||||||
| 72-2308121 Кольцо МТЗ регулировочное (5,8мм) |
|
Под заказ | 206.47 р. | ||||||||||||||||||||||||||||||||||||||||||||||||||||||||||||||||||||||||||||||||||||
|
59
72-2308018
Болт
В узле: 4
|
|||||||||||||||||||||||||||||||||||||||||||||||||||||||||||||||||||||||||||||||||||||||
| 72-2308018 Болт МТЗ фланца редуктора ПВМ |
|
Под заказ | 520.68 р. | ||||||||||||||||||||||||||||||||||||||||||||||||||||||||||||||||||||||||||||||||||||
|
28
72-2308074
Рычаг правый
В узле: 1
|
|||||||||||||||||||||||||||||||||||||||||||||||||||||||||||||||||||||||||||||||||||||||
| 72-2308074 Рычаг правый МТЗ под ГОРУ, (А) |
|
Под заказ | 1 247.96 р. | ||||||||||||||||||||||||||||||||||||||||||||||||||||||||||||||||||||||||||||||||||||
| 72-2308074 Рычаг правый МТЗ под ГОРУ, БЗТДиА |
|
<10 шт. | 4 118.24 р. | ||||||||||||||||||||||||||||||||||||||||||||||||||||||||||||||||||||||||||||||||||||
|
48
72-2308062
Шестерня
В узле: 2
|
|||||||||||||||||||||||||||||||||||||||||||||||||||||||||||||||||||||||||||||||||||||||
| 72-2308062 Шестерня МТЗ ведомая z=58 |
|
Под заказ | 9 010.72 р. | ||||||||||||||||||||||||||||||||||||||||||||||||||||||||||||||||||||||||||||||||||||
| 72-2308062 Шестерня МТЗ ведомая z=58, (А) |
|
Под заказ | 3 526.75 р. | ||||||||||||||||||||||||||||||||||||||||||||||||||||||||||||||||||||||||||||||||||||
|
34
52-2308014-А2
Корпус правый
В узле: 1
|
|||||||||||||||||||||||||||||||||||||||||||||||||||||||||||||||||||||||||||||||||||||||
| 52-2308014-А2 Корпус правый МТЗ редуктора конечной передачи переднего моста |
|
Под заказ | 14 274.90 р. | ||||||||||||||||||||||||||||||||||||||||||||||||||||||||||||||||||||||||||||||||||||
| 52-2308014-А2 Корпус правый МТЗ редуктора конечной передачи переднего моста, (А) |
|
>10 шт. | 8 034.93 р. | ||||||||||||||||||||||||||||||||||||||||||||||||||||||||||||||||||||||||||||||||||||
|
52-2308110-А2
Корпус редуктора правый
В узле: 1
|
|||||||||||||||||||||||||||||||||||||||||||||||||||||||||||||||||||||||||||||||||||||||
| 52-2308110-А2 Корпус МТЗ правый в сборе |
|
<10 шт. | 20 839.33 р. | ||||||||||||||||||||||||||||||||||||||||||||||||||||||||||||||||||||||||||||||||||||
| 52-2308110-А2 Корпус МТЗ правый в сборе, (А) |
|
<10 шт. | 14 640 р. | ||||||||||||||||||||||||||||||||||||||||||||||||||||||||||||||||||||||||||||||||||||
|
56
72-2308066-Б
Корпус сальника
В узле: 2
|
|||||||||||||||||||||||||||||||||||||||||||||||||||||||||||||||||||||||||||||||||||||||
| 72-2308066-Б Корпус МТЗ сальника, (А) |
|
Под заказ | 274.12 р. | ||||||||||||||||||||||||||||||||||||||||||||||||||||||||||||||||||||||||||||||||||||
| 72-2308066-Б Корпус МТЗ сальника |
|
Под заказ | 1 063.03 р. | ||||||||||||||||||||||||||||||||||||||||||||||||||||||||||||||||||||||||||||||||||||
|
5
52-2308135-01
Полуось с подшипниками в сборе
В узле: 1
|
|||||||||||||||||||||||||||||||||||||||||||||||||||||||||||||||||||||||||||||||||||||||
| 52-2308135-01 Вал МТЗ |
|
<10 шт. | 9 618.22 р. | ||||||||||||||||||||||||||||||||||||||||||||||||||||||||||||||||||||||||||||||||||||
|
12
72-2308046
Винт
В узле: 2
|
|||||||||||||||||||||||||||||||||||||||||||||||||||||||||||||||||||||||||||||||||||||||
| 72-2308046 Винт МТЗ редуктора передачи конечной моста переднего ведущего |
|
<10 шт. | 125.03 р. | ||||||||||||||||||||||||||||||||||||||||||||||||||||||||||||||||||||||||||||||||||||
|
53
82-2308017
Фланец
В узле: 2
|
|||||||||||||||||||||||||||||||||||||||||||||||||||||||||||||||||||||||||||||||||||||||
| 82-2308017 Фланец МТЗ на 8 шпилек, без болтов, (А) |
|
Под заказ | 2 240.90 р. | ||||||||||||||||||||||||||||||||||||||||||||||||||||||||||||||||||||||||||||||||||||
| 82-2308017 Фланец МТЗ на 8 шпилек, без болтов, Беларусь |
|
Под заказ | 7 120.49 р. | ||||||||||||||||||||||||||||||||||||||||||||||||||||||||||||||||||||||||||||||||||||
| 82-2308017 Фланец МТЗ на 8 шпилек, без болтов* |
|
Под заказ | 7 125.85 р. | ||||||||||||||||||||||||||||||||||||||||||||||||||||||||||||||||||||||||||||||||||||
|
30
72-2308075-01
Рычаг левый
В узле: 1
|
|||||||||||||||||||||||||||||||||||||||||||||||||||||||||||||||||||||||||||||||||||||||
| 72-2308075-01 Рычаг левый МТЗ под ГОРУ, (А) |
|
Под заказ | 1 346.34 р. | ||||||||||||||||||||||||||||||||||||||||||||||||||||||||||||||||||||||||||||||||||||
| 72-2308075-01 Рычаг левый МТЗ под ГОРУ, БЗТДиА |
|
<10 шт. | 6 085.25 р. | ||||||||||||||||||||||||||||||||||||||||||||||||||||||||||||||||||||||||||||||||||||
|
4
52-2308135
Вал с подшипниками в сборе
В узле: 1
|
|||||||||||||||||||||||||||||||||||||||||||||||||||||||||||||||||||||||||||||||||||||||
| 52-2308135 Вал МТЗ |
|
<10 шт. | 9 586.86 р. | ||||||||||||||||||||||||||||||||||||||||||||||||||||||||||||||||||||||||||||||||||||
|
21
72-2308098-А
Шайба
В узле: 2
|
|||||||||||||||||||||||||||||||||||||||||||||||||||||||||||||||||||||||||||||||||||||||
| 72-2308098-А Шайба МТЗ редуктора конечной передачи моста переднего |
|
Под заказ | 512.52 р. | ||||||||||||||||||||||||||||||||||||||||||||||||||||||||||||||||||||||||||||||||||||
|
51
72-2308029-Б
Грязевик
В узле: 2
|
|||||||||||||||||||||||||||||||||||||||||||||||||||||||||||||||||||||||||||||||||||||||
| 72-2308029-Б Грязевик МТЗ 5 шпилек |
|
Под заказ | 423.24 р. | ||||||||||||||||||||||||||||||||||||||||||||||||||||||||||||||||||||||||||||||||||||
|
64
72-2308030
Труба шкворня
В узле: 2
|
|||||||||||||||||||||||||||||||||||||||||||||||||||||||||||||||||||||||||||||||||||||||
| 72-2308030 Труба МТЗ шкворня, (А) |
|
Под заказ | 1 990.43 р. | ||||||||||||||||||||||||||||||||||||||||||||||||||||||||||||||||||||||||||||||||||||
|
3
72-2308121-04
Кольцо регулировочное В = 6,40 (к-во дет. - по потребности)
В узле: 2
|
|||||||||||||||||||||||||||||||||||||||||||||||||||||||||||||||||||||||||||||||||||||||
| 72-2308121-04 Кольцо МТЗ регулировочное (6,4мм) |
|
<10 шт. | 206.47 р. | ||||||||||||||||||||||||||||||||||||||||||||||||||||||||||||||||||||||||||||||||||||
|
19
52-2308089-А
Обойма
В узле: 2
|
|||||||||||||||||||||||||||||||||||||||||||||||||||||||||||||||||||||||||||||||||||||||
| 52-2308089-А Обойма МТЗ редуктора конечной передачи |
|
Под заказ | 439.54 р. | ||||||||||||||||||||||||||||||||||||||||||||||||||||||||||||||||||||||||||||||||||||
|
8
52-2308030-А
Крышка
В узле: 2
|
|||||||||||||||||||||||||||||||||||||||||||||||||||||||||||||||||||||||||||||||||||||||
| 52-2308030-А Крышка МТЗ редуктора конечной передачи переднего моста |
|
<10 шт. | 570.91 р. | ||||||||||||||||||||||||||||||||||||||||||||||||||||||||||||||||||||||||||||||||||||
|
52-2308115-А2
Корпус редуктора левый
В узле: 1
|
|||||||||||||||||||||||||||||||||||||||||||||||||||||||||||||||||||||||||||||||||||||||
| 52-2308115-А2 Корпус МТЗ левый в сборе |
|
Под заказ | 20 839.33 р. | ||||||||||||||||||||||||||||||||||||||||||||||||||||||||||||||||||||||||||||||||||||
| 52-2308115-А2 Корпус МТЗ левый в сборе, (А) |
|
Под заказ | 15 860 р. | ||||||||||||||||||||||||||||||||||||||||||||||||||||||||||||||||||||||||||||||||||||
|
3
72-2308121-07
Кольцо регулировочное В=6,85 мм
В узле: 2
|
|||||||||||||||||||||||||||||||||||||||||||||||||||||||||||||||||||||||||||||||||||||||
| 72-2308121-07 Кольцо МТЗ регулировочное (6,85мм) |
|
Под заказ | 206.47 р. | ||||||||||||||||||||||||||||||||||||||||||||||||||||||||||||||||||||||||||||||||||||
|
39
52-2308035
Крышка
В узле: 2
|
|||||||||||||||||||||||||||||||||||||||||||||||||||||||||||||||||||||||||||||||||||||||
| 52-2308035 Крышка МТЗ |
|
Под заказ | 466.65 р. | ||||||||||||||||||||||||||||||||||||||||||||||||||||||||||||||||||||||||||||||||||||
|
3
72-2308121-08
Кольцо регулировочное В=7,00 мм
В узле: 2
|
|||||||||||||||||||||||||||||||||||||||||||||||||||||||||||||||||||||||||||||||||||||||
| 72-2308121-08 Кольцо МТЗ 7мм |
|
Под заказ | 206.47 р. | ||||||||||||||||||||||||||||||||||||||||||||||||||||||||||||||||||||||||||||||||||||
|
53
72-2308070-01
Фланец с болтом в сборе
В узле: 2
|
|||||||||||||||||||||||||||||||||||||||||||||||||||||||||||||||||||||||||||||||||||||||
| 72-2308070-01 Фланец МТЗ с 8 болтами |
|
Под заказ | 8 547.37 р. | ||||||||||||||||||||||||||||||||||||||||||||||||||||||||||||||||||||||||||||||||||||
|
58
72-2308016-Б
Крышка
В узле: 2
|
|||||||||||||||||||||||||||||||||||||||||||||||||||||||||||||||||||||||||||||||||||||||
| 72-2308016-Б Крышка МТЗ редуктора конечной передачи |
|
Под заказ | 7 019.65 р. | ||||||||||||||||||||||||||||||||||||||||||||||||||||||||||||||||||||||||||||||||||||
|
3
72-2308121-09
Кольцо регулировочное В=7,15 мм
В узле: 2
|
|||||||||||||||||||||||||||||||||||||||||||||||||||||||||||||||||||||||||||||||||||||||
| 72-2308121-09 Кольцо МТЗ 7,15мм |
|
Под заказ | 206.47 р. | ||||||||||||||||||||||||||||||||||||||||||||||||||||||||||||||||||||||||||||||||||||
|
34
52-2308015-А2
Корпус левый
В узле: 1
|
|||||||||||||||||||||||||||||||||||||||||||||||||||||||||||||||||||||||||||||||||||||||
| 52-2308015-А2 Корпус левый МТЗ редуктора конечной передачи переднего моста |
|
Под заказ | 14 105.30 р. | ||||||||||||||||||||||||||||||||||||||||||||||||||||||||||||||||||||||||||||||||||||
| 52-2308015-А2 Корпус левый МТЗ редуктора конечной передачи переднего моста, (А) |
|
Под заказ | 9 376.26 р. | ||||||||||||||||||||||||||||||||||||||||||||||||||||||||||||||||||||||||||||||||||||
|
3
72-2308121-06
Кольцо регулировочное В = 6,70 (к-во дет. - по потребности)
В узле: 2
|
|||||||||||||||||||||||||||||||||||||||||||||||||||||||||||||||||||||||||||||||||||||||
| 72-2308121-06 Кольцо МТЗ регулировочное (6,7мм) |
|
Под заказ | 206.47 р. | ||||||||||||||||||||||||||||||||||||||||||||||||||||||||||||||||||||||||||||||||||||
|
3
72-2308121-11
Кольцо регулировочное В=7,45 мм
В узле: 2
|
|||||||||||||||||||||||||||||||||||||||||||||||||||||||||||||||||||||||||||||||||||||||
| 72-2308121-11 Кольцо МТЗ регулировочное (7,45мм) |
|
<10 шт. | 206.47 р. | ||||||||||||||||||||||||||||||||||||||||||||||||||||||||||||||||||||||||||||||||||||
|
72-2308005-08
Редуктор левый
В узле: 1
|
|||||||||||||||||||||||||||||||||||||||||||||||||||||||||||||||||||||||||||||||||||||||
| 72-2308005-08 Редуктор МТЗ переднего моста конечной передачи левый (ГОРУ) (8 шпилек) |
|
Под заказ | 108 646.10 р. | ||||||||||||||||||||||||||||||||||||||||||||||||||||||||||||||||||||||||||||||||||||
|
72-2308010-07
Редуктор правый
В узле: 1
|
|||||||||||||||||||||||||||||||||||||||||||||||||||||||||||||||||||||||||||||||||||||||
| 72-2308010-07 Редуктор МТЗ переднего моста конечной передачи правый (ГОРУ) (8 шпилек) |
|
Под заказ | 108 096.11 р. | ||||||||||||||||||||||||||||||||||||||||||||||||||||||||||||||||||||||||||||||||||||
|
3
72-2308121-10
Кольцо регулировочное В=7,30 мм
В узле: 2
|
|||||||||||||||||||||||||||||||||||||||||||||||||||||||||||||||||||||||||||||||||||||||
| 72-2308121-10 Кольцо МТЗ регулировочное (7,30мм) |
|
Под заказ | 206.47 р. | ||||||||||||||||||||||||||||||||||||||||||||||||||||||||||||||||||||||||||||||||||||
|
36
52-2308060
Шестерня 52-2308061в сборе с подшипниками
В узле: 2
|
|||||||||||||||||||||||||||||||||||||||||||||||||||||||||||||||||||||||||||||||||||||||
| 52-2308060 Шестерня |
|
Под заказ | 5 001.11 р. | ||||||||||||||||||||||||||||||||||||||||||||||||||||||||||||||||||||||||||||||||||||
Содержащиеся в справочниках-каталогах запасные части и детали не предлагаются к продаже, а носят исключительно информационный характер