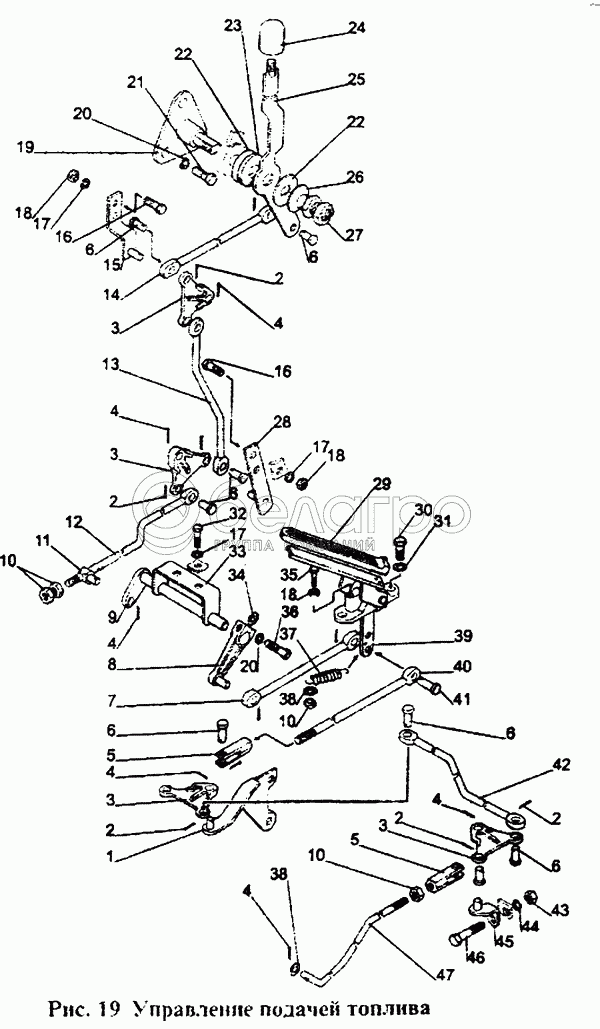
Каталог запасных частей к технике: МТЗ-1221. Управление подачей топлива

zoom-in zoom-out enlarge shrink circle-right circle-left file-text2 info cart arraw right arraw left zoom out zoom in arraw maximize arraw minimize
1
2
2
2
2
2
3
3
3
3
4
4
4
4
4
4
5
5
6
6
6
6
6
6
7
8
9
10
10
11
12
13
14
15
16
16
17
17
17
18
18
18
19
20
20
21
22
22
23
24
25
26
27
28
29
30
31
32
33
34
35
36
37
38
38
39
40
41
42
43
44
45
46
47
29
А13.36.001
Чехол
В узле: 1
А13.36.001 Накладка МТЗ на педаль газа, Беларусь Под заказ 225.82 р.
6
70-1601109-01
Палец
В узле: 9
70-1601109-01 Палец МТЗ Под заказ 73.16 р.
37
70-4803019
Пружина
В узле: 1
70-4803019 Пружина МТЗ, Беларусь Под заказ 71.71 р.
22
80-1108028
Шайба
В узле: 2
80-1108028 Шайба МТЗ механизма управления >10 шт. 34.89 р.
11
70-1108317
Бонка
В узле: 1
70-1108317 Бонка МТЗ Под заказ 88.69 р.
47
1220-1108541
Тяга
В узле: 1
1220-1108541 Тяга МТЗ управления подачей топлива Под заказ 404.36 р.
1
80V-1108545
Кронштейн
В узле: 1
2
2х12
Шплинт
В узле: 9
3
80V-1108506
Рычаг
В узле: 4
4
3,2х18
Шплинт
В узле: 8
5
80V-1108542
Наконечник тяги
В узле: 2
7
80V-1108503
Тяга
В узле: 1
8
80V-1108365
Рычаг
В узле: 1
9
80V-1108360
Вал
В узле: 1
10
М8
Гайка
В узле: 4
12
80V-1108537
Тяга
В узле: 1
13
80V-1198343
Тяга
В узле: 1
14
80V-1108344
Тяга
В узле: 1
15
80V-1108380
Кронштейн
В узле: 1
16
М6х20
Винт
В узле: 4
17
SНР6
Шайба
В узле: 6
18
М6
Гайка
В узле: 5
19
80V-4216105
Кронштейн
В узле: 1
20
SНР8
Шайба
В узле: 4
21
М8х20
Болт
В узле: 3
23
50-1108178
Шайба
В узле: 1
24
А13.11.000-01
Рукоятка
В узле: 1
25
80V-1108350
Рукоятка
В узле: 1
26
80V-1108347
Пружина тарельчатая
В узле: 1
27
М14х1,5
Гайка
В узле: 2
28
80V-1108370
Кронштейн
В узле: 1
30
М10х25
Болт
В узле: 2
31
SНР10
Шайба
В узле: 2
32
М6х12
Винт
В узле: 2
33
80V-1108346
Кронштейн
В узле: 1
34
50.1108044
Шпонка
В узле: 1
35
М6х30
Болт
В узле: 1
36
М8х25
Болт
В узле: 1
38
SНСН8
Шайба
В узле: 2
39
80V-1108510
Педаль
В узле: 1
40
80V-1108526-01
Тяга
В узле: 1
41
8х30
Палец
В узле: 1
42
1220-1108344
Тяга
В узле: 1
43
М12
Гайка
В узле: 1
44
SНР12
Шайба
В узле: 1
45
80V-1108530
Кронштейн
В узле: 1
46
М12х75
Болт
В узле: 1
Содержащиеся в справочниках-каталогах запасные части и детали не предлагаются к продаже, а носят исключительно информационный характер

Ваша заявка была отправлена. В ближайшее время наши специалисты с Вами свяжутся по указанному Вами телефону.

Представьтесь
Поле обязательно для заполнения
Ваш телефон
Введите правильный номер телефона
E-mail
Введите правильный e-mail
Тема
Тема
применяемость финансирование доставка цена, наличие другое сервис и гарантия
Время для звонка
08:00
08:00 09:00 10:00 11:00 12:00 13:00 14:00 15:00 16:00 17:00 18:00 19:00
19:00
08:00 09:00 10:00 11:00 12:00 13:00 14:00 15:00 16:00 17:00 18:00 19:00

Мы постараемся перезвонить в указанное время

Если вы не хотите ждать, то звоните нашим вежливым консультантам:

8 800 100-2-700
Подтвердите, что вы не робот
Подтвердите, что вы не робот
Спасибо!

Ваше сообщение успешно отправлено!

ЗакрытьПовторить попытку