Каталог запасных частей к технике: МТЗ-1221.5. Головка соединительная (для двухпроводного пневмопривода)

zoom-in zoom-out enlarge shrink circle-right circle-left file-text2 info cart arraw right arraw left zoom out zoom in arraw maximize arraw minimize
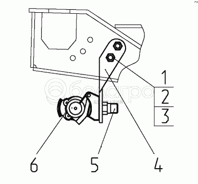
1
2
3
4
5
6
5
1522-3521513
Штуцер
В узле: 1
1522-3521513 Штуцер МТЗ Под заказ 334.45 р.
1025-3521505
Головка соединительная
В узле: 1
1
БолтМ10-6gx25.88.35.019
Болт
В узле: 2
2
ГайкаМ10-6Н.6.019
Гайка
В узле: 2
3
Шайба10.ОТ
Шайба
В узле: 2
4
1025-3521511
Кронштейн
В узле: 1
6
64226-3521110
Головка соединительная
В узле: 1
6
11.3521410-20
Головка соединительная автоматическая
В узле: 1
Содержащиеся в справочниках-каталогах запасные части и детали не предлагаются к продаже, а носят исключительно информационный характер

Ваша заявка была отправлена. В ближайшее время наши специалисты с Вами свяжутся по указанному Вами телефону.

Представьтесь
Поле обязательно для заполнения
Ваш телефон
Введите правильный номер телефона
E-mail
Введите правильный e-mail
Тема
Тема
применяемость финансирование доставка цена, наличие другое сервис и гарантия
Время для звонка
08:00
08:00 09:00 10:00 11:00 12:00 13:00 14:00 15:00 16:00 17:00 18:00 19:00
19:00
08:00 09:00 10:00 11:00 12:00 13:00 14:00 15:00 16:00 17:00 18:00 19:00

Мы постараемся перезвонить в указанное время

Если вы не хотите ждать, то звоните нашим вежливым консультантам:

8 800 100-2-700
Подтвердите, что вы не робот
Подтвердите, что вы не робот
Спасибо!

Ваше сообщение успешно отправлено!

ЗакрытьПовторить попытку