Каталог запасных частей к технике: МТЗ-1222/1523. Установка отопителя-охладителя

zoom-in zoom-out enlarge shrink circle-right circle-left file-text2 info cart arraw right arraw left zoom out zoom in arraw maximize arraw minimize
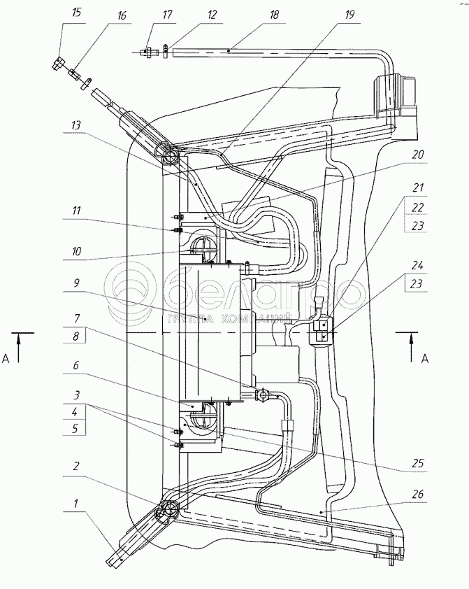
1
2
3
4
5
6
7
8
9
10
11
12
13
15
16
17
18
19
20
21
22
23
23
24
25
26
16
80-8100023
Штуцер
В узле: 1
80-8100023 Штуцер системы охлаждения МТЗ, САЗ Под заказ 83.52 р.
10
1522-8104100
Дефлектор
В узле: 6
1522-8104100 Дефлектор МТЗ Под заказ 437.41 р.
19
3022-8101012
Трубка
В узле: 2
3022-8101012 Трубка МТЗ Под заказ 761.40 р.
25
3022-8101017
Стенка
В узле: 2
3022-8101017 Стенка МТЗ Под заказ 3 228.63 р.
6
3022-8101020
Кронштейн
В узле: 1
3022-8101020 Кронштейн МТЗ Под заказ 679.04 р.
20
3022-8101020-01
Кронштейн
В узле: 1
3022-8101020-01 Кронштейн МТЗ Под заказ 679.04 р.
1
№1090010GN
Шланг
В узле: 1
2
№690006GN
Шланг
В узле: 1
3
ГОСТ7796-70
Болт М8-6gх20.88.35.019
В узле: 10
4
ГОСТ6958-78
Шайба С6.01.08кп.019
В узле: 10
5
ОСТ37.001.115-75
Шайба 8Т
В узле: 10
7
70110FG027
Фитинг
В узле: 1
8
70106FG014
Фитинг
В узле: 1
9
U003CF041E
Климатический блок
В узле: 1
11
80-8102015-03
Шланг L=500 мм
В узле: 1
12
20-32/9-C6W
Хомут NORMA TORRO
В узле: ---
13
3022-8101011
Шланг
В узле: 1
15
3022D-8100007
Штуцер
В узле: 1
17
3022D-8100006
Штуцер
В узле: 1
18
3022-8101011-03
Шланг
В узле: 1
21
0682164
Выключатель вентилятора
В узле: 1
22
067060/1
Табличка темп./скорость
В узле: 1
23
068407/0
Ручка элемента управления
В узле: 2
24
068011/1
Термостат
В узле: 1
26
1522-8101110
Панель
В узле: 1
Содержащиеся в справочниках-каталогах запасные части и детали не предлагаются к продаже, а носят исключительно информационный характер

Ваша заявка была отправлена. В ближайшее время наши специалисты с Вами свяжутся по указанному Вами телефону.

Представьтесь
Поле обязательно для заполнения
Ваш телефон
Введите правильный номер телефона
E-mail
Введите правильный e-mail
Тема
Тема
применяемость финансирование доставка цена, наличие другое сервис и гарантия
Время для звонка
08:00
08:00 09:00 10:00 11:00 12:00 13:00 14:00 15:00 16:00 17:00 18:00 19:00
19:00
08:00 09:00 10:00 11:00 12:00 13:00 14:00 15:00 16:00 17:00 18:00 19:00

Мы постараемся перезвонить в указанное время

Если вы не хотите ждать, то звоните нашим вежливым консультантам:

8 800 100-2-700
Подтвердите, что вы не робот
Подтвердите, что вы не робот
Спасибо!

Ваше сообщение успешно отправлено!

ЗакрытьПовторить попытку