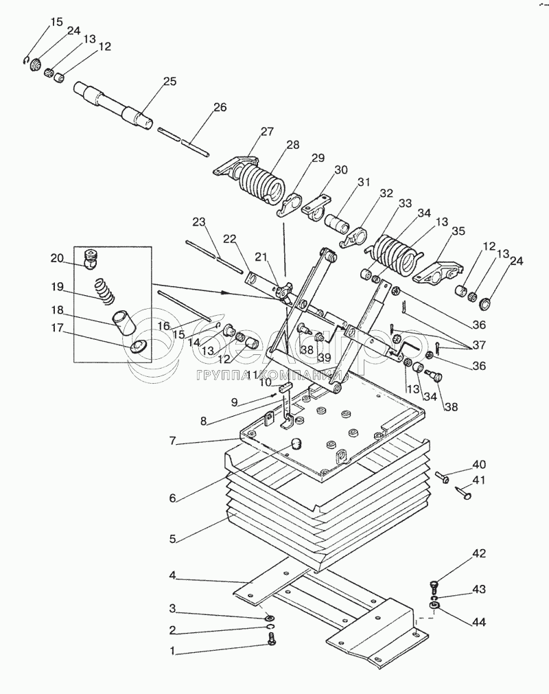
Каталог запасных частей к технике: МТЗ-1522. Сиденье оператора

zoom-in zoom-out enlarge shrink circle-right circle-left file-text2 info cart arraw right arraw left zoom out zoom in arraw maximize arraw minimize
1
2
3
4
5
6
7
8
9
10
11
12
12
12
13
13
13
13
13
14
15
15
16
17
18
19
20
21
22
23
24
24
25
26
27
28
29
30
31
32
33
34
34
35
36
36
37
38
38
39
40
41
42
43
44
6
А61.01.014
Рукоятка
В узле: 1
А61.01.014 Рукоятка МТЗ, Беларусь Под заказ 51.63 р.
34
80В-6801032
Ролик
В узле: 4
80В-6801032 Ролик МТЗ, БЗТДиА Под заказ 140.47 р.
5
80В-6800108
Чехол
В узле: 1
80В-6800108 Чехол МТЗ сиденья, Беларусь Под заказ 1 644.72 р.
38
80В-6801528
Ось
В узле: 6
80В-6801528 Ось МТЗ, БЗТДиА Под заказ 224.98 р.
10
70-4803023
Муфта
В узле: 1
70-4803023 Муфта МТЗ многоцелевая Под заказ 412.51 р.
1
М8х20
Болт
В узле: 4
44
ШП8
Шайба
В узле: 4
43
ШЧ8
Шайба
В узле: 4
4
1522-6800010
Кронштейн
В узле: 1
7
80В-6801560
Основание
В узле: 1
8
80В-6801240
Трос
В узле: 1
9
М5х16
Винт
В узле: 2
11
80В-6801590-В
Рамка
В узле: 1
12
80В-6801512
Втулка
В узле: 4
13
К12х16х13Е
Подшипник
В узле: 8
14
80В-6801033-01
Шайба
В узле: 2
15
70-6801307
Шайба
В узле: 2
16
80В-6801506-01
Ось
В узле: 1
17
80В-6801519
Пята
В узле: 2
18
80В-6801518
Гильза
В узле: 2
19
80В-6801530-В
Пружина
В узле: 2
20
80В-6801521
Упор
В узле: 2
21
80В-6801581
Собачка
В узле: 2
22
80В-6801570
Рамка
В узле: 1
23
80В-6801012
Ось
В узле: 1
24
80В-6801033
Шайба
В узле: 2
25
80В-6801505
Валик
В узле: 1
26
80В-6801506
Ось
В узле: 1
27
80В-6801507-01
Сектор
В узле: 1
28
80В-6801002-01
Пружина
В узле: 1
29
80В-6801004
Крюк
В узле: 1
30
80В-6801001
Кронштейн
В узле: 1
31
80В-6801003
Ось
В узле: 1
32
80В-6801004-01
Крюк
В узле: 1
33
80В-6801002
Пружина
В узле: 1
35
80В-6801507
Сектор
В узле: 1
36
М10
Гайка
В узле: 6
37
2,5х25
Шплинт
В узле: 6
39
80В-6801526
Втулка
В узле: 4
40
70-6700106
Бонка
В узле: 20
41
70-6700107
Клин
В узле: 20
42
М8х30
Болт
В узле: 4
Содержащиеся в справочниках-каталогах запасные части и детали не предлагаются к продаже, а носят исключительно информационный характер

Ваша заявка была отправлена. В ближайшее время наши специалисты с Вами свяжутся по указанному Вами телефону.

Представьтесь
Поле обязательно для заполнения
Ваш телефон
Введите правильный номер телефона
E-mail
Введите правильный e-mail
Тема
Тема
применяемость финансирование доставка цена, наличие другое сервис и гарантия
Время для звонка
08:00
08:00 09:00 10:00 11:00 12:00 13:00 14:00 15:00 16:00 17:00 18:00 19:00
19:00
08:00 09:00 10:00 11:00 12:00 13:00 14:00 15:00 16:00 17:00 18:00 19:00

Мы постараемся перезвонить в указанное время

Если вы не хотите ждать, то звоните нашим вежливым консультантам:

8 800 100-2-700
Подтвердите, что вы не робот
Подтвердите, что вы не робот
Спасибо!

Ваше сообщение успешно отправлено!

ЗакрытьПовторить попытку