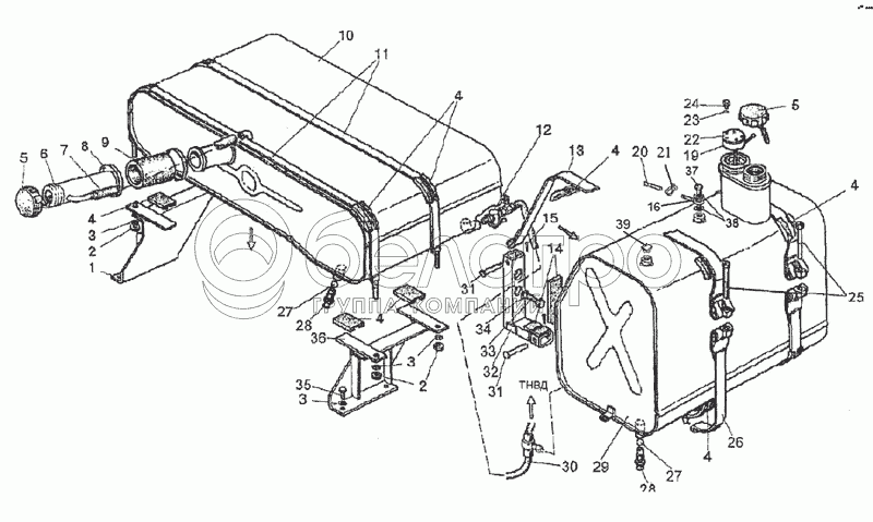
Каталог запасных частей к технике: МТЗ-1523.4. Баки топливные

zoom-in zoom-out enlarge shrink circle-right circle-left file-text2 info cart arraw right arraw left zoom out zoom in arraw maximize arraw minimize
1
2
2
3
3
3
4
4
4
4
4
4
5
5
6
7
8
9
10
11
12
13
14
15
16
19
20
21
22
23
24
25
26
27
27
28
28
29
30
31
31
32
33
34
35
36
37
38
39
5
082-1103010
Пробка
В узле: 2
082-1103010 Пробка топливного бака МТЗ пластмассовая (метал. бак) >10 шт. 68.60 р.
30
920П-1101210-02
Топливопровод
В узле: 1
920П-1101210-02 Топливопровод МТЗ L=3497 мм, БЗТДиА >10 шт. 2 594.76 р.
4
ПР-43-02
Прокладка
В узле: 10
ПР-43-02 Уплотнитель, Беларусь >10 шт. 166.38 р.
28
822-1101081
Штуцер
В узле: 2
822-1101081 Штуцер МТЗ, САЗ <10 шт. 128.82 р.
26
1522-1101140
Лента
В узле: 2
1522-1101140 Лента МТЗ бака топливного (хомут) Под заказ 1 845.90 р.
13
1522-1101140-01
Лента
В узле: 2
1522-1101140-01 Лента МТЗ бака топливного (хомут) Под заказ 1 933.55 р.
10
1522-1101010
Бак
В узле: 1
1522-1101010 (тип1) Бак топливный МТЗ, Беларусь Под заказ 12 258.52 р.
20
3022-1101002-01
Топливопровод
В узле: 2
3022-1101002-01 Топливопровод МТЗ Под заказ 1 026.76 р.
29
1522-1101210
Бак
В узле: 1
1522-1101210 (тип2) Бак МТЗ топливный, Беларусь Под заказ 18 331.96 р.
1
1522-1101080
Кронштейн
В узле: 1
2
М10
Гайка
В узле: 4
3
10 ОТ
Шайба
В узле: 8
6
1522-1101060
Горловина
В узле: 1
7
85-1101002
Трубка
В узле: 1
8
ХС-61
Хомут
В узле: 2
9
70-1101035-Б-01
Рукав
В узле: 1
11
1522-1101090
Хомут
В узле: 2
12
ПП6-1
Кран
В узле: 1
14
1522-1101118
Прокладка
В узле: 4
15
3,2x18
Шплинт
В узле: 4
16
3022-1101113
Штуцер
В узле: 2
19
1522-3806026
Прокладка
В узле: 1
21
16-27
Хомут
В узле: 4
22
ДОТ.6804-02
Датчик объема топлива
В узле: 1
23
80-1101067
Шайба
В узле: 5
24
ВМ5х35
Винт
В узле: 5
25
1522-1101005
Болт
В узле: 2
27
11,112-100
Шарик
В узле: 2
31
1522-1101125
Палец
В узле: 4
32
1522-1101130
Кронштейн
В узле: 2
33
М16х50
Болт
В узле: 4
34
16 ОТ
Шайба
В узле: 4
35
М10х25
Болт
В узле: 4
36
1522-1101070
Кронштейн
В узле: 1
37
Д18-051
Болт
В узле: 1
38
РМ14
Шайба
В узле: 6
39
КГ 1 /8
Пробка
В узле: 1
Содержащиеся в справочниках-каталогах запасные части и детали не предлагаются к продаже, а носят исключительно информационный характер

Ваша заявка была отправлена. В ближайшее время наши специалисты с Вами свяжутся по указанному Вами телефону.

Представьтесь
Поле обязательно для заполнения
Ваш телефон
Введите правильный номер телефона
E-mail
Введите правильный e-mail
Тема
Тема
применяемость финансирование доставка цена, наличие другое сервис и гарантия
Время для звонка
08:00
08:00 09:00 10:00 11:00 12:00 13:00 14:00 15:00 16:00 17:00 18:00 19:00
19:00
08:00 09:00 10:00 11:00 12:00 13:00 14:00 15:00 16:00 17:00 18:00 19:00

Мы постараемся перезвонить в указанное время

Если вы не хотите ждать, то звоните нашим вежливым консультантам:

8 800 100-2-700
Подтвердите, что вы не робот
Подтвердите, что вы не робот
Спасибо!

Ваше сообщение успешно отправлено!

ЗакрытьПовторить попытку