Каталог запасных частей к технике: МТЗ-2022. Привод карданный

zoom-in zoom-out enlarge shrink circle-right circle-left file-text2 info cart arraw right arraw left zoom out zoom in arraw maximize arraw minimize
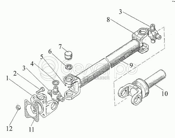
112-2203010
1
2
3
3
4
5
6
7
8
9
10
11
12
3
72-2203025РН
Крестовина с сальниками и подшипниками в сборе
В узле: 1
72-2203025РН Крестовина, Беларусь Под заказ 1 964.87 р.
10
86-2203047
Вилка скользящая
В узле: 1
86-2203047 Вилка МТЗ, Беларусь Под заказ 5 561.54 р.
86-2203047 Вилка МТЗ Под заказ Нет на складе
1
72-2203023
Фланец
В узле: 1
72-2203023 Фланец Под заказ 1 979.85 р.
112-2203010
Вал карданный в сборе
В узле: 1
2
52-2203012-01
Болт
В узле: 4
3
72-2203030-01
Крестовина
В узле: 2
4
3102-2201037
Отражатель
В узле: 8
5
34-2201043
Кольцо стопорное
В узле: 8
6
69-2201031-А
Манжета
В узле: 8
7
704702К3С10
Подшипник
В узле: 8
8
72-2203022
Вилка
В узле: 2
9
112-2203018
Труба
В узле: 1
11
20-2201024
Прокладка
В узле: 1
12
M10x1-8DINEN ISO 10511-98
Гайка
В узле: 4
Содержащиеся в справочниках-каталогах запасные части и детали не предлагаются к продаже, а носят исключительно информационный характер

Ваша заявка была отправлена. В ближайшее время наши специалисты с Вами свяжутся по указанному Вами телефону.

Представьтесь
Поле обязательно для заполнения
Ваш телефон
Введите правильный номер телефона
E-mail
Введите правильный e-mail
Тема
Тема
применяемость финансирование доставка цена, наличие другое сервис и гарантия
Время для звонка
08:00
08:00 09:00 10:00 11:00 12:00 13:00 14:00 15:00 16:00 17:00 18:00 19:00
19:00
08:00 09:00 10:00 11:00 12:00 13:00 14:00 15:00 16:00 17:00 18:00 19:00

Мы постараемся перезвонить в указанное время

Если вы не хотите ждать, то звоните нашим вежливым консультантам:

8 800 100-2-700
Подтвердите, что вы не робот
Подтвердите, что вы не робот
Спасибо!

Ваше сообщение успешно отправлено!

ЗакрытьПовторить попытку