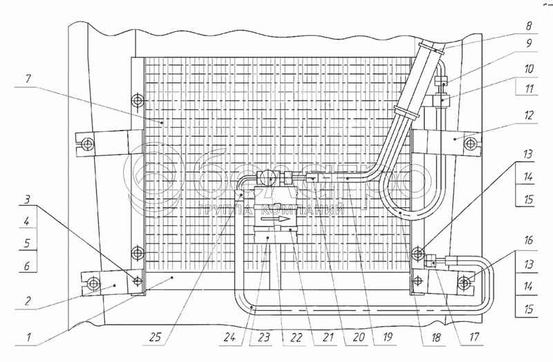
Каталог запасных частей к технике: МТЗ-2022. Установка конденсатора и фильтра-осушителя

zoom-in zoom-out enlarge shrink circle-right circle-left file-text2 info cart arraw right arraw left zoom out zoom in arraw maximize arraw minimize
1
2
3
4
5
6
7
8
9
10
11
12
13
13
14
14
15
15
16
17
18
19
20
21
22
23
24
25
1
3022-8112050
Кронштейн
В узле: 1
3022-8112050 Кронштейн МТЗ Под заказ 3 646.14 р.
2
3022-8112110
Кронштейн
В узле: 1
3022-8112110 Кронштейн МТЗ Под заказ 6 199.54 р.
12
3022-8112110-01
Кронштейн
В узле: 1
3022-8112110-01 Кронштейн МТЗ Под заказ 6 199.54 р.
3
M6-6gx25.88.35.019
Винт
В узле: 2
4
М6-6Н.6.019
Гайка
В узле: 2
5
С6.01.019
Шайба
В узле: 2
6
Шайба
В узле: 2
7
U00022437
Конденсатор
В узле: 1
8
80-3723045-01
Манжета
В узле: 2
9
70108FG095
Фитинг 70108FG095
В узле: 1
10
923-3723012
Хомутик
В узле: 1
11
3022-8100011
Трубка
В узле: 1
13
М8-6Н.6.019
Гайка
В узле: 6
14
С8.01.019
Шайба
В узле: 6
15
Шайба
В узле: 6
16
M8-6gx25.88.35.019
Болт
В узле: 2
17
70106FG056
Фитинг 70106FG056
В узле: 1
18
90008GN1
Шланг
В узле: 1
19
90006 GN1
Шланг
В узле: 1
20
70106 FG039
Фитинг
В узле: 1
21
TORRO 70-90/9-C6W
Хомут
В узле: 2
22
Датчик давления
Датчик давления
В узле: 1
23
017051
Фильтр-осушитель 017051
В узле: 1
24
90006GN1
Шланг
В узле: 1
25
70106FG032
Фитинг
В узле: 1
Содержащиеся в справочниках-каталогах запасные части и детали не предлагаются к продаже, а носят исключительно информационный характер

Ваша заявка была отправлена. В ближайшее время наши специалисты с Вами свяжутся по указанному Вами телефону.

Представьтесь
Поле обязательно для заполнения
Ваш телефон
Введите правильный номер телефона
E-mail
Введите правильный e-mail
Тема
Тема
применяемость финансирование доставка цена, наличие другое сервис и гарантия
Время для звонка
08:00
08:00 09:00 10:00 11:00 12:00 13:00 14:00 15:00 16:00 17:00 18:00 19:00
19:00
08:00 09:00 10:00 11:00 12:00 13:00 14:00 15:00 16:00 17:00 18:00 19:00

Мы постараемся перезвонить в указанное время

Если вы не хотите ждать, то звоните нашим вежливым консультантам:

8 800 100-2-700
Подтвердите, что вы не робот
Подтвердите, что вы не робот
Спасибо!

Ваше сообщение успешно отправлено!

ЗакрытьПовторить попытку