Каталог запасных частей к технике: МТЗ-2022. Установка отопителя-охладителя

zoom-in zoom-out enlarge shrink circle-right circle-left file-text2 info cart arraw right arraw left zoom out zoom in arraw maximize arraw minimize
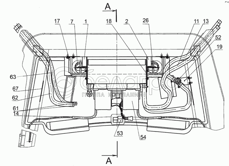
1
2
7
11
13
14
17
18
19
26
52
53
54
61
62
63
27
80-8100012
Заслонка
В узле: 2
80-8100012 Заслонка МТЗ, Беларусь Под заказ 31.02 р.
7
1522-8104100
Дефлектор
В узле: 6
1522-8104100 Дефлектор МТЗ Под заказ 437.41 р.
14
3022-8101012
Трубка
В узле: 2
3022-8101012 Трубка МТЗ Под заказ 761.40 р.
17
3022-8101017
Стенка
В узле: 2
3022-8101017 Стенка МТЗ Под заказ 3 228.63 р.
1
3022-8101020
Кронштейн
В узле: 1
3022-8101020 Кронштейн МТЗ Под заказ 679.04 р.
2
3022-8101020-01
Кронштейн
В узле: 1
3022-8101020-01 Кронштейн МТЗ Под заказ 679.04 р.
3
3022-8101100
Кронштейн
В узле: 2
3022-8101100 Кронштейн МТЗ Под заказ 880.02 р.
9
80-8104060
Фильтр
В узле: 2
80-8104060 Фильтр воздушный кабины МТЗ Под заказ 1 408.76 р.
6
1522-8101110
Панель
В узле: 1
8
80-3805065-01
Винт
В узле: 4
11
3022-8101011
Шланг
В узле: 1
13
3022-8101011-02
Шланг
В узле: 1
18
3022-8101018
Уплотнитель
В узле: 1
19
1522-8101036
Кронштейн
В узле: 1
21
1522-8101013-02
Уплотнитель
В узле: 1
23
1522-8101091-02
Уплотнитель
В узле: 1
25
1522-8104023
Решетка
В узле: 2
26
1522-8104105
Скоба
В узле: 6
29
80-8100011-Б
Крышка
В узле: 1
52
ПО 11
Кран
В узле: 1
53
586415
Выключатель вентилятора
В узле: 1
54
U003CF041E
Климатический блок
В узле: 1
61
TORRO 20-32/9-C6W
Хомут
В узле: 2
62
Шланг №10 90010GN ()
Шланг
В узле: 1
63
Шланг №6 90006GN ()
Шланг
В узле: 1
Содержащиеся в справочниках-каталогах запасные части и детали не предлагаются к продаже, а носят исключительно информационный характер

Ваша заявка была отправлена. В ближайшее время наши специалисты с Вами свяжутся по указанному Вами телефону.

Представьтесь
Поле обязательно для заполнения
Ваш телефон
Введите правильный номер телефона
E-mail
Введите правильный e-mail
Тема
Тема
применяемость финансирование доставка цена, наличие другое сервис и гарантия
Время для звонка
08:00
08:00 09:00 10:00 11:00 12:00 13:00 14:00 15:00 16:00 17:00 18:00 19:00
19:00
08:00 09:00 10:00 11:00 12:00 13:00 14:00 15:00 16:00 17:00 18:00 19:00

Мы постараемся перезвонить в указанное время

Если вы не хотите ждать, то звоните нашим вежливым консультантам:

8 800 100-2-700
Подтвердите, что вы не робот
Подтвердите, что вы не робот
Спасибо!

Ваше сообщение успешно отправлено!

ЗакрытьПовторить попытку