Каталог запасных частей к технике: МТЗ-2103. Каток опорный

zoom-in zoom-out enlarge shrink circle-right circle-left file-text2 info cart arraw right arraw left zoom out zoom in arraw maximize arraw minimize
2103-3204250
1
1
2
3
4
5
6
7
2103-3204250
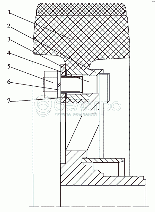
Каток опорный
В узле: 1
1
6370000.01
Шина массивная
В узле: 1
2
2102-3204 020
Ступица
В узле: 1
3
6370000.02
Фланец
В узле: 1
4
2103-3204 013
Болт
В узле: 8
5
M16x1,5-6H. 10.019
Гайка
В узле: 8
6
4598166010
Шайба 16Л
В узле: 8
7
6370000.03
Втулка 4220001-0013
В узле: 8
Содержащиеся в справочниках-каталогах запасные части и детали не предлагаются к продаже, а носят исключительно информационный характер

Ваша заявка была отправлена. В ближайшее время наши специалисты с Вами свяжутся по указанному Вами телефону.

Представьтесь
Поле обязательно для заполнения
Ваш телефон
Введите правильный номер телефона
E-mail
Введите правильный e-mail
Тема
Тема
применяемость финансирование доставка цена, наличие другое сервис и гарантия
Время для звонка
08:00
08:00 09:00 10:00 11:00 12:00 13:00 14:00 15:00 16:00 17:00 18:00 19:00
19:00
08:00 09:00 10:00 11:00 12:00 13:00 14:00 15:00 16:00 17:00 18:00 19:00

Мы постараемся перезвонить в указанное время

Если вы не хотите ждать, то звоните нашим вежливым консультантам:

8 800 100-2-700
Подтвердите, что вы не робот
Подтвердите, что вы не робот
Спасибо!

Ваше сообщение успешно отправлено!

ЗакрытьПовторить попытку