Каталог запасных частей к технике: МТЗ-2103. Колесо направляющее

zoom-in zoom-out enlarge shrink circle-right circle-left file-text2 info cart arraw right arraw left zoom out zoom in arraw maximize arraw minimize
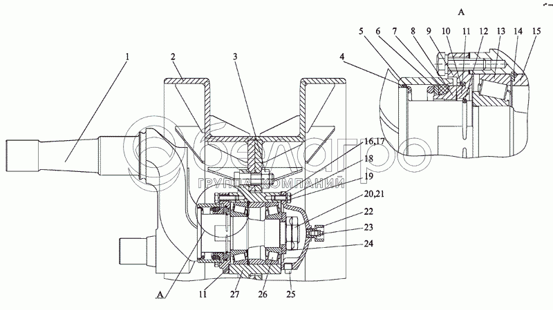
2103-3211110
2103-3211030
1
2
3
4
5
6
7
8
9
10
11
11
12
13
14
15
16
17
18
19
20
21
22
23
24
25
26
27
3
36-3104019
Гайка
В узле: 6
36-3104019 Гайка заднего колеса МТЗ, ЮМЗ под ключ 32 Под заказ Нет на складе
36-3104019 Гайка заднего колеса МТЗ, ЮМЗ под ключ 32, (А) >10 шт. 20.01 р.
2103-3211110
Колесо направляющее
В узле: 1
2102-3211055
Уплотнение
В узле: 1
2103-3211030
Колесо направляющее
В узле: 1
1
1802-3211050
Ось коленчатая
В узле: 1
2
2103-3211120
Диск
В узле: 2
4
1802-3201034-01
Кольцо
В узле: 1
5
1802-3211035
Пружина
В узле: 1
6
1802-3211034
Шайба
В узле: 1
7
1802-3211033
Кольцо
В узле: 1
8
1802-3211032
Кольцо уплотнительное
В узле: 1
9
1802-3211056
Корпус
В узле: 1
10
1802-3201034-02
Кольцо
В узле: 1
11
2102-3211057
Кольцо уплотнительное
В узле: 1
12
1802-3211036
Кольцо запорное
В узле: 1
13
7513
Подшипник
В узле: 1
14
С120
Кольцо
В узле: 1
15
1802-3211039
Втулка распорная
В узле: 1
16
1802-3211037
Крышка
В узле: 1
17
1802-3211038
Прокладка
В узле: 4
18
M10-6gx25.88.35.019
Болт
В узле: 10
19
4598166067
Шайба 10ОТ
В узле: 10
20
1802-3211041
Гайка
В узле: 2
21
1802-3211042
Шайба замковая
В узле: 1
22
2103-3211044
Корпус масленки
В узле: 1
23
1.3 .Ц9.хр
Масленка
В узле: 1
24
1802-3211043
Шайба
В узле: 1
25
"ПК КГ 3/8"""
Пробка
В узле: 1
26
7511
Подшипник
В узле: 1
27
1802-3211130
Ступица
В узле: 1
Содержащиеся в справочниках-каталогах запасные части и детали не предлагаются к продаже, а носят исключительно информационный характер

Ваша заявка была отправлена. В ближайшее время наши специалисты с Вами свяжутся по указанному Вами телефону.

Представьтесь
Поле обязательно для заполнения
Ваш телефон
Введите правильный номер телефона
E-mail
Введите правильный e-mail
Тема
Тема
применяемость финансирование доставка цена, наличие другое сервис и гарантия
Время для звонка
08:00
08:00 09:00 10:00 11:00 12:00 13:00 14:00 15:00 16:00 17:00 18:00 19:00
19:00
08:00 09:00 10:00 11:00 12:00 13:00 14:00 15:00 16:00 17:00 18:00 19:00

Мы постараемся перезвонить в указанное время

Если вы не хотите ждать, то звоните нашим вежливым консультантам:

8 800 100-2-700
Подтвердите, что вы не робот
Подтвердите, что вы не робот
Спасибо!

Ваше сообщение успешно отправлено!

ЗакрытьПовторить попытку