Каталог запасных частей к технике: МТЗ-2522. Цилиндр главный 2022-1602810

zoom-in zoom-out enlarge shrink circle-right circle-left file-text2 info cart arraw right arraw left zoom out zoom in arraw maximize arraw minimize
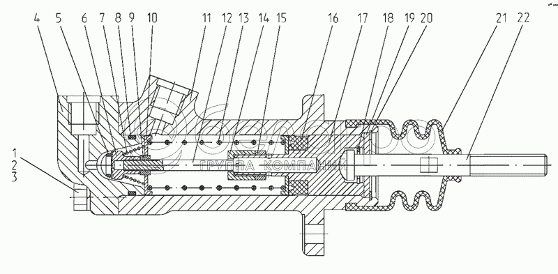
2022-1602810
1
2
3
4
5
6
7
8
9
10
11
12
13
14
15
16
17
18
19
20
21
22
2022-1602810
Цилиндр главный
В узле: 1
1
M8-6gx25.88.35.019
Болт
В узле: 2
2
M8-6gx40.88.35.019
Болт
В узле: 2
3
Шайба
В узле: 4
4
2022-1602812
Крышка
В узле: 1
5
007-011-25-1-6
Кольцо
В узле: 1
6
2022-1602823
Клапан
В узле: 1
7
2022-1602838
Пружина
В узле: 1
8
024-028-25-2-4
Кольцо
В узле: 1
9
М5-6Н.6.019
Гайка ГОСТ 5915-70
В узле: 1
10
2022-1602824
Шайба
В узле: 2
11
2022-1602811
Корпус
В узле: 1
12
2022-1602822
Толкатель
В узле: 1
13
2022-1602841
Пружина
В узле: 1
14
2022-1602827
Гайка накидная
В узле: 1
15
2022-1602826
Гайка
В узле: 1
16
N14-102
Манжета
В узле: 1
17
2022-1602821
Поршень
В узле: 1
18
С16
Шайба
В узле: 1
19
С16.01.019
Шайба
В узле: 1
20
С30
Кольцо
В узле: 1
21
142-1602569
Чехол
В узле: 1
22
2022-1602813
Толкатель
В узле: 1
Содержащиеся в справочниках-каталогах запасные части и детали не предлагаются к продаже, а носят исключительно информационный характер

Ваша заявка была отправлена. В ближайшее время наши специалисты с Вами свяжутся по указанному Вами телефону.

Представьтесь
Поле обязательно для заполнения
Ваш телефон
Введите правильный номер телефона
E-mail
Введите правильный e-mail
Тема
Тема
применяемость финансирование доставка цена, наличие другое сервис и гарантия
Время для звонка
08:00
08:00 09:00 10:00 11:00 12:00 13:00 14:00 15:00 16:00 17:00 18:00 19:00
19:00
08:00 09:00 10:00 11:00 12:00 13:00 14:00 15:00 16:00 17:00 18:00 19:00

Мы постараемся перезвонить в указанное время

Если вы не хотите ждать, то звоните нашим вежливым консультантам:

8 800 100-2-700
Подтвердите, что вы не робот
Подтвердите, что вы не робот
Спасибо!

Ваше сообщение успешно отправлено!

ЗакрытьПовторить попытку