Каталог запасных частей к технике: МТЗ-3522. Кран

zoom-in zoom-out enlarge shrink circle-right circle-left file-text2 info cart arraw right arraw left zoom out zoom in arraw maximize arraw minimize
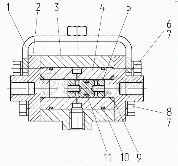
2822-1602100-Б
1
2
3
4
5
6
7
7
8
9
10
11
2822-1602100-Б
Кран
В узле: 1
1
2822-1602110
Кронштейн
В узле: 1
2
2822-1602103-Б
Крышка
В узле: 2
3
2822-1602101-Б
Корпус
В узле: 1
4
2822-1602102
Корпус
В узле: 1
5
2822-1602104
Поршень
В узле: 1
6
БолтМ6-6gх25.58.35.019
Болт
В узле: 4
7
Шайба6Т
Шайба
В узле: 8
8
БолтМ6-6gх20.88.35.019
Болт
В узле: 4
9
OREPDM7001150250
Кольцо
В узле: 2
10
OREPDM7002500200
Кольцо
В узле: 2
11
OREPDM7000800250
Кольцо
В узле: 1
Содержащиеся в справочниках-каталогах запасные части и детали не предлагаются к продаже, а носят исключительно информационный характер

Ваша заявка была отправлена. В ближайшее время наши специалисты с Вами свяжутся по указанному Вами телефону.

Представьтесь
Поле обязательно для заполнения
Ваш телефон
Введите правильный номер телефона
E-mail
Введите правильный e-mail
Тема
Тема
применяемость финансирование доставка цена, наличие другое сервис и гарантия
Время для звонка
08:00
08:00 09:00 10:00 11:00 12:00 13:00 14:00 15:00 16:00 17:00 18:00 19:00
19:00
08:00 09:00 10:00 11:00 12:00 13:00 14:00 15:00 16:00 17:00 18:00 19:00

Мы постараемся перезвонить в указанное время

Если вы не хотите ждать, то звоните нашим вежливым консультантам:

8 800 100-2-700
Подтвердите, что вы не робот
Подтвердите, что вы не робот
Спасибо!

Ваше сообщение успешно отправлено!

ЗакрытьПовторить попытку