Каталог запасных частей к технике: МТЗ-510/512, 520/522. Установка аккумуляторных батарей

zoom-in zoom-out enlarge shrink circle-right circle-left file-text2 info cart arraw right arraw left zoom out zoom in arraw maximize arraw minimize
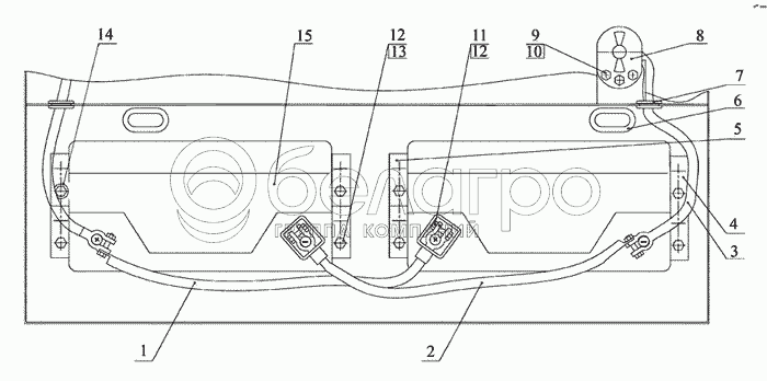
1
2
3
4
5
6
7
8
9
10
11
12
12
13
14
15
3
80-3724043-А
Провод
В узле: 1
80-3724043-А Жгут МТЗ провод-перемычка, L=700мм (клемма на стартер), Беларусь Под заказ 496.02 р.
70-3700080
Электрооборудование
В узле: 1
1
80-3724038-01
Провод
В узле: 1
2
80-3724039-01
Провод
В узле: 1
4
80В-3703020-01
Прижим
В узле: 2
5
80В-3703020-02
Прижим
В узле: 2
6
В50-3801048
Втулка
В узле: 2
7
70-3723042-01
Втулка
В узле: 1
8
3710.115
Выключатель массы ВК318Б-0
В узле: 1
9
M6-6qx16.88.35.019
Болт
В узле: 3
10
С6.01.019
Шайба
В узле: 3
11
M8-6gx30.88.35.019
Болт
В узле: 4
12
М8-6Н.6.019
Гайка
В узле: 12
13
С8.01.019
Шайба
В узле: 8
14
10ОТ
Шайба ОСТ 37.001.115-75
В узле: 8
15
3703.16
Батарея аккумуляторная 12/88
В узле: 2
Содержащиеся в справочниках-каталогах запасные части и детали не предлагаются к продаже, а носят исключительно информационный характер

Ваша заявка была отправлена. В ближайшее время наши специалисты с Вами свяжутся по указанному Вами телефону.

Представьтесь
Поле обязательно для заполнения
Ваш телефон
Введите правильный номер телефона
E-mail
Введите правильный e-mail
Тема
Тема
применяемость финансирование доставка цена, наличие другое сервис и гарантия
Время для звонка
08:00
08:00 09:00 10:00 11:00 12:00 13:00 14:00 15:00 16:00 17:00 18:00 19:00
19:00
08:00 09:00 10:00 11:00 12:00 13:00 14:00 15:00 16:00 17:00 18:00 19:00

Мы постараемся перезвонить в указанное время

Если вы не хотите ждать, то звоните нашим вежливым консультантам:

8 800 100-2-700
Подтвердите, что вы не робот
Подтвердите, что вы не робот
Спасибо!

Ваше сообщение успешно отправлено!

ЗакрытьПовторить попытку