Каталог запасных частей к технике: МТЗ-570. Установка фонарей передних

zoom-in zoom-out enlarge shrink circle-right circle-left file-text2 info cart arraw right arraw left zoom out zoom in arraw maximize arraw minimize
80-3700525-Б/-01
1
2
3
3
4
4
4
5
5
5
6
7
8
80-3700525-Б/-01
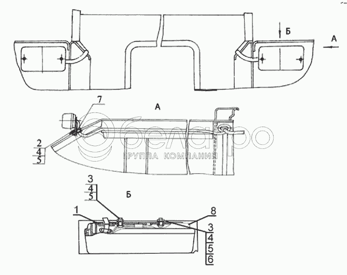
Установка передних фонарей
В узле: 1
1
70-3712054
Кронштейн
В узле: 2
2
M6-6gx14.88.35.019
Болт
В узле: 4
3
B.M6-6gx16.58.019
Винт
В узле: 4
4
M6-6H.6.019
Гайка
В узле: 8
5
С6.01.019
Шайба
В узле: 8
6
Шайба
В узле: 2
7
70-3723042-01
Втулка
В узле: 6
8
3712.45
Фонарь передний
В узле: 2
Содержащиеся в справочниках-каталогах запасные части и детали не предлагаются к продаже, а носят исключительно информационный характер

Ваша заявка была отправлена. В ближайшее время наши специалисты с Вами свяжутся по указанному Вами телефону.

Представьтесь
Поле обязательно для заполнения
Ваш телефон
Введите правильный номер телефона
E-mail
Введите правильный e-mail
Тема
Тема
применяемость финансирование доставка цена, наличие другое сервис и гарантия
Время для звонка
08:00
08:00 09:00 10:00 11:00 12:00 13:00 14:00 15:00 16:00 17:00 18:00 19:00
19:00
08:00 09:00 10:00 11:00 12:00 13:00 14:00 15:00 16:00 17:00 18:00 19:00

Мы постараемся перезвонить в указанное время

Если вы не хотите ждать, то звоните нашим вежливым консультантам:

8 800 100-2-700
Подтвердите, что вы не робот
Подтвердите, что вы не робот
Спасибо!

Ваше сообщение успешно отправлено!

ЗакрытьПовторить попытку