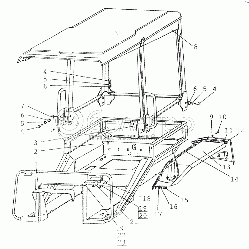
Каталог запасных частей к технике: МТЗ-80 (2002). 6702, 8404 Тент каркас. Основание
1
2
3
4
4
4
5
5
5
6
6
6
7
8
9
9
10
11
12
13
14
15
16
17
18
19
20
21
22
23
|
80-8404020-Б-01
Закрылок правый
В узле: 1
|
|||||||||||||||||||||||||||||||||||||||||||||||||||||||||||||||||||||||||||||||||||||||
| 80-8404020 Б-01 Закрылок МТЗ правый (металл), Беларусь |
|
>10 шт. | 1 780.27 р. | ||||||||||||||||||||||||||||||||||||||||||||||||||||||||||||||||||||||||||||||||||||
|
80-8404011-Б-01
Крыло правое
В узле: 1
|
|||||||||||||||||||||||||||||||||||||||||||||||||||||||||||||||||||||||||||||||||||||||
| 80-8404011Б-01 Крыло заднее МТЗ правое (металл), Беларусь |
|
>10 шт. | 1 640.69 р. | ||||||||||||||||||||||||||||||||||||||||||||||||||||||||||||||||||||||||||||||||||||
|
13
80-8404011-Б
Крыло левое
В узле: 1
|
|||||||||||||||||||||||||||||||||||||||||||||||||||||||||||||||||||||||||||||||||||||||
| 80-8404011Б Крыло заднее МТЗ левое (металл), Беларусь |
|
>10 шт. | 1 640.69 р. | ||||||||||||||||||||||||||||||||||||||||||||||||||||||||||||||||||||||||||||||||||||
|
11
80-8404020-Б
Закрылок левый
В узле: 1
|
|||||||||||||||||||||||||||||||||||||||||||||||||||||||||||||||||||||||||||||||||||||||
| 80-8404020-Б Закрылок кабины МТЗ левый задний пластик, РФ |
|
Под заказ | 3 065.52 р. | ||||||||||||||||||||||||||||||||||||||||||||||||||||||||||||||||||||||||||||||||||||
| 80-8404020Б Закрылок МТЗ левый (металл), Беларусь |
|
Под заказ | 1 780.27 р. | ||||||||||||||||||||||||||||||||||||||||||||||||||||||||||||||||||||||||||||||||||||
|
12
80-8404014-А
Уплотнитель
В узле: 2
|
|||||||||||||||||||||||||||||||||||||||||||||||||||||||||||||||||||||||||||||||||||||||
| 80-8404014-А Уплотнитель крыла МТЗ |
|
Под заказ | 295.75 р. | ||||||||||||||||||||||||||||||||||||||||||||||||||||||||||||||||||||||||||||||||||||
|
14
80-8404013-А
Уплотнитель
В узле: 2
|
|||||||||||||||||||||||||||||||||||||||||||||||||||||||||||||||||||||||||||||||||||||||
| 80-8404013-А Уплотнитель крыла МТЗ |
|
Под заказ | 406.50 р. | ||||||||||||||||||||||||||||||||||||||||||||||||||||||||||||||||||||||||||||||||||||
|
21
85-3712045
Кожух правый
В узле: 1
|
|||||||||||||||||||||||||||||||||||||||||||||||||||||||||||||||||||||||||||||||||||||||
| 85-3712045 Кожух правый МТЗ переднего фонаря |
|
Под заказ | 458.85 р. | ||||||||||||||||||||||||||||||||||||||||||||||||||||||||||||||||||||||||||||||||||||
|
85-3712045-01
Кожух левый
В узле: 1
|
|||||||||||||||||||||||||||||||||||||||||||||||||||||||||||||||||||||||||||||||||||||||
| 85-3712045-01 Кожух левый МТЗ переднего фонаря |
|
Под заказ | 458.85 р. | ||||||||||||||||||||||||||||||||||||||||||||||||||||||||||||||||||||||||||||||||||||
Содержащиеся в справочниках-каталогах запасные части и детали не предлагаются к продаже, а носят исключительно информационный характер