Каталог запасных частей к технике: МТЗ-80 (2009). Головка соединительная (для двухпроводного пневмопривода)

zoom-in zoom-out enlarge shrink circle-right circle-left file-text2 info cart arraw right arraw left zoom out zoom in arraw maximize arraw minimize
64226-3521111
64226-3521110
1
2
3
4
5
5
6
7
7
8
9
10
11
12
13
14
15
64226-3521111
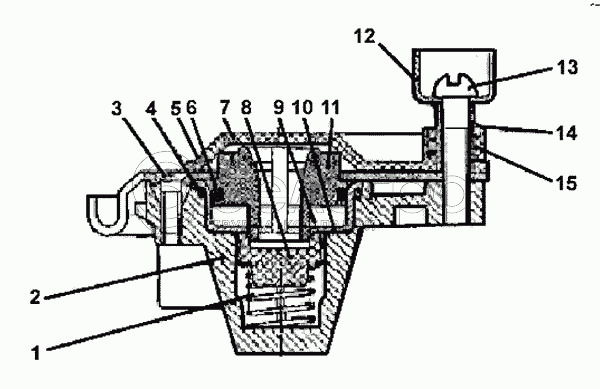
Головка соединительная
В узле: 1
64226-3521110
Головка соединительная
В узле: 1
1
64226-3521148
Пружина
В узле: 1
2
64226-3521124
Корпус
В узле: 1
3
М4х14
Винт
В узле: 2
4
025-030-30
Кольцо
В узле: 1
5
64226-3521127
Крышка
В узле: 1
5
64226-3521126
Крышка
В узле: 1
6
033-036-19-2-2
Кольцо
В узле: 1
7
64226-3521144
Крышка
В узле: 1
7
64226-3521144
Крышка
В узле: 1
8
64226-3521142
Клапан
В узле: 1
9
64226-3521138
Седло
В узле: 1
10
64226-3521136
Чашка
В узле: 1
11
64226-3521134
Поршень
В узле: 1
12
64226-3521117
Направляющая
В узле: 1
13
М6х28
Винт
В узле: 1
14
64226-3521140
Втулка
В узле: 1
15
64226-3521146
Пружина
В узле: 1
Содержащиеся в справочниках-каталогах запасные части и детали не предлагаются к продаже, а носят исключительно информационный характер

Ваша заявка была отправлена. В ближайшее время наши специалисты с Вами свяжутся по указанному Вами телефону.

Представьтесь
Поле обязательно для заполнения
Ваш телефон
Введите правильный номер телефона
E-mail
Введите правильный e-mail
Тема
Тема
применяемость финансирование доставка цена, наличие другое сервис и гарантия
Время для звонка
08:00
08:00 09:00 10:00 11:00 12:00 13:00 14:00 15:00 16:00 17:00 18:00 19:00
19:00
08:00 09:00 10:00 11:00 12:00 13:00 14:00 15:00 16:00 17:00 18:00 19:00

Мы постараемся перезвонить в указанное время

Если вы не хотите ждать, то звоните нашим вежливым консультантам:

8 800 100-2-700
Подтвердите, что вы не робот
Подтвердите, что вы не робот
Спасибо!

Ваше сообщение успешно отправлено!

ЗакрытьПовторить попытку