Каталог запасных частей к технике: МТЗ-80 (2009). Корпус гидроагрегатов и фильтр. Вариант
80-4608010-Б
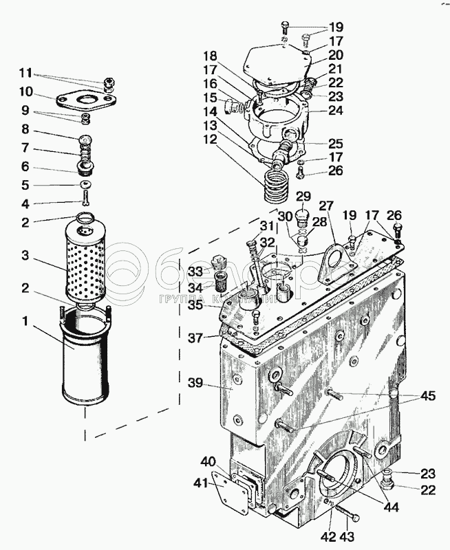
1
2
2
3
4
5
6
7
8
9
10
11
12
13
14
15
16
17
17
17
17
18
19
19
20
21
22
22
23
23
24
25
26
26
27
28
29
30
31
32
33
34
35
37
39
40
41
42
43
44
45
|
23
017-022-30-2-2
Кольцо
В узле: 2
|
|||||||||||||||||||||||||||||||||||||||||||||||||||||||||||||||||||||||||||||||||||||||
| 017-022-30-2-2 Кольцо уплотнительное, Беларусь |
|
Под заказ | 6.58 р. | ||||||||||||||||||||||||||||||||||||||||||||||||||||||||||||||||||||||||||||||||||||
|
2
042-050-46-2-2
Кольцо
В узле: 2
|
|||||||||||||||||||||||||||||||||||||||||||||||||||||||||||||||||||||||||||||||||||||||
| 042-050-46-2-2 Кольцо уплотнительное, Беларусь |
|
<10 шт. | 31.85 р. | ||||||||||||||||||||||||||||||||||||||||||||||||||||||||||||||||||||||||||||||||||||
|
32
011-015-25-2-2
Кольцо
В узле: 2
|
|||||||||||||||||||||||||||||||||||||||||||||||||||||||||||||||||||||||||||||||||||||||
| 011-015-25-2-2 Кольцо уплотнительное, Беларусь |
|
Под заказ | 10.47 р. | ||||||||||||||||||||||||||||||||||||||||||||||||||||||||||||||||||||||||||||||||||||
|
22
50-4608027-В
Пробка
В узле: 2
|
|||||||||||||||||||||||||||||||||||||||||||||||||||||||||||||||||||||||||||||||||||||||
| 50-4608027-В Пробка МТЗ сливная бака гидросистемы , САЗ |
|
<10 шт. | 70.20 р. | ||||||||||||||||||||||||||||||||||||||||||||||||||||||||||||||||||||||||||||||||||||
|
15
85-4608021
Пробка
В узле: 1
|
|||||||||||||||||||||||||||||||||||||||||||||||||||||||||||||||||||||||||||||||||||||||
| 85-4608021 пробка (РБ) |
|
<10 шт. | 106.77 р. | ||||||||||||||||||||||||||||||||||||||||||||||||||||||||||||||||||||||||||||||||||||
|
29
50-4608059
Пробка сапуна
В узле: 1
|
|||||||||||||||||||||||||||||||||||||||||||||||||||||||||||||||||||||||||||||||||||||||
| 50-4608059 Пробка МТЗ сапуна , САЗ |
|
<10 шт. | 133.53 р. | ||||||||||||||||||||||||||||||||||||||||||||||||||||||||||||||||||||||||||||||||||||
|
12
85-4608057
Пружина
В узле: 1
|
|||||||||||||||||||||||||||||||||||||||||||||||||||||||||||||||||||||||||||||||||||||||
| 85-4608057 Пружина МТЗ, Беларусь |
|
Под заказ | 346.43 р. | ||||||||||||||||||||||||||||||||||||||||||||||||||||||||||||||||||||||||||||||||||||
|
А28.04.10.000
Клапан 8.20.004 в сборе
В узле: 1
|
|||||||||||||||||||||||||||||||||||||||||||||||||||||||||||||||||||||||||||||||||||||||
| А28.04.10.000 Клапан МТЗ масляного фильтра |
|
<10 шт. | 1 327.07 р. | ||||||||||||||||||||||||||||||||||||||||||||||||||||||||||||||||||||||||||||||||||||
|
1
А28.04.20.000-А1
Корпус
В узле: 1
|
|||||||||||||||||||||||||||||||||||||||||||||||||||||||||||||||||||||||||||||||||||||||
| А28.04.20.000-А1 Корпус МТЗ фильтра бака масляного |
|
Под заказ | 2 028.04 р. | ||||||||||||||||||||||||||||||||||||||||||||||||||||||||||||||||||||||||||||||||||||
|
34
А61-С06-А3
Фильтр
В узле: 1
|
|||||||||||||||||||||||||||||||||||||||||||||||||||||||||||||||||||||||||||||||||||||||
| А61-С06-А3 Фильтр гидробака МТЗ управления рулевого |
|
<10 шт. | 423.24 р. | ||||||||||||||||||||||||||||||||||||||||||||||||||||||||||||||||||||||||||||||||||||
|
20
85-4608022
Крышка
В узле: 1
|
|||||||||||||||||||||||||||||||||||||||||||||||||||||||||||||||||||||||||||||||||||||||
| 85-4608022 Крышка гидробака МТЗ |
|
Под заказ | 658.47 р. | ||||||||||||||||||||||||||||||||||||||||||||||||||||||||||||||||||||||||||||||||||||
|
10
А28.04.00.001
Ограничитель
В узле: 1
|
|||||||||||||||||||||||||||||||||||||||||||||||||||||||||||||||||||||||||||||||||||||||
| А28.04.00.001 Ограничитель корпуса МТЗ масляного фильтра |
|
<10 шт. | 75.13 р. | ||||||||||||||||||||||||||||||||||||||||||||||||||||||||||||||||||||||||||||||||||||
|
28
50-4608063
Фильтр
В узле: 1
|
|||||||||||||||||||||||||||||||||||||||||||||||||||||||||||||||||||||||||||||||||||||||
| 50-4608063 Фильтр МТЗ |
|
Под заказ | 9.20 р. | ||||||||||||||||||||||||||||||||||||||||||||||||||||||||||||||||||||||||||||||||||||
|
30
50-4608062
Шайба сапуна
В узле: 2
|
|||||||||||||||||||||||||||||||||||||||||||||||||||||||||||||||||||||||||||||||||||||||
| 50-4608062 Шайба МТЗ сапуна |
|
Под заказ | 14.07 р. | ||||||||||||||||||||||||||||||||||||||||||||||||||||||||||||||||||||||||||||||||||||
|
13
85-4607034
Штуцер
В узле: 1
|
|||||||||||||||||||||||||||||||||||||||||||||||||||||||||||||||||||||||||||||||||||||||
| 85-4607034 Штуцер МТЗ |
|
Под заказ | 583.33 р. | ||||||||||||||||||||||||||||||||||||||||||||||||||||||||||||||||||||||||||||||||||||
Содержащиеся в справочниках-каталогах запасные части и детали не предлагаются к продаже, а носят исключительно информационный характер