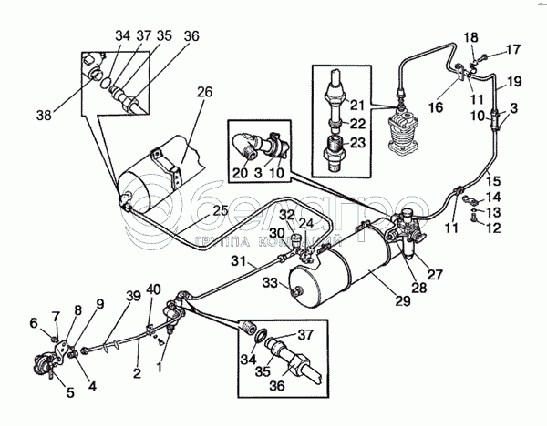
Каталог запасных частей к технике: МТЗ-826. Трубопроводы и арматура однопроводного пневмопривода тормозов прицепа
80М-3506005/-01/-02
80-3506005-05/-06/-07
923-3506020
80-3506455
80-3506220
1
1
2
3
3
4
5
5
6
7
8
9
10
10
11
11
12
13
14
15
16
17
18
19
20
21
22
23
24
25
26
27
27
28
29
30
31
32
33
34
34
35
35
36
36
37
37
38
39
40
|
10
70-1405013
Шланг
В узле: 2
|
|||||||||||||||||||||||||||||||||||||||||||||||||||||||||||||||||||||||||||||||||||||||
| 70-1405013 Шланг МТЗ масляного радиатора (14х23-1,6), (У) |
|
>10 шт. | 117.66 р. | ||||||||||||||||||||||||||||||||||||||||||||||||||||||||||||||||||||||||||||||||||||
|
1
80-3514010
Кран тормозной
В узле: 1
|
|||||||||||||||||||||||||||||||||||||||||||||||||||||||||||||||||||||||||||||||||||||||
| 80-3514010 Кран тормозной МТЗ (А29.61.000) (А) |
|
>10 шт. | 2 014 р. | ||||||||||||||||||||||||||||||||||||||||||||||||||||||||||||||||||||||||||||||||||||
| 80-3514010 Кран тормозной МТЗ (А29.61.000) (ТАИМ) |
|
Под заказ | 4 069.09 р. | ||||||||||||||||||||||||||||||||||||||||||||||||||||||||||||||||||||||||||||||||||||
|
33
ДАДВ
Датчик аварийного давления воздуха
В узле: 1
|
|||||||||||||||||||||||||||||||||||||||||||||||||||||||||||||||||||||||||||||||||||||||
| ДАДВ Датчик давления аварийный воздуха, (А) |
|
Под заказ | 107.60 р. | ||||||||||||||||||||||||||||||||||||||||||||||||||||||||||||||||||||||||||||||||||||
| ДАДВ Датчик давления МТЗ, Амкодор аварийный воздуха(АДЮИ.407529.002), Беларусь |
|
>10 шт. | 597.76 р. | ||||||||||||||||||||||||||||||||||||||||||||||||||||||||||||||||||||||||||||||||||||
|
23
70-3506022
Штуцер
В узле: 1
|
|||||||||||||||||||||||||||||||||||||||||||||||||||||||||||||||||||||||||||||||||||||||
| 70-3506022 Штуцер МТЗ ввертный, САЗ |
|
>10 шт. | 121.38 р. | ||||||||||||||||||||||||||||||||||||||||||||||||||||||||||||||||||||||||||||||||||||
|
27
80-3512010
Регулятор давления
В узле: 1
|
|||||||||||||||||||||||||||||||||||||||||||||||||||||||||||||||||||||||||||||||||||||||
| 80-3512010 Регулятор давления тормозов МТЗ (А29.51.000) (А) |
|
Под заказ | 2 269.70 р. | ||||||||||||||||||||||||||||||||||||||||||||||||||||||||||||||||||||||||||||||||||||
| 80-3512010 Регулятор давления тормозов МТЗ (А29.51.000) |
|
Под заказ | 6 986.94 р. | ||||||||||||||||||||||||||||||||||||||||||||||||||||||||||||||||||||||||||||||||||||
|
11
70-3506027
Втулка
В узле: 2
|
|||||||||||||||||||||||||||||||||||||||||||||||||||||||||||||||||||||||||||||||||||||||
| 70-3506027 Втулка МТЗ, Беларусь |
|
Под заказ | 9.62 р. | ||||||||||||||||||||||||||||||||||||||||||||||||||||||||||||||||||||||||||||||||||||
|
21
70-3506023
Гайка накидная
В узле: 1
|
|||||||||||||||||||||||||||||||||||||||||||||||||||||||||||||||||||||||||||||||||||||||
| 70-3506023 Гайка МТЗ накидная, САЗ* |
|
<10 шт. | 84.98 р. | ||||||||||||||||||||||||||||||||||||||||||||||||||||||||||||||||||||||||||||||||||||
|
34
012-015-19-2-4
Кольцо
В узле: 4
|
|||||||||||||||||||||||||||||||||||||||||||||||||||||||||||||||||||||||||||||||||||||||
| 012-015-19-2-4 Кольцо уплотнительное, Беларусь |
|
Под заказ | 10.78 р. | ||||||||||||||||||||||||||||||||||||||||||||||||||||||||||||||||||||||||||||||||||||
|
14
70-6804011
Держатель
В узле: 2
|
|||||||||||||||||||||||||||||||||||||||||||||||||||||||||||||||||||||||||||||||||||||||
| 70-6804011 Держатель МТЗ, БЗТДиА |
|
Под заказ | 69.61 р. | ||||||||||||||||||||||||||||||||||||||||||||||||||||||||||||||||||||||||||||||||||||
|
20
70-3513015
Угольник
В узле: 1
|
|||||||||||||||||||||||||||||||||||||||||||||||||||||||||||||||||||||||||||||||||||||||
| 70-3513015 Угольник МТЗ аппаратуры тормозной |
|
Под заказ | 509.21 р. | ||||||||||||||||||||||||||||||||||||||||||||||||||||||||||||||||||||||||||||||||||||
|
80-3506220
Трубопровод
В узле: 1
|
|||||||||||||||||||||||||||||||||||||||||||||||||||||||||||||||||||||||||||||||||||||||
| 80-3506220 Трубопровод МТЗ механизма управления тормозами |
|
Под заказ | 1 316.35 р. | ||||||||||||||||||||||||||||||||||||||||||||||||||||||||||||||||||||||||||||||||||||
|
5
80-3521010
Головка соединительная
В узле: 1
|
|||||||||||||||||||||||||||||||||||||||||||||||||||||||||||||||||||||||||||||||||||||||
| 80-3521010 Головка соединительная тормозных шлангов МТЗ (ТАИМ) |
|
Под заказ | 1 430.21 р. | ||||||||||||||||||||||||||||||||||||||||||||||||||||||||||||||||||||||||||||||||||||
|
29
80-3513010
Баллон
В узле: 1
|
|||||||||||||||||||||||||||||||||||||||||||||||||||||||||||||||||||||||||||||||||||||||
| 80-3513010 Баллон воздушный МТЗ ресивер |
|
Под заказ | 5 657.34 р. | ||||||||||||||||||||||||||||||||||||||||||||||||||||||||||||||||||||||||||||||||||||
|
30
80-3513025
Тройник
В узле: 1
|
|||||||||||||||||||||||||||||||||||||||||||||||||||||||||||||||||||||||||||||||||||||||
| 80-3513025 Тройник МТЗ |
|
Под заказ | 2 150.17 р. | ||||||||||||||||||||||||||||||||||||||||||||||||||||||||||||||||||||||||||||||||||||
|
8
70-3521012
Кронштейн
В узле: 1
|
|||||||||||||||||||||||||||||||||||||||||||||||||||||||||||||||||||||||||||||||||||||||
| 70-3521012 Кронштейн МТЗ головки соединительной тормоза |
|
Под заказ | 407.54 р. | ||||||||||||||||||||||||||||||||||||||||||||||||||||||||||||||||||||||||||||||||||||
|
19
80-3506221
Трубопровод
В узле: 1
|
|||||||||||||||||||||||||||||||||||||||||||||||||||||||||||||||||||||||||||||||||||||||
| 80-3506221 Трубопровод МТЗ механизма управления тормозами |
|
Под заказ | 775.15 р. | ||||||||||||||||||||||||||||||||||||||||||||||||||||||||||||||||||||||||||||||||||||
|
22
80-3506024
Муфта
В узле: 1
|
|||||||||||||||||||||||||||||||||||||||||||||||||||||||||||||||||||||||||||||||||||||||
| 80-3506024 Муфта МТЗ |
|
Под заказ | 65.23 р. | ||||||||||||||||||||||||||||||||||||||||||||||||||||||||||||||||||||||||||||||||||||
|
38
1522-3514033
Угольник
В узле: 1
|
|||||||||||||||||||||||||||||||||||||||||||||||||||||||||||||||||||||||||||||||||||||||
| 1522-3514033 Угольник МТЗ |
|
Под заказ | 649.50 р. | ||||||||||||||||||||||||||||||||||||||||||||||||||||||||||||||||||||||||||||||||||||
Содержащиеся в справочниках-каталогах запасные части и детали не предлагаются к продаже, а носят исключительно информационный характер