Каталог запасных частей к технике: Wirax Копатель картофеля. Транспортерный элеватор

zoom-in zoom-out enlarge shrink circle-right circle-left file-text2 info cart arraw right arraw left zoom out zoom in arraw maximize arraw minimize
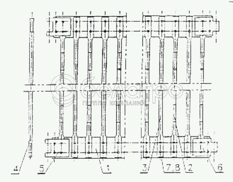
1
2
3
4
5
6
7
8
1
ZK2-5/1
Лента тканевая прорезиненная
В узле: 2
2
ZK2-5/2
Пруток изогнутый
В узле: 35
3
ZK2-5/3
Пруток прямой
В узле: 35
4
ZK2-5/4
Пруток соединительный
В узле: 1
5
ZK2-5/5
Шарнир соединяющий наружный
В узле: 1
6
ZK2-5/6
Шарнир соединяющий внутренний
В узле: 1
7
ZK2-5/7
Шайба
В узле: 136
8
PN88/М-82954
Заклепка
В узле: 288
Содержащиеся в справочниках-каталогах запасные части и детали не предлагаются к продаже, а носят исключительно информационный характер

Ваша заявка была отправлена. В ближайшее время наши специалисты с Вами свяжутся по указанному Вами телефону.

Представьтесь
Поле обязательно для заполнения
Ваш телефон
Введите правильный номер телефона
E-mail
Введите правильный e-mail
Тема
Тема
применяемость финансирование доставка цена, наличие другое сервис и гарантия
Время для звонка
08:00
08:00 09:00 10:00 11:00 12:00 13:00 14:00 15:00 16:00 17:00 18:00 19:00
19:00
08:00 09:00 10:00 11:00 12:00 13:00 14:00 15:00 16:00 17:00 18:00 19:00

Мы постараемся перезвонить в указанное время

Если вы не хотите ждать, то звоните нашим вежливым консультантам:

8 800 100-2-700
Подтвердите, что вы не робот
Подтвердите, что вы не робот
Спасибо!

Ваше сообщение успешно отправлено!

ЗакрытьПовторить попытку