Каталог запасных частей к технике: Wirax Z069. Кожух 1

zoom-in zoom-out enlarge shrink circle-right circle-left file-text2 info cart arraw right arraw left zoom out zoom in arraw maximize arraw minimize
1
2
3
4
5
6
7
8
9
10
10
11
12
13
14
15
16
17
18
18
19
20
21
21
22
22
23
24
24
25
26
27
27
28
28
28
29
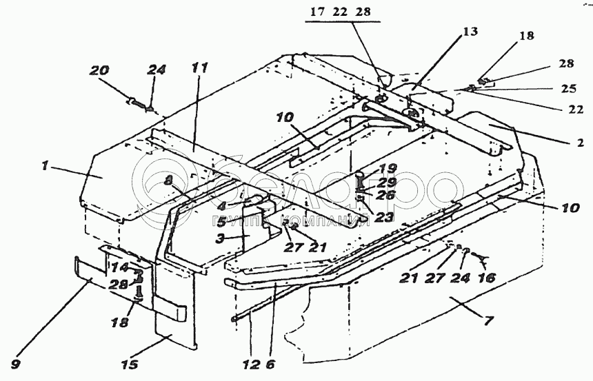
Кожух
Кожух, комплект
В узле: ---
1
8245-036-030-216
Передний кожух
В узле: 1
2
8245-036-030-229
Задний кожух
В узле: 1
3
8245-036-030-040
Стойка
В узле: 2
4
8245-036-030-053
Дистанционная шайба
В узле: 2
5
8245-036-030-066
Шайба
В узле: 2
6
8245-036-030-068
Задняя левая дуга
В узле: 1
7
8245-036-030-196
Задний фартук
В узле: 1
8
8245-036-030-285
Передняя левая дуга
В узле: 1
9
8245-036-030-101
Кожух, комплект.
В узле: 1
10
8245-036-030-272
Правая дуга
В узле: 2
11
8245-036-030-244
Рейка
В узле: 2
12
8245-036-030-257
Угольник
В узле: 1
13
8245-036-030-053
Средний кожух
В узле: 2
14
8245-036-030-170
Круглая шайба
В узле: 2
15
8245-036-030-183
Передний фартук
В узле: 1
16
PN-85/M-82105
Винт
В узле: 33
17
PN-85/M-82105
Винт
В узле: 4
18
PN-85/M-82105
Винт
В узле: 4
19
PN-85/M-82105
Винт
В узле: 19
20
PN-85/M-82105
Винт
В узле: 2
21
PN-86/M-82144
Гайка
В узле: 35
22
PN-86/M-82144
Гайка
В узле: 6
23
PN-86/M-82144
Гайка
В узле: 19
24
PN-59/M-82030
Круглая шайба
В узле: 35
25
PN-59/M-82030
Круглая шайба
В узле: 2
26
PN-59/M-82030
Круглая шайба
В узле: 16
27
PN-77/M-82008
Пружинная шайба
В узле: 35
28
PN-77/M-82008
Пружинная шайба
В узле: 8
29
PN-77/M-82008
Пружинная шайба
В узле: 19
Содержащиеся в справочниках-каталогах запасные части и детали не предлагаются к продаже, а носят исключительно информационный характер

Ваша заявка была отправлена. В ближайшее время наши специалисты с Вами свяжутся по указанному Вами телефону.

Представьтесь
Поле обязательно для заполнения
Ваш телефон
Введите правильный номер телефона
E-mail
Введите правильный e-mail
Тема
Тема
применяемость финансирование доставка цена, наличие другое сервис и гарантия
Время для звонка
08:00
08:00 09:00 10:00 11:00 12:00 13:00 14:00 15:00 16:00 17:00 18:00 19:00
19:00
08:00 09:00 10:00 11:00 12:00 13:00 14:00 15:00 16:00 17:00 18:00 19:00

Мы постараемся перезвонить в указанное время

Если вы не хотите ждать, то звоните нашим вежливым консультантам:

8 800 100-2-700
Подтвердите, что вы не робот
Подтвердите, что вы не робот
Спасибо!

Ваше сообщение успешно отправлено!

ЗакрытьПовторить попытку