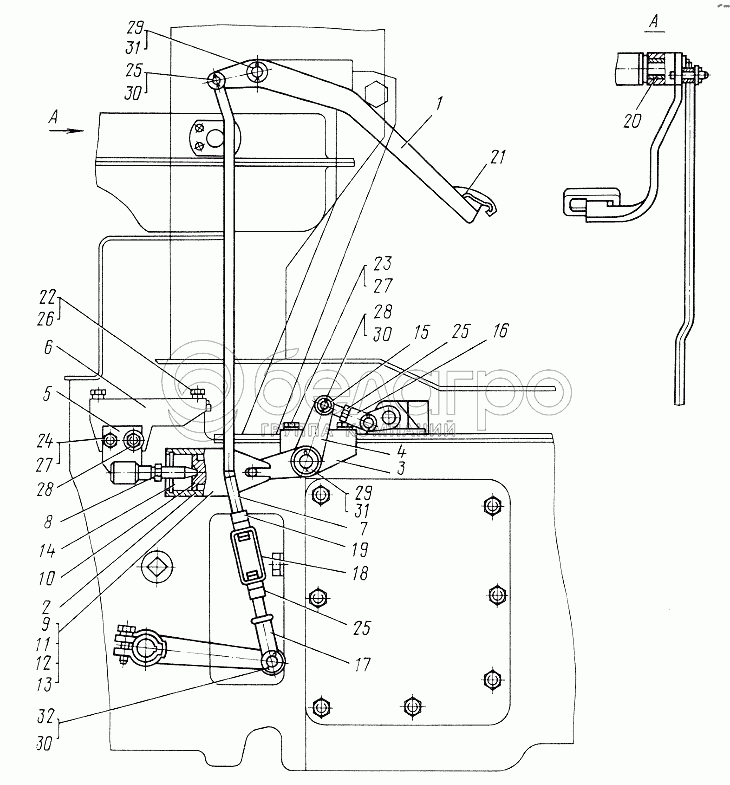
Каталог запасных частей к технике: ЮМЗ-6КЛ, (6КМ). Привод муфты сцепления

zoom-in zoom-out enlarge shrink circle-right circle-left file-text2 info cart arraw right arraw left zoom out zoom in arraw maximize arraw minimize
1
2
3
4
5
6
7
7
8
9
10
11
12
13
14
15
16
17
18
19
20
21
22
23
24
25
25
25
26
27
27
28
28
29
29
30
30
30
31
31
32
45Т-1602190-В-01
Тяга
В узле: 1
45-1602190-Г-01
Тяга
В узле: 1
45Т-1602210-01
Тяга
В узле: 1
45-1602090
Сервоусилитель
В узле: 1
45Т-1602010-В-03
Привод муфты сцепления
В узле: 1
45Т-1602010-В-01
Привод муфты сцепления
В узле: 1
45Т-1602200-01
Кронштейн
В узле: 1
36-3503036-А
Вилка тяги регулировочная
В узле: 1
1
45Т-1602120-В-01
Педаль
В узле: 1
2
45-1602140
Стакан сервоусилителя
В узле: 1
3
45Т-1602170-А-01
Кронштейн
В узле: 1
4
45Т-1602180-01
Рычаг
В узле: 1
5
45Т-1602220-01
Кронштейн
В узле: 1
6
45Т-1602250-01
Кронштейн
В узле: 1
7
45-1602290-1
Тяга
В узле: 1
7
45Т-1602290-В-01
Тяга
В узле: 1
8
45-1602023-Б
Винт сервоусилителя
В узле: 1
9
45-1602092
Шайба
В узле: 1
10
45-1602093-А
Упор
В узле: 1
11
45-1602094
Пружина малая
В узле: 1
12
45-1602095
Пружина большая
В узле: 1
13
45-1602096
Пружина
В узле: 1
14
45-1602097
Кольцо пружинное
В узле: 1
15
45Т-1602211
Тяга
В узле: 1
16
45Т-1602212
Наконечник
В узле: 1
17
45-1602430
Вилка тяги
В узле: 1
18
45Т-4616052
Муфта
В узле: 1
19
45-3503131
Гайка
В узле: 1
20
45-6800054
Втулка
В узле: 4
21
А13.33.002-02
Чехол
В узле: 1
22
М8х25.7796
Болт
В узле: 2
23
М10х30.7796
Болт
В узле: 2
24
М10.5915
Гайка
В узле: 2
25
М12х1,25.5915
Гайка
В узле: 2
26
8.65Г
Шайба
В узле: 2
27
10.65Г
Шайба
В узле: 4
28
12.02
Шайба
В узле: 6
29
20.02
Шайба
В узле: 2
30
3,2х20
Шплинт
В узле: 5
31
4х40
Шплинт
В узле: 2
32
6-12В12х32
Ось
В узле: 1
Содержащиеся в справочниках-каталогах запасные части и детали не предлагаются к продаже, а носят исключительно информационный характер

Ваша заявка была отправлена. В ближайшее время наши специалисты с Вами свяжутся по указанному Вами телефону.

Представьтесь
Поле обязательно для заполнения
Ваш телефон
Введите правильный номер телефона
E-mail
Введите правильный e-mail
Тема
Тема
применяемость финансирование доставка цена, наличие другое сервис и гарантия
Время для звонка
08:00
08:00 09:00 10:00 11:00 12:00 13:00 14:00 15:00 16:00 17:00 18:00 19:00
19:00
08:00 09:00 10:00 11:00 12:00 13:00 14:00 15:00 16:00 17:00 18:00 19:00

Мы постараемся перезвонить в указанное время

Если вы не хотите ждать, то звоните нашим вежливым консультантам:

8 800 100-2-700
Подтвердите, что вы не робот
Подтвердите, что вы не робот
Спасибо!

Ваше сообщение успешно отправлено!

ЗакрытьПовторить попытку