Каталог запасных частей к технике: ЧТЗ Бульдозер Б11. Гидроцилиндр

zoom-in zoom-out enlarge shrink circle-right circle-left file-text2 info cart arraw right arraw left zoom out zoom in arraw maximize arraw minimize
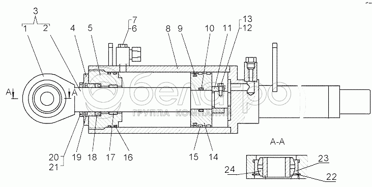
1
2
3
4
5
6
7
8
9
10
11
12
13
14
15
16
17
18
19
20
21
50-50-226СП
Гидроцилиндр
В узле: ---
1
50-50-151
Проушина
В узле: ---
2
50-50-197
Шток
В узле: ---
3
50-50-172
Шток
В узле: ---
3
50-50-189СП
Шток
В узле: ---
4
50-50-228-01
Фланец
В узле: ---
5
50-50-226
Крышка
В узле: ---
6
700-41-3543
Пробка
В узле: ---
7
40911
Кольцо
В узле: ---
8
50-50-188СП
Корпус
В узле: ---
9
Е13М-160-5
Уплотнение Е13М-160-5
В узле: ---
10
700-40-7936
Кольцо
В узле: ---
11
50-50-155
Гайка
В узле: ---
12
700-35-2164
Винт стопорный
В узле: ---
13
Шайба2.12.01.05
Шайба
В узле: ---
14
50-50-227
Поршень
В узле: ---
15
Е21-160-15-4,0
Кольцо Е21-160-15-4,0
В узле: ---
16
700-40-7937
Кольцо
В узле: ---
17
Е22-080-30-3,0
Кольцо Е22-080-30-3,0
В узле: ---
18
Е32-080-4
Манжета Е32-080-4
В узле: ---
19
ГрязесъемникЕ50-А-080-5
Грязесъемник Е50-А-080-5
В узле: ---
20
28579
Болт
В узле: ---
21
Шайба12.ОТ.65Г.09Г
Шайба 12.ОТ.65Г.09 Г
В узле: ---
Содержащиеся в справочниках-каталогах запасные части и детали не предлагаются к продаже, а носят исключительно информационный характер

Ваша заявка была отправлена. В ближайшее время наши специалисты с Вами свяжутся по указанному Вами телефону.

Представьтесь
Поле обязательно для заполнения
Ваш телефон
Введите правильный номер телефона
E-mail
Введите правильный e-mail
Тема
Тема
применяемость финансирование доставка цена, наличие другое сервис и гарантия
Время для звонка
08:00
08:00 09:00 10:00 11:00 12:00 13:00 14:00 15:00 16:00 17:00 18:00 19:00
19:00
08:00 09:00 10:00 11:00 12:00 13:00 14:00 15:00 16:00 17:00 18:00 19:00

Мы постараемся перезвонить в указанное время

Если вы не хотите ждать, то звоните нашим вежливым консультантам:

8 800 100-2-700
Подтвердите, что вы не робот
Подтвердите, что вы не робот
Спасибо!

Ваше сообщение успешно отправлено!

ЗакрытьПовторить попытку