Каталог запасных частей к технике: ЧТЗ Бульдозер Б11. Сервомеханизм управления поворотом

zoom-in zoom-out enlarge shrink circle-right circle-left file-text2 info cart arraw right arraw left zoom out zoom in arraw maximize arraw minimize
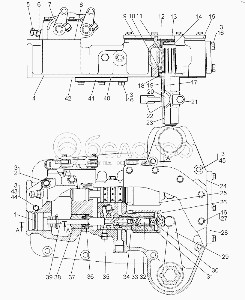
1
2
3
3
3
3
3
4
5
6
7
8
9
10
11
12
13
14
15
16
16
16
17
18
19
20
21
22
23
24
25
26
27
28
29
30
31
32
33
34
35
36
37
38
39
40
41
64-17-2СП
Сервомеханизм
В узле: ---
1
18-17-9
Заглушка
В узле: ---
2
БолтМ10-6gх70.58.019
Болт М10-6gх70.58.019
В узле: ---
3
Шайба10.ОТ.65Г.09
Шайба 10.ОТ.65Г.09
В узле: ---
4
50-17-104СП
Корпус
В узле: ---
5
700-28-2520
Болт
В узле: ---
6
ГайкаМ12-7Н.6.019
Гайка
В узле: ---
7
64-17-107-01СП
Корпус
В узле: ---
8
700-40-7141
Прокладка
В узле: ---
9
21-17-27-1
Крышка
В узле: ---
10
21-17-22
Втулка
В узле: ---
11
17310
Муфта
В узле: ---
12
042-050-46-2-5
Кольцо 042-050-46-2-5
В узле: ---
13
17311
Заглушка
В узле: ---
14
0295
Заглушка
В узле: ---
15
700-40-5959
Прокладка
В узле: ---
16
БолтМ10-6gх30.58
Болт М10-6gх30.58
В узле: ---
17
50-17-25
Валик
В узле: ---
18
700-40-4532
Кольцо-прокладка
В узле: ---
19
50-11-37
Втулка
В узле: ---
20
700-34-2029
Шпонка
В узле: ---
21
2826
Болт
В узле: ---
22
50-17-24
Рычаг
В узле: ---
23
50-11-36
Втулка
В узле: ---
24
40714-1
Прокладка
В узле: ---
25
21-17-21
Поршень
В узле: ---
26
17303-1
Гильза
В узле: ---
27
40912
Кольцо
В узле: ---
28
50-17-5
Крышка
В узле: ---
29
17482
Рычаг
В узле: ---
30
700-38-2319
Пружина
В узле: ---
31
21-17-36
Золотник
В узле: ---
32
700-32-2202
Штифт
В узле: ---
33
38301
Пружина
В узле: ---
34
Б10-200
Шарик Б10-200
В узле: ---
35
371
Пробка
В узле: ---
36
17329
Кольцо
В узле: ---
37
700-40-9455
Манжета
В узле: ---
38
21-17-44
Втулка
В узле: ---
39
64-17-111СП
Толкатель
В узле: ---
40
700-40-7187
Прокладка
В узле: ---
41
50-17-11
Крышка
В узле: ---
Содержащиеся в справочниках-каталогах запасные части и детали не предлагаются к продаже, а носят исключительно информационный характер

Ваша заявка была отправлена. В ближайшее время наши специалисты с Вами свяжутся по указанному Вами телефону.

Представьтесь
Поле обязательно для заполнения
Ваш телефон
Введите правильный номер телефона
E-mail
Введите правильный e-mail
Тема
Тема
применяемость финансирование доставка цена, наличие другое сервис и гарантия
Время для звонка
08:00
08:00 09:00 10:00 11:00 12:00 13:00 14:00 15:00 16:00 17:00 18:00 19:00
19:00
08:00 09:00 10:00 11:00 12:00 13:00 14:00 15:00 16:00 17:00 18:00 19:00

Мы постараемся перезвонить в указанное время

Если вы не хотите ждать, то звоните нашим вежливым консультантам:

8 800 100-2-700
Подтвердите, что вы не робот
Подтвердите, что вы не робот
Спасибо!

Ваше сообщение успешно отправлено!

ЗакрытьПовторить попытку