Каталог запасных частей к технике: ЧТЗ Бульдозер Б11. Установка подогревателя HYDRONIC L35-24V

zoom-in zoom-out enlarge shrink circle-right circle-left file-text2 info cart arraw right arraw left zoom out zoom in arraw maximize arraw minimize
1
1
2
3
4
4
4
5
5
5
5
5
6
6
6
6
7
8
8
8
9
10
11
12
13
14
15
16
16
17
17
18
19
19
20
21
22
22
23
24
25
26
27
28
29
30
31
32
33
34
35
36
37
38
39
40
41
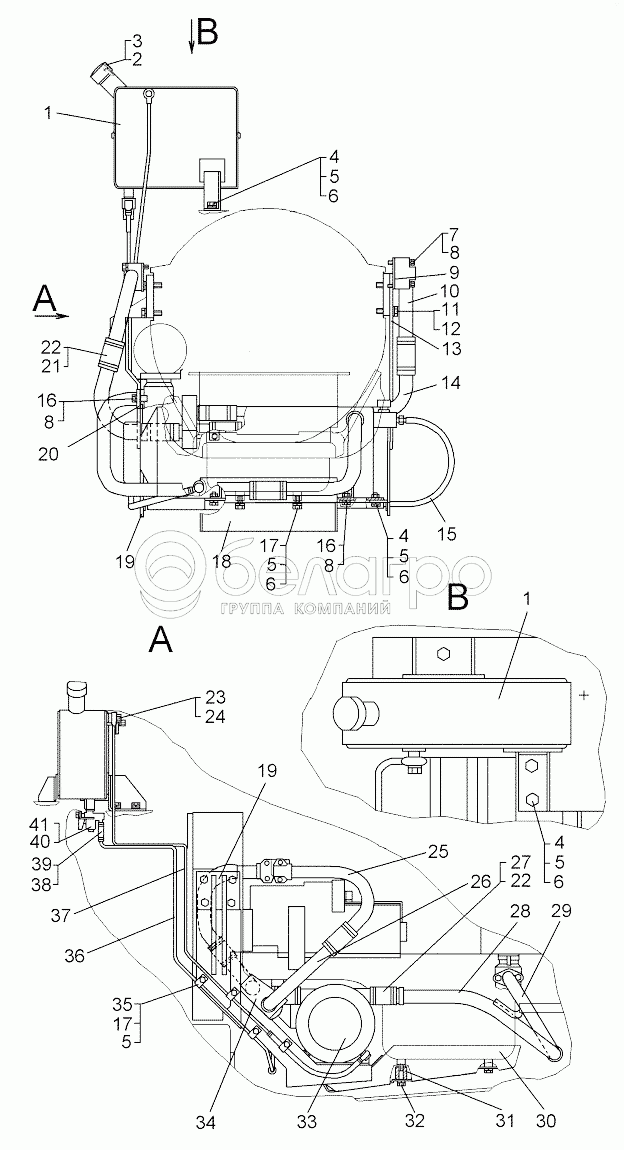
64-43-20-01CП
Установка подогревателя
В узле: ---
1
114-43-101СП
Бак
В узле: ---
2
40269
Прокладка
В узле: ---
3
05719СП
Пробка
В узле: ---
4
БолтМ10-6gх25.58.019
Болт
В узле: ---
5
Шайба10Т.65Г.09
Шайба 10Т.65Г.09
В узле: ---
6
31308-1
Шайба
В узле: ---
7
БолтМ8-6gх50.58.019
Болт
В узле: ---
8
Шайба8Т.65Г.09
Шайба 8Т.65Г.09
В узле: ---
9
700-40-8718
Прокладка
В узле: ---
10
64-43-278СП
Патрубок
В узле: ---
11
БолтМ14-6gх40.58.019
Болт
В узле: ---
12
Шайба14.ОТ.65Г.09
Шайба 14.ОТ.65Г.09
В узле: ---
13
64-43-273СП
Кронштейн
В узле: ---
14
64-43-353
Труба
В узле: ---
15
700-46-2356-01
Рукав
В узле: ---
16
БолтМ8-6gх20.88.35.019
Болт
В узле: ---
17
БолтМ10-6gх20.58.019
Болт
В узле: ---
18
64-43-271СП
Плита
В узле: ---
19
64-43-274СП
Кронштейн
В узле: ---
20
700-40-9522
Прокладка
В узле: ---
21
700-40-3645
Рукав
В узле: ---
22
Хому32-50/12W2 т
Хомут червячный 32-50/12 W2
В узле: ---
23
700-28-2457
Болт поворотного угольника
В узле: ---
24
12х18МН4152-62
Кольцо 12х18 МН 4152-62
В узле: ---
25
64-43-277СП
Патрубок
В узле: ---
26
64-43-354
Труба
В узле: ---
27
700-46-2346-01
Рукав
В узле: ---
28
64-43-276СП
Труба
В узле: ---
29
64-43-275СП
Труба
В узле: ---
30
64-43-272СП
Газоход
В узле: ---
31
64-43-215
Втулка
В узле: ---
32
БолтМ10-6gх50.58.019
Болт М10-6gх50.58.019
В узле: ---
33
L35-24B-25-2489-050000
Отопитель
В узле: ---
34
64-43-279СП
Коробка
В узле: ---
35
41638
Хомутик
В узле: ---
36
64-43-284СП
Трубка
В узле: ---
37
64-43-285СП
Трубка
В узле: ---
38
Хомут8-16/9 W2
Хомут червячный 8-16/9 W2
В узле: ---
39
700-46-2356
Рукав
В узле: ---
40
14х20МН4152-62
Кольцо 14х20 МН 4152-62
В узле: ---
41
ПП3-2-0
Кран ПП3-2-0
В узле: ---
Содержащиеся в справочниках-каталогах запасные части и детали не предлагаются к продаже, а носят исключительно информационный характер

Ваша заявка была отправлена. В ближайшее время наши специалисты с Вами свяжутся по указанному Вами телефону.

Представьтесь
Поле обязательно для заполнения
Ваш телефон
Введите правильный номер телефона
E-mail
Введите правильный e-mail
Тема
Тема
применяемость финансирование доставка цена, наличие другое сервис и гарантия
Время для звонка
08:00
08:00 09:00 10:00 11:00 12:00 13:00 14:00 15:00 16:00 17:00 18:00 19:00
19:00
08:00 09:00 10:00 11:00 12:00 13:00 14:00 15:00 16:00 17:00 18:00 19:00

Мы постараемся перезвонить в указанное время

Если вы не хотите ждать, то звоните нашим вежливым консультантам:

8 800 100-2-700
Подтвердите, что вы не робот
Подтвердите, что вы не робот
Спасибо!

Ваше сообщение успешно отправлено!

ЗакрытьПовторить попытку