Каталог запасных частей к технике: ЧТЗ Бульдозер Б11. Заглушки

zoom-in zoom-out enlarge shrink circle-right circle-left file-text2 info cart arraw right arraw left zoom out zoom in arraw maximize arraw minimize
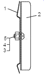
1
2
3
4
5
114-59-120СП
Заглушка
В узле: ---
114-59-120-01СП
Заглушка
В узле: ---
1
114-59-63
Пружина
В узле: ---
2
114-59-62
Пластина
В узле: ---
3
Шайба6Т.65Г.09
Шайба 6Т.65Г.09
В узле: ---
4
ГайкаМ4-7Н.6.016
Гайка М4-7Н.6.016
В узле: ---
5
ВинтВ.М4-6gх12.58.016
Винт В.М4-6gх12.58.016
В узле: ---
Содержащиеся в справочниках-каталогах запасные части и детали не предлагаются к продаже, а носят исключительно информационный характер

Ваша заявка была отправлена. В ближайшее время наши специалисты с Вами свяжутся по указанному Вами телефону.

Представьтесь
Поле обязательно для заполнения
Ваш телефон
Введите правильный номер телефона
E-mail
Введите правильный e-mail
Тема
Тема
применяемость финансирование доставка цена, наличие другое сервис и гарантия
Время для звонка
08:00
08:00 09:00 10:00 11:00 12:00 13:00 14:00 15:00 16:00 17:00 18:00 19:00
19:00
08:00 09:00 10:00 11:00 12:00 13:00 14:00 15:00 16:00 17:00 18:00 19:00

Мы постараемся перезвонить в указанное время

Если вы не хотите ждать, то звоните нашим вежливым консультантам:

8 800 100-2-700
Подтвердите, что вы не робот
Подтвердите, что вы не робот
Спасибо!

Ваше сообщение успешно отправлено!

ЗакрытьПовторить попытку