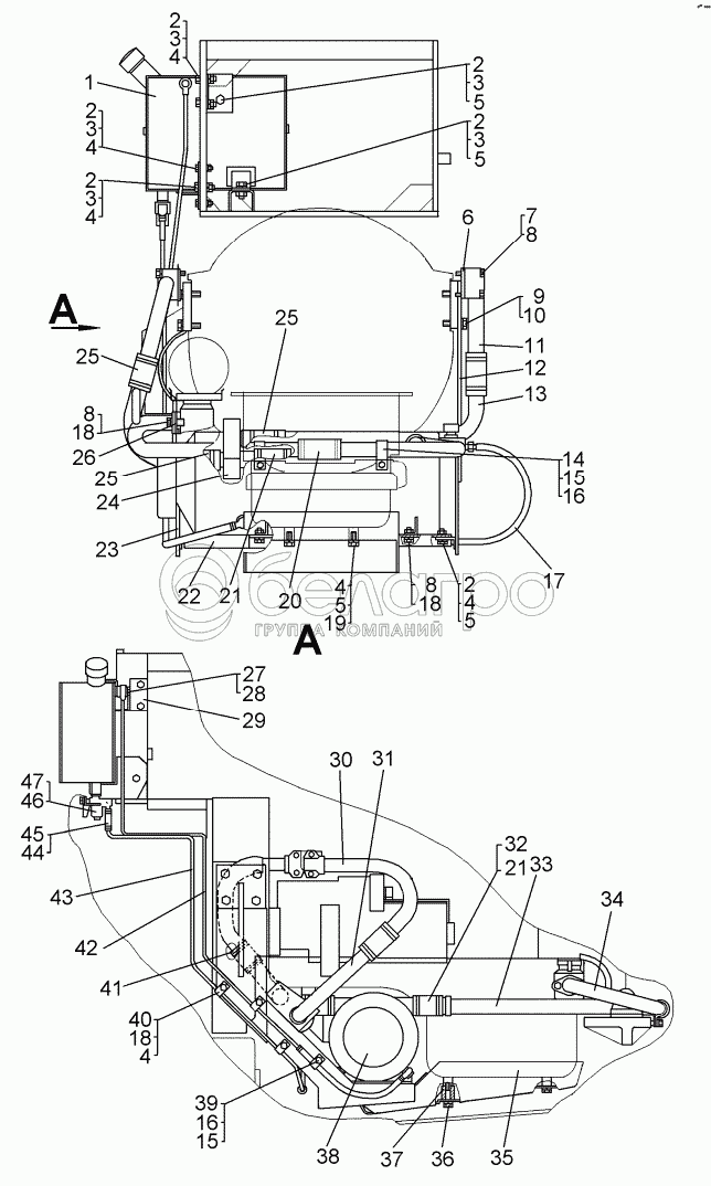
Каталог запасных частей к технике: ЧТЗ Бульдозер Б12. Установка подогревателя HYDRONIC 35

zoom-in zoom-out enlarge shrink circle-right circle-left file-text2 info cart arraw right arraw left zoom out zoom in arraw maximize arraw minimize
1
2
2
2
2
2
2
3
3
3
3
3
4
4
4
4
4
4
5
5
5
5
6
7
8
8
8
9
10
11
12
13
14
15
15
16
16
17
18
18
18
19
20
21
21
22
23
24
25
25
25
26
27
28
29
30
31
32
33
34
35
36
37
38
39
40
41
42
43
44
45
46
47
1
700-04-628СП
Бак
В узле: 1
2
БолтМ10-6gx25.58.019
Болт
В узле: 9
3
ГайкаМ10-7Н.6.019
Гайка
В узле: 4
4
Шайба10ОТ65Г09
Шайба
В узле: 17
5
31308
Шайба
В узле: 10
6
700-40-8718
Прокладка
В узле: 2
7
БолтМ8-6gx50.58.019
Болт
В узле: 4
8
Шайба8Т65Г09
Шайба
В узле: 10
9
БолтМ14-6gx40.58.019
Болт
В узле: 8
10
Шайба14ОТ65Г09
Шайба
В узле: 8
11
700-04-625СП
Патрубок
В узле: 1
12
700-04-620СП
Кронштейн
В узле: 1
13
700-04-1021
Труба
В узле: 1
14
700-54-201-19
Хомутик
В узле: 4
15
БолтМ6-6gx12.88.35.019
Болт
В узле: 5
16
Шайба6Т65Г09
Шайба
В узле: 3
17
700-46-2344
Рукав
В узле: ---
18
БолтМ8-6gx20.88.35.019
Болт
В узле: 6
19
БолтМ10-6gx20.58.019
Болт
В узле: 5
20
700-46-2223
Рукав
В узле: 1
21
700-40-3686
Рукав
В узле: 2
22
700-04-618СП
Плита
В узле: 1
23
700-04-621СП
Кронштейн
В узле: 1
24
700-04-632СП
Коробка
В узле: 1
25
700-40-3645-01
Рукав
В узле: 3
26
700-40-9522
Прокладка
В узле: 1
27
700-04-2457
Болт поворотного угольника
В узле: 1
28
Кольцо12x18
Кольцо
В узле: 2
29
700-04-1031
Кронштейн
В узле: 1
30
700-04-624СП
Патрубок
В узле: 1
31
700-04-1022
Труба
В узле: 1
32
SGT32-50/9
Хомут червячный
В узле: 14
33
700-04-623СП
Труба
В узле: 1
34
700-04-622СП
Труба
В узле: 1
35
700-04-619СП
Газоход
В узле: 1
36
64-43-215
Втулка
В узле: 2
37
БолтМ10-6gx50.58.019
Болт
В узле: 2
38
HYDRONIC35-24В
Подогреватель
В узле: 1
39
700-54-233
Скоба
В узле: 1
40
41638
Хомутик
В узле: 3
41
700-40-3645
Рукав
В узле: 1
42
700-04-672СП
Трубка
В узле: 1
43
700-04-671СП
Трубка
В узле: 1
44
SGT12-22/9
Хомут червячный
В узле: 6
45
700-46-2344-01
Рукав
В узле: 1
46
Кольцо14x20
Кольцо
В узле: 1
47
КранКр-12Д
Кран
В узле: 1
Содержащиеся в справочниках-каталогах запасные части и детали не предлагаются к продаже, а носят исключительно информационный характер

Ваша заявка была отправлена. В ближайшее время наши специалисты с Вами свяжутся по указанному Вами телефону.

Представьтесь
Поле обязательно для заполнения
Ваш телефон
Введите правильный номер телефона
E-mail
Введите правильный e-mail
Тема
Тема
применяемость финансирование доставка цена, наличие другое сервис и гарантия
Время для звонка
08:00
08:00 09:00 10:00 11:00 12:00 13:00 14:00 15:00 16:00 17:00 18:00 19:00
19:00
08:00 09:00 10:00 11:00 12:00 13:00 14:00 15:00 16:00 17:00 18:00 19:00

Мы постараемся перезвонить в указанное время

Если вы не хотите ждать, то звоните нашим вежливым консультантам:

8 800 100-2-700
Подтвердите, что вы не робот
Подтвердите, что вы не робот
Спасибо!

Ваше сообщение успешно отправлено!

ЗакрытьПовторить попытку