Каталог запасных частей к технике: ЧТЗ Бульдозер Б14. Механизм управления тормозами

zoom-in zoom-out enlarge shrink circle-right circle-left file-text2 info cart arraw right arraw left zoom out zoom in arraw maximize arraw minimize
1
2
3
3
4
5
6
7
8
9
10
11
12
13
14
14
15
16
17
18
19
20
21
22
23
24
25
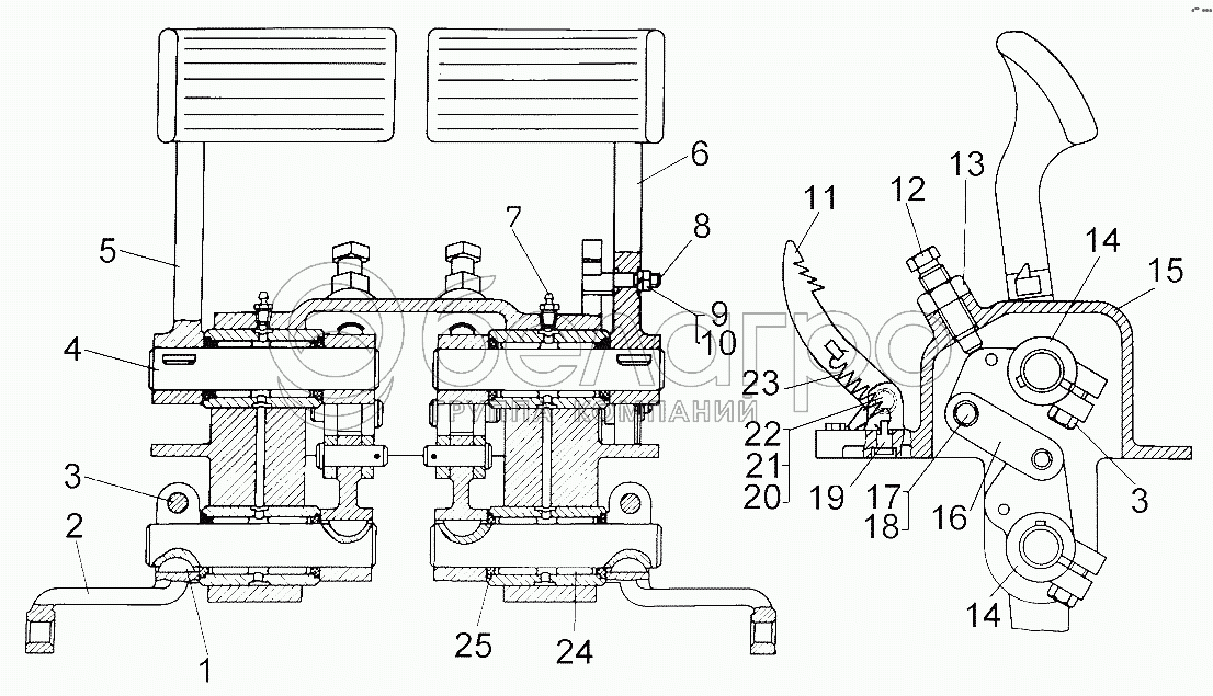
114-13-101СП
Механизм управления тормозами
В узле: ---
1
700-34-2040
Шпонка
В узле: ---
1
Шпонка6х9
Шпонка 6х9
В узле: ---
2
64-13-79
Рычаг
В узле: ---
3
БолтМ10х30.58.019
БолтМ10х30.58.019
В узле: ---
4
64-13-66
Валик
В узле: ---
5
64-13-67
Педаль
В узле: ---
6
64-13-68
Педаль
В узле: ---
7
Масленка1.3.Ц6
Масленка
В узле: ---
8
35-13-15
Зуб
В узле: ---
9
ГайкаМ8.6.019
Гайка
В узле: ---
10
31386
Шайба
В узле: ---
11
64-13-70
Защелка
В узле: ---
12
50-15-57
Упор
В узле: ---
13
700-30-2417
Гайка
В узле: ---
14
64-13-72
Рычаг
В узле: ---
15
114-13-102СП
Корпус
В узле: ---
16
64-13-71
Серьга
В узле: ---
17
17317
Палец
В узле: ---
18
Шплинт3,2х25
Шплинт 3,2х25
В узле: ---
19
64-13-138
Зацеп
В узле: ---
20
35-13-20
Палец
В узле: ---
21
3135-1
Шайба
В узле: ---
22
Шплинт2х14
Шплинт 2х14
В узле: ---
23
700-38-2089
Пружина
В узле: ---
24
943/25
Подшипник
В узле: ---
25
700-42-2502
Кольцо
В узле: ---
Содержащиеся в справочниках-каталогах запасные части и детали не предлагаются к продаже, а носят исключительно информационный характер

Ваша заявка была отправлена. В ближайшее время наши специалисты с Вами свяжутся по указанному Вами телефону.

Представьтесь
Поле обязательно для заполнения
Ваш телефон
Введите правильный номер телефона
E-mail
Введите правильный e-mail
Тема
Тема
применяемость финансирование доставка цена, наличие другое сервис и гарантия
Время для звонка
08:00
08:00 09:00 10:00 11:00 12:00 13:00 14:00 15:00 16:00 17:00 18:00 19:00
19:00
08:00 09:00 10:00 11:00 12:00 13:00 14:00 15:00 16:00 17:00 18:00 19:00

Мы постараемся перезвонить в указанное время

Если вы не хотите ждать, то звоните нашим вежливым консультантам:

8 800 100-2-700
Подтвердите, что вы не робот
Подтвердите, что вы не робот
Спасибо!

Ваше сообщение успешно отправлено!

ЗакрытьПовторить попытку