Каталог запасных частей к технике: ЧТЗ Бульдозер Б14. Оборудование рыхлительное 12Р, 12Н

zoom-in zoom-out enlarge shrink circle-right circle-left file-text2 info cart arraw right arraw left zoom out zoom in arraw maximize arraw minimize
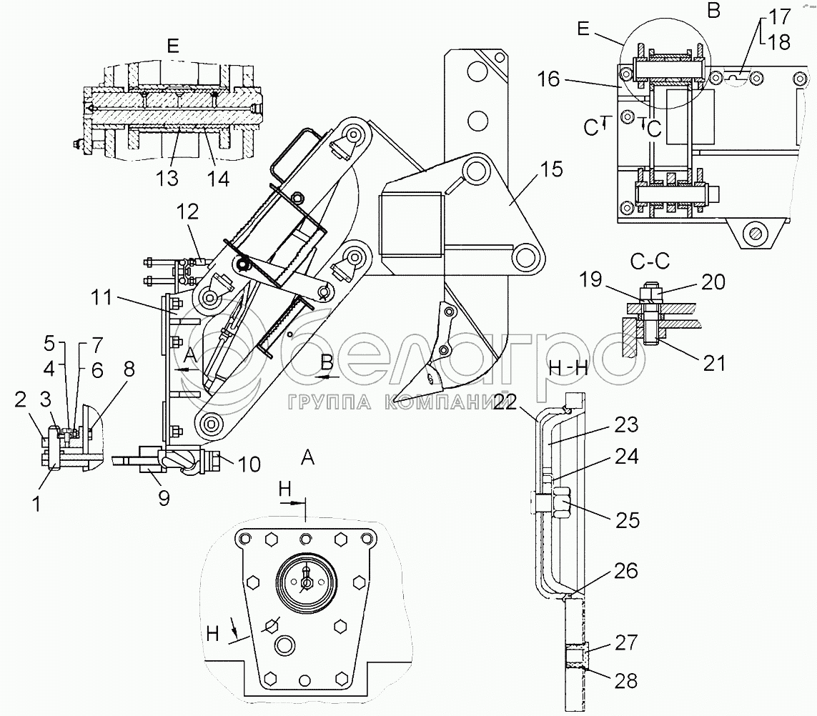
1
2
3
4
5
6
7
8
9
10
11
12
13
14
15
16
17
18
19
20
21
22
23
24
25
26
27
28
50-50-1-05СП
Оборудование рыхлительное 12Р
В узле: ---
50-50-4-05СП
Оборудование рыхлительное 12Н
В узле: ---
1
20445
Ось
В узле: ---
2
20444
Кронштейн передний
В узле: ---
3
20446
Планка
В узле: ---
4
БолтМ12х1,25х25.58.019
Болт
В узле: ---
5
700-31-2482
Шайба
В узле: ---
6
ГайкаМ24-7Н.6.019
Гайка М24-7Н.6.019
В узле: ---
7
Шайба24Т.65Г.09
Шайба 24Т.65Г.09
В узле: ---
8
БолтМ24-8gх75.88.45.019
Болт
В узле: ---
9
50-50-138СП
Серьга прицепная
В узле: ---
10
700-28-2496
Болт
В узле: ---
11
50-50-103СП
Рама опорная
В узле: ---
12
50-50-221СП
Установка трубопроводов
В узле: ---
13
50-50-385
Втулка распорная
В узле: ---
14
50-50-5-1
Втулка
В узле: ---
14
50-50-5
Втулка
В узле: ---
15
50-50-249-03СП
Оборудование рыхлительное
В узле: ---
15
50-50-247-04СП
Оборудование рыхлительное
В узле: ---
16
50-50-248-01СП
Рама опорная
В узле: ---
17
50-50-216
Прокладка
В узле: ---
18
50-50-217
Прокладка
В узле: ---
19
Шайба3065Г.09
Шайба 30 65Г.09
В узле: ---
20
30230
Гайка
В узле: ---
21
29338
Шпилька
В узле: ---
22
50-50-325СП
Зажим
В узле: ---
23
50-50-393
Корпус
В узле: ---
24
31536
Шайба стопорная
В узле: ---
25
3013
Гайка
В узле: ---
26
700-40-9544
Кольцо
В узле: ---
27
700-42-2427
Пробка
В узле: ---
28
018-022-25-2-5
Кольцо 018-022-25-2-5
В узле: ---
Содержащиеся в справочниках-каталогах запасные части и детали не предлагаются к продаже, а носят исключительно информационный характер

Ваша заявка была отправлена. В ближайшее время наши специалисты с Вами свяжутся по указанному Вами телефону.

Представьтесь
Поле обязательно для заполнения
Ваш телефон
Введите правильный номер телефона
E-mail
Введите правильный e-mail
Тема
Тема
применяемость финансирование доставка цена, наличие другое сервис и гарантия
Время для звонка
08:00
08:00 09:00 10:00 11:00 12:00 13:00 14:00 15:00 16:00 17:00 18:00 19:00
19:00
08:00 09:00 10:00 11:00 12:00 13:00 14:00 15:00 16:00 17:00 18:00 19:00

Мы постараемся перезвонить в указанное время

Если вы не хотите ждать, то звоните нашим вежливым консультантам:

8 800 100-2-700
Подтвердите, что вы не робот
Подтвердите, что вы не робот
Спасибо!

Ваше сообщение успешно отправлено!

ЗакрытьПовторить попытку